新浪财经

陕西煤业:2023年净利润同比下降39.67% 拟10派13.15元

中证网

关注

中证智能财讯 陕西煤业(601225)4月26日披露2023年年报。2023年,公司实现营业总收入1708.72亿元,同比增长2.41%;归母净利润212.39亿元,同比下降39.67%;扣非净利润246.80亿元,同比下降16.89%;经营活动产生的现金流量净额为385.98亿元,同比下降31.23%;报告期内,陕西煤业基本每股收益为2.19元,加权平均净资产收益率为20.73%。公司2023年年度利润分配预案为:拟向全体股东每10股派13.15元(含税)。

以4月25日收盘价计算,陕西煤业目前市盈率(TTM)约为11.51倍,市净率(LF)约为2.74倍,市销率(TTM)约为1.43倍。

公司近年市盈率(TTM)、市净率(LF)、市销率(TTM)历史分位图如下所示:

数据统计显示,陕西煤业近三年营业总收入复合增长率为21.51%,近三年净利润复合年增长率为13.02%。

分产品来看,2023年公司主营业务中,自产煤收入1036.12亿元,同比下降5.08%,占营业收入的60.64%;贸易煤收入614.04亿元,同比增长14.94%,占营业收入的35.94%;运输收入8.71亿元,同比下降1.30%,占营业收入的0.51%。

2023年,公司毛利率为37.86%,同比下降7.13个百分点;净利率为21.00%,较上年同期下降10.89个百分点。从单季度指标来看,2023年第四季度公司毛利率为39.58%,同比下降13.38个百分点,环比上升1.70个百分点;净利率为19.63%,较上年同期下降10.32个百分点,较上一季度下降1.73个百分点。

分产品看,自产煤、贸易煤、运输2023年毛利率分别为59.52%、1.29%、44.67%。

报告期内,公司前五大客户合计销售金额554.01亿元,占总销售金额比例为32.42%,公司前五名供应商合计采购金额473.21亿元,占年度采购总额比例为43.43%。

数据显示,2023年公司加权平均净资产收益率为20.73%,较上年同期下降12.57个百分点;公司2023年投入资本回报率为25.30%,较上年同期下降11.96个百分点。

2023年,公司经营活动现金流净额为385.98亿元,同比下降31.23%;筹资活动现金流净额-515.33亿元,同比减少210.29亿元;投资活动现金流净额-143.25亿元,上年同期为-340.17亿元。

进一步统计发现,2023年公司自由现金流为338.27亿元,相比上年同期下降31.90%。

2023年,公司营业收入现金比为111.53%,净现比为181.73%。

2023年,公司期间费用为90.01亿元,较上年同期增加8.75亿元;期间费用率为5.27%,较上年同期上升0.40个百分点。其中,销售费用同比增长0.62%,管理费用同比增长10.14%,研发费用同比增长26.91%,财务费用由去年同期的-4.09亿元变为-4.17亿元。

资产重大变化方面,截至2023年年末,公司货币资金较上年末减少54.18%,占公司总资产比重下降10.13个百分点;固定资产较上年末增加5.41%,占公司总资产比重上升7.50个百分点;其他非流动资产较上年末减少94.13%,占公司总资产比重下降3.64个百分点;长期股权投资较上年末增加32.88%,占公司总资产比重上升3.25个百分点。

负债重大变化方面,截至2023年年末,公司合同负债较上年末减少41.08%,占公司总资产比重下降2.01个百分点;预计负债较上年末增加14.85%,占公司总资产比重上升2.28个百分点;应交税费较上年末减少27.25%,占公司总资产比重下降0.56个百分点;长期借款较上年末减少30.41%,占公司总资产比重下降0.37个百分点。

从存货变动来看,截至2023年年末,公司存货账面价值为24.05亿元,占净资产的2.69%,较上年末减少2.73亿元。其中,存货跌价准备为4472.5万元,计提比例为1.83%。

2023年全年,公司研发投入金额为16.75亿元,同比增长56.71%;研发投入占营业收入比例为0.98%,相比上年同期上升0.34个百分点。此外,公司全年研发投入资本化率为56.18%。

在偿债能力方面,公司2023年年末资产负债率为36.01%,相比上年末上升0.68个百分点;有息资产负债率为2.45%,相比上年末下降0.63个百分点。

2023年,公司流动比率为1.22,速动比率为1.16。

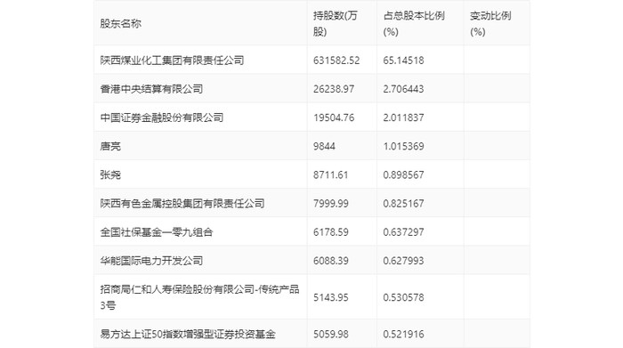
年报显示,2023年年末公司十大流通股东中,新进股东为易方达上证50指数增强型证券投资基金,取代了三季度末的刘晓燕。在具体持股比例上,陕西煤业化工集团有限责任公司、张尧、全国社保基金一零九组合持股有所上升,香港中央结算有限公司、唐亮、招商局仁和人寿保险股份有限公司-传统产品3号持股有所下降。

筹码集中度方面,截至2023年年末,公司股东总户数为5.91万户,较三季度末下降了1.08万户,降幅15.39%;户均持股市值由三季度末的256.12万元上升至342.54万元,增幅为33.74%。

指标注解:

市盈率

=总市值/净利润。当公司亏损时市盈率为负,此时用市盈率估值没有实际意义,往往用市净率或市销率做参考。

市净率

=总市值/净资产。市净率估值法多用于盈利波动较大而净资产相对稳定的公司。

市销率

=总市值/营业收入。市销率估值法通常用于亏损或微利的成长型公司。

文中市盈率和市销率采用TTM方式,即以截至最近一期财报(含预报)12个月的数据计算。市净率采用LF方式,即以最近一期财报数据计算。

市盈率为负时,不显示当期分位数,会导致折线图中断。

加载中...