新浪财经

破天荒!香港6只虚拟资产现货ETF获批!月底上市!怎么投资?

市场资讯 2024.04.25 18:50

转自:活报告

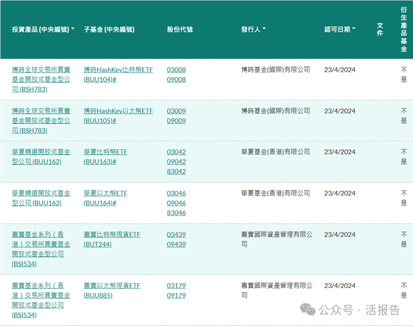
见证历史了!4月24日,香港证监会(SFC)正式公示虚拟资产现货ETF获批名单,华夏香港、嘉实国际、博时国际旗下相关产品赫然在列,预计将于4月29日发行4月30日香港交易所正式上市交易

这是亚洲市场上首次推出此类产品,其中,以太币现货ETF产品更是全球首批。这意味着香港虚拟资产投资迎来历史性时刻,也标志着香港在建立国际虚拟资产金融中心一事上取得了全球领先地位。

值得注意的是,香港虚拟资产现货ETF采用了全球首创的实物申赎机制,为零售和机构投资者提供了一个安全、高效且便捷的配置数字资产的优秀工具。不过,据了解目前的获批ETF产品不支持内地身份投资者购买

一、三家基金的6只虚拟资产现货ETF正式获批!

4月24日晚,香港证监会官网正式发布虚拟币现货ETF获批名单,华夏香港、嘉实国际、博时国际申请的首批香港比特币和以太坊现货ETF产品在列。

同一时间,三家基金也各自发布了相关信息。

嘉实国际行政总裁兼首席投资官韩同利认为,这不仅反映了香港作为国际金融中心的制度优势,也显示了该地区在金融科技创新方面的前瞻性。

嘉实国际表示,这不仅标志着亚洲首批比特币现货ETF和以太币现货ETF的推出,更代表了以比特币和以太币申赎模式的两大蓝筹加密货币的创新实现,为全球投资者提供了符合监管、透明且高效的投资新途径,开启了数字资产与传统金融系统融合的新篇章。

博时国际表示,虚拟资产现货ETF的发行,不仅为投资者提供了新的资产配置选择,也将进一步巩固香港作为国际金融中心和虚拟资产枢纽的地位。“这展现了香港对于新兴金融领域的开放态度和创新精神,为其他国家和地区的虚拟资产监管提供了宝贵的经验。”

博时国际的合作方HashKey Capital表示:“香港监管机构此次批准虚拟资产现货ETF的上市,为传统机构架起了配置虚拟资产的桥梁,极大拓宽了主流投资者、零售投资者对虚拟资产的接触面。”

华夏基金(香港)数字资产管理及家族财富管理负责人朱皓康称,“亚洲现货比特币和以太币ETF的发行,为零售和机构投资者提供了一个安全、高效且便捷的配置数字资产的优秀工具。”

二、怎么投资、费用怎么收?

香港的数字资产现货ETF相较于实物加密货币,具有受监管机构认可、在传统交易所上市、由专业基金公司管理、合作的加密货币交易所受监管等特点,以及全球首创的实物申赎机制,为零售和机构投资者提供了一个安全、高效且便捷的配置数字资产的优秀工具。

据悉,上述相关产品旨在提供紧贴比特币和以太币现货价格的投资回报(扣除费用及开支前),均可采用现金或实物(持币)认购,但需要在香港开通相关账户方可进行操作。

以博时为例,申购时投资者首先需要具有券商户头,在T日通过券商提交“份额创建指令”,并同时存入现金/持币到账户中,等待香港中央计算所(HKSCC)创建ETF份额,T+2天即能收到ETF份额。

在赎回时,投资者科选择在一级/二级市场卖出,若是在一级市场赎回,需要在T日通过券商提交“份额赎回指令”,在HKSCC撤销ETF份额后,现金赎回是T+3日收到,实物赎回是T+0日即刻收到。

从三家基金公司同步披露的产品信息看,发行人在产品费率、ETF做市商和虚拟资产平台等方面有所差异,彭博行业研究ETF分析师Rebecca Sin认为,未来的竞争或许会十分激烈。

据了解,目前嘉实国际旗下产品收取0.3%管理费,持有6个月内减免管理费,这可能是香港近年来首次豁免ETF费用,试图在前期用价格优势抢占先机。

博时国际旗下产品收取0.6%管理费,发行后4个月内减免管理费;此外,博时的两只产品代码3008.HK和3009.HK十分易记,在这一点上占据了无形优势。

华夏香港旗下产品的管理费则达到了0.99%,其或有意复制南方东英的制胜分销策略,以更高管理费来支付分销商的返利费用,加强分销渠道的积极性。

三、如何打新套利,有何风险?

ETF上市分为IOP(首次发行阶段)场外认购和上市后认购交易,打新即是在上市前的IOP期间认购,上市当天即可在二级市场卖出,类似于港股的IPO打新。

目前可以通过打新方式认购香港比特币ETF的券商(PD/分销商)只有少数几家有虚拟资产零售牌照的香港券商,而在ETF正式登录港交所后,所有几百家香港券商和银行均可购买。

获批的虚拟资产ETF采用跟随芝商所CF比特币指数(亚太收市价)表现的方式,因此现金认购比特币ETF的盈亏风险与直接购买比特币风险基本一致

而由于比特币和比特币ETF之间是固定兑换比例,若是在IOP阶段使用实物认购,即以比特币认购比特币ETF,相关ETF在上市后如果出现溢价而后卖出,则可在港交所场内换成港币,再同时买回比特币即可赚取场内场外差价

因IOP阶段可参与券商较少,资金体量较小,而上市后能购买的券商多,资金量大,中间或许会导致场内和场外间存在溢价,形成套利机会。但需要注意,由于数字货币的价格波动较大,也可能产生类似于IPO首日破发的风险。

不过,投资者采用实物申购、实物赎回方式也可以避免损失。例如,投资者以100比特币认购后,即便港交所场内出现折价,实物赎回的仍是100个比特币。

    加载中...