成都银行:2023年净利润同比增长16.22% 拟10派8.968元
东方财富官微
成都银行(601838)4月25日披露2023年年报。2023年,公司实现营业总收入217.02亿元,同比增长7.22%;归母净利润116.71亿元,同比增长16.22%;扣非净利润114.67亿元,同比增长15.02%;经营活动产生的现金流量净额为-237.54亿元,上年同期为96.92亿元;报告期内,成都银行基本每股收益为3.01元,加权平均净资产收益率为18.78%。公司2023年年度利润分配预案为:拟向全体股东每10股派8.968元(含税)。
以4月24日收盘价计算,成都银行目前市盈率(TTM)约为4.65倍,市净率(LF)约为0.76倍,市销率(TTM)约为2.5倍。
公司近年市盈率(TTM)、市净率(LF)、市销率(TTM)历史分位图如下所示:
数据统计显示,成都银行近三年营业总收入复合增长率为14.13%,在城商行Ⅲ行业已披露2023年数据的7家公司中排名第2。近三年净利润复合年增长率为24.66%,排名2/7。
资料显示,公司主营业务:公司金融业务、小微金融业务、个人金融业务、金融市场业务、资产管理业务、国际业务、电子银行业务等。
分产品来看,2023年公司主营业务中,利息净收入收入176.54亿元,同比增长6.87%,占营业收入的81.34%;投资收益收入31.74亿元,同比增长23.48%,占营业收入的14.63%;手续费及佣金净收入收入6.62亿元,同比下降2.25%,占营业收入的3.05%。
数据显示,2023年公司加权平均净资产收益率为18.78%,较上年同期下降0.7个百分点。
2023年,公司经营活动现金流净额为-237.54亿元,同比减少334.46亿元;筹资活动现金流净额-43.00亿元,同比减少464.15亿元;投资活动现金流净额-81.25亿元,上年同期为-227.32亿元。
资产重大变化方面,截至2023年年末,公司发放贷款和垫款较上年末增加28.89%,占公司总资产比重上升4.28个百分点;债权投资合计较上年末减少2.33%,占公司总资产比重下降3.93个百分点;其他债权投资合计较上年末增加56.05%,占公司总资产比重上升1.52个百分点;买入返售金融资产较上年末减少93.19%,占公司总资产比重下降0.86个百分点。
负债重大变化方面,截至2023年年末,公司吸收存款及同业存款较上年末增加19.88%,占公司总资产比重上升0.58个百分点;向中央银行借款较上年末增加101.39%,占公司总资产比重上升2.07个百分点;拆入资金较上年末增加202.84%,占公司总资产比重上升0.34个百分点;应付债券较上年末增加1.51%,占公司总资产比重下降2.21个百分点。
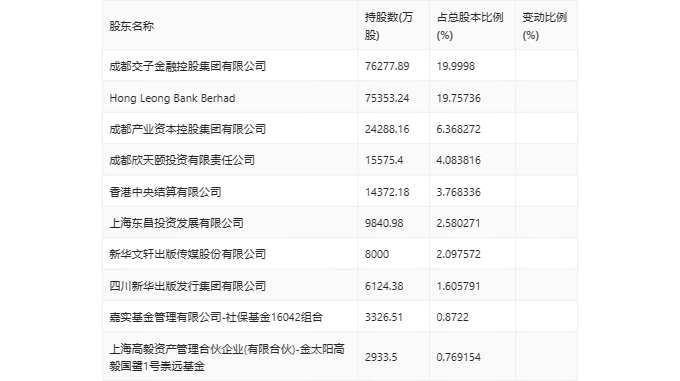
年报显示,2023年年末公司十大流通股东中,新进股东为上海高毅资产管理合伙企业(有限合伙)-金太阳高毅国鹭1号崇远基金,取代了三季度末的四川汇通建设工程有限公司、四川汉龙高新技术开发有限公司。在具体持股比例上,四川新华出版发行集团有限公司持股有所上升,成都交子金融控股集团有限公司、HongLeongBankBerhad、成都产业资本控股集团有限公司、成都欣天颐投资有限责任公司、香港中央结算有限公司、新华文轩出版传媒股份有限公司持股有所下降。
筹码集中度方面,截至2023年年末,公司股东总户数为5.8万户,较三季度末增长了1.47万户,增幅34.09%;户均持股市值由三季度末的121.37万元下降至74.07万元,降幅为38.97%。
指标注解:
市盈率
=总市值/净利润。当公司亏损时市盈率为负,此时用市盈率估值没有实际意义,往往用市净率或市销率做参考。
市净率
=总市值/净资产。市净率估值法多用于盈利波动较大而净资产相对稳定的公司。
市销率
=总市值/营业收入。市销率估值法通常用于亏损或微利的成长型公司。
文中市盈率和市销率采用TTM方式,即以截至最近一期财报(含预报)12个月的数据计算。市净率采用LF方式,即以最近一期财报数据计算。
市盈率为负时,不显示当期分位数,会导致折线图中断。
(文章来源:中国证券报·中证网)