新浪财经

申通快递:2023年净利润同比增长18.41% 拟10派0.2元

中证网

关注

中证智能财讯 申通快递(002468)4月25日披露2023年年报。2023年,公司实现营业总收入409.24亿元,同比增长21.54%;归母净利润3.41亿元,同比增长18.41%;扣非净利润3.39亿元,同比增长9.86%;经营活动产生的现金流量净额为33.58亿元,同比增长29.14%;报告期内,申通快递基本每股收益为0.23元,加权平均净资产收益率为4.03%。公司2023年年度利润分配预案为:拟向全体股东每10股派0.2元(含税)。

以4月24日收盘价计算,申通快递目前市盈率(TTM)约为37.7倍,市净率(LF)约为1.46倍,市销率(TTM)约为0.31倍。

公司近年市盈率(TTM)、市净率(LF)、市销率(TTM)历史分位图如下所示:

数据统计显示,申通快递近三年营业总收入复合增长率为23.80%,在物流行业已披露2023年数据的30家公司中排名第4。近三年净利润复合年增长率为110.88%,排名1/30。

分产品来看,2023年公司主营业务中,有偿派送收入231.66亿元,同比增长13.71%,占营业收入的56.61%;中转收入收入140.28亿元,同比增长46.73%,占营业收入的34.28%;信息服务收入19.04亿元,同比下降27.98%,占营业收入的4.65%。

2023年,公司毛利率为4.18%,同比下降0.20个百分点;净利率为0.81%,较上年同期持平。从单季度指标来看,2023年第四季度公司毛利率为4.56%,同比下降0.55个百分点,环比上升1.49个百分点;净利率为1.01%,较上年同期上升0.23个百分点,较上一季度上升1.00个百分点。

报告期内,公司前五大客户合计销售金额65.73亿元,占总销售金额比例为16.06%,公司前五名供应商合计采购金额34.70亿元,占年度采购总额比例为8.33%。

数据显示,2023年公司加权平均净资产收益率为4.03%,较上年同期增长0.43个百分点;公司2023年投入资本回报率为2.43%,较上年同期增长0.09个百分点。

2023年,公司经营活动现金流净额为33.58亿元,同比增长29.14%;筹资活动现金流净额2.62亿元,同比增加20.50亿元;投资活动现金流净额-29.40亿元,上年同期为-7.96亿元。

进一步统计发现,2023年公司自由现金流为-5.26亿元,上年同期为13.45亿元。

2023年,公司营业收入现金比为109.55%,净现比为985.69%。

营运能力方面,2023年,公司公司总资产周转率为1.90次,上年同期为1.72次(2022年行业平均值为1.25次,公司位居同行业16/46);固定资产周转率为4.88次,上年同期为5.17次(2022年行业平均值为15.55次,公司位居同行业32/46);公司应收账款周转率、存货周转率分别为46.06次、596.96次。

2023年,公司期间费用为13.17亿元,较上年同期增加1.38亿元;但期间费用率为3.22%,较上年同期下降0.28个百分点。其中,销售费用同比下降5.53%,管理费用同比增长16.87%,研发费用同比增长34.83%,财务费用同比下降5.73%。

资产重大变化方面,截至2023年年末,公司固定资产较上年末增加28.06%,占公司总资产比重上升5.23个百分点;在建工程较上年末减少81.83%,占公司总资产比重下降5.13个百分点;使用权资产较上年末减少2.81%,占公司总资产比重下降1.76个百分点;交易性金融资产较上年末增加636.89%,占公司总资产比重上升1.61个百分点。

负债重大变化方面,截至2023年年末,公司短期借款较上年末增加57.07%,占公司总资产比重上升3.79个百分点;一年内到期的非流动负债较上年末减少57.71%,占公司总资产比重下降5.03个百分点;长期借款较上年末增加105.10%,占公司总资产比重上升2.99个百分点;其他应付款(含利息和股利)较上年末增加41.62%,占公司总资产比重上升0.77个百分点。

2023年全年,公司研发投入金额为2.74亿元,同比增长47.63%;研发投入占营业收入比例为0.67%,相比上年同期上升0.12个百分点。此外,公司全年研发投入资本化率为38.99%。

在偿债能力方面,公司2023年年末资产负债率为61.24%,相比上年末上升1.61个百分点;有息资产负债率为22.81%,相比上年末上升1.75个百分点。

2023年,公司流动比率为0.62,速动比率为0.61。

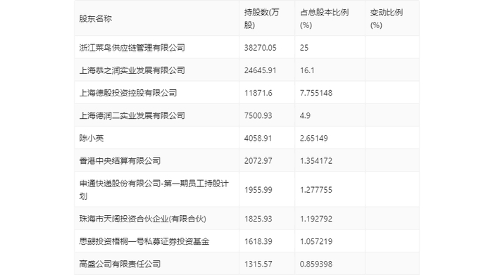
年报显示,2023年年末公司十大流通股东中,新进股东为高盛公司有限责任公司,取代了三季度末的上海高毅资产管理合伙企业(有限合伙)-高毅邻山1号远望基金。在具体持股比例上,香港中央结算有限公司持股有所下降。

值得注意的是,根据年报数据,申通快递22.19%股份处于质押状态。其中,第二大股东上海恭之润实业发展有限公司质押2.46亿股公司股份,占其全部持股的100.00%。

筹码集中度方面,截至2023年年末,公司股东总户数为4.99万户,较三季度末增长了6776户,增幅15.72%;户均持股市值由三季度末的37.30万元下降至23.91万元,降幅为35.90%。

指标注解:

市盈率

=总市值/净利润。当公司亏损时市盈率为负,此时用市盈率估值没有实际意义,往往用市净率或市销率做参考。

市净率

=总市值/净资产。市净率估值法多用于盈利波动较大而净资产相对稳定的公司。

市销率

=总市值/营业收入。市销率估值法通常用于亏损或微利的成长型公司。

文中市盈率和市销率采用TTM方式,即以截至最近一期财报(含预报)12个月的数据计算。市净率采用LF方式,即以最近一期财报数据计算。

市盈率为负时,不显示当期分位数,会导致折线图中断。

加载中...