新浪财经

斯莱克:2023年净利润同比下降42.87% 拟10派1元

中证网

关注

中证智能财讯 斯莱克(300382)4月25日披露2023年年报。2023年,公司实现营业总收入16.51亿元,同比下降4.61%;归母净利润1.29亿元,同比下降42.87%;扣非净利润1.18亿元,同比下降46.78%;经营活动产生的现金流量净额为-923.41万元,上年同期为-5350.55万元;报告期内,斯莱克基本每股收益为0.21元,加权平均净资产收益率为5.57%。公司2023年年度利润分配预案为:拟向全体股东每10股派1元(含税)。

以4月24日收盘价计算,斯莱克目前市盈率(TTM)约为34.28倍,市净率(LF)约为1.95倍,市销率(TTM)约为2.68倍。

公司近年市盈率(TTM)、市净率(LF)、市销率(TTM)历史分位图如下所示:

数据统计显示,斯莱克近三年营业总收入复合增长率为23.21%,在其他专用设备行业已披露2023年数据的49家公司中排名第9。近三年净利润复合年增长率为26.37%,排名9/49。

分产品来看,2023年公司主营业务中,电池壳业务收入6.61亿元,同比增长169.97%,占营业收入的40.00%;易拉罐高速生产设备及系统改造收入6.12亿元,同比下降26.83%,占营业收入的37.08%;易拉盖高速生产设备及系统改造收入0.91亿元,同比下降72.85%,占营业收入的5.50%。

截至2023年末,公司员工总数为1820人,人均创收90.74万元,人均创利7.09万元,人均薪酬18.11万元,较上年同期分别变化-12.42%、-47.55%、21.43%。

2023年,公司毛利率为27.35%,同比下降6.31个百分点;净利率为5.75%,较上年同期下降6.47个百分点。从单季度指标来看,2023年第四季度公司毛利率为26.06%,同比下降13.18个百分点,环比上升0.74个百分点;净利率为1.75%,较上年同期下降4.87个百分点,较上一季度下降5.85个百分点。

分产品看,电池壳业务、易拉罐高速生产设备及系统改造、易拉盖高速生产设备及系统改造2023年毛利率分别为2.98%、42.50%、48.08%。

报告期内,公司前五大客户合计销售金额8.80亿元,占总销售金额比例为53.29%,公司前五名供应商合计采购金额4.40亿元,占年度采购总额比例为34.42%。

数据显示,2023年公司加权平均净资产收益率为5.57%,较上年同期下降7.44个百分点;公司2023年投入资本回报率为3.39%,较上年同期下降5.19个百分点。

2023年,公司经营活动现金流净额为-923.41万元,同比增加4427.15万元;筹资活动现金流净额1.58亿元,同比减少9.98亿元;投资活动现金流净额-2.73亿元,上年同期为-9.19亿元。

进一步统计发现,2023年公司自由现金流为-2.89亿元,上年同期为-9.77亿元。

2023年,公司营业收入现金比为95.80%,净现比为-7.15%。

营运能力方面,2023年,公司公司总资产周转率为0.39次,上年同期为0.51次(2022年行业平均值为0.51次,公司位居同行业44/87);固定资产周转率为2.30次,上年同期为3.83次(2022年行业平均值为4.01次,公司位居同行业43/87);公司应收账款周转率、存货周转率分别为2.32次、1.62次。

2023年,公司期间费用为2.98亿元,较上年同期增加5193.73万元;期间费用率为18.04%,较上年同期上升3.83个百分点。其中,销售费用同比下降3.89%,管理费用同比增长14.98%,研发费用同比增长14.85%,财务费用同比增长187.43%。

资产重大变化方面,截至2023年年末,公司固定资产较上年末增加67.20%,占公司总资产比重上升7.45个百分点;货币资金较上年末减少23.32%,占公司总资产比重下降3.35个百分点;在建工程较上年末减少10.08%,占公司总资产比重下降2.26个百分点;交易性金融资产较上年末减少14.71%,占公司总资产比重下降2.16个百分点。

负债重大变化方面,截至2023年年末,公司长期借款较上年末增加85.16%,占公司总资产比重上升7.36个百分点;一年内到期的非流动负债较上年末增加1062.58%,占公司总资产比重上升3.91个百分点;合同负债较上年末减少48.70%,占公司总资产比重下降1.85个百分点;短期借款较上年末减少8.92%,占公司总资产比重下降1.23个百分点。

从存货变动来看,截至2023年年末,公司存货账面价值为7.94亿元,占净资产的34.99%,较上年末增加1.03亿元。其中,存货跌价准备为9759.53万元,计提比例为10.95%。

2023年全年,公司研发投入金额为7001.82万元,同比增长14.85%;研发投入占营业收入比例为4.24%,相比上年同期上升0.72个百分点。此外,公司全年研发投入资本化率为0。

在偿债能力方面,公司2023年年末资产负债率为47.27%,相比上年末上升7.37个百分点;有息资产负债率为34.28%,相比上年末上升9.98个百分点。

2023年,公司流动比率为2.69,速动比率为1.84。

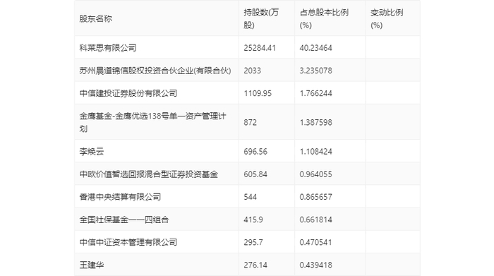
年报显示,2023年年末公司十大流通股东中,新进股东为中信建投证券股份有限公司,取代了三季度末的苏州斯莱克精密设备股份有限公司-第五期员工持股计划。在具体持股比例上,李焕云、香港中央结算有限公司、王建华持股有所上升,科莱思有限公司、苏州晨道锦信股权投资合伙企业(有限合伙)、金鹰基金-金鹰优选138号单一资产管理计划、中欧价值智选回报混合型证券投资基金、全国社保基金一一四组合、中信中证资本管理有限公司持股有所下降。

值得注意的是,根据年报数据,斯莱克19.81%股份处于质押状态。其中,第一大股东科莱思有限公司质押1.25亿股公司股份,占其全部持股的49.24%。

筹码集中度方面,截至2023年年末,公司股东总户数为2.3万户,较三季度末下降了380户,降幅1.62%;户均持股市值由三季度末的28.44万元下降至27.11万元,降幅为4.68%。

指标注解:

市盈率

=总市值/净利润。当公司亏损时市盈率为负,此时用市盈率估值没有实际意义,往往用市净率或市销率做参考。

市净率

=总市值/净资产。市净率估值法多用于盈利波动较大而净资产相对稳定的公司。

市销率

=总市值/营业收入。市销率估值法通常用于亏损或微利的成长型公司。

文中市盈率和市销率采用TTM方式,即以截至最近一期财报(含预报)12个月的数据计算。市净率采用LF方式,即以最近一期财报数据计算。

市盈率为负时,不显示当期分位数,会导致折线图中断。

加载中...