德业股份:2024年第一季度净利润4.33亿元 同比下降26.48%
中证网
中证智能财讯 德业股份(605117)4月25日披露2024年一季报。2024年第一季度,公司实现营业总收入18.84亿元,同比下降9.64%;归母净利润4.33亿元,同比下降26.48%;扣非净利润4.25亿元,同比下降19.04%;经营活动产生的现金流量净额为1.30亿元,同比下降82.48%;报告期内,德业股份基本每股收益为1.01元,加权平均净资产收益率为7.90%。
2024年第一季度,公司毛利率为36.33%,同比下降6.72个百分点;净利率为22.98%,较上年同期下降5.26个百分点。
数据显示,2024年第一季度公司加权平均净资产收益率为7.90%,较上年同期下降5.53个百分点;公司2024年第一季度投入资本回报率为4.65%,较上年同期下降4.39个百分点。
2024年第一季度,公司经营活动现金流净额为1.30亿元,同比下降82.48%;筹资活动现金流净额4475.71万元,同比减少7.33亿元;投资活动现金流净额11.46亿元,上年同期为-2.11亿元。
2024年第一季度,公司营业收入现金比为80.60%,净现比为30.14%。
资产重大变化方面,截至2024年一季度末,公司货币资金较上年末增加44.38%,占公司总资产比重上升10.16个百分点;交易性金融资产较上年末减少43.34%,占公司总资产比重下降7.94个百分点;其他流动资产较上年末减少44.38%,占公司总资产比重下降6.70个百分点;预付款项较上年末增加1109.91%,占公司总资产比重上升1.73个百分点。
负债重大变化方面,截至2024年一季度末,公司长期借款较上年末增加187.07%,占公司总资产比重上升4.78个百分点;短期借款较上年末减少13.79%,占公司总资产比重下降4.09个百分点;一年内到期的非流动负债较上年末减少59.00%,占公司总资产比重下降2.80个百分点;应付账款较上年末增加27.48%,占公司总资产比重上升1.61个百分点。
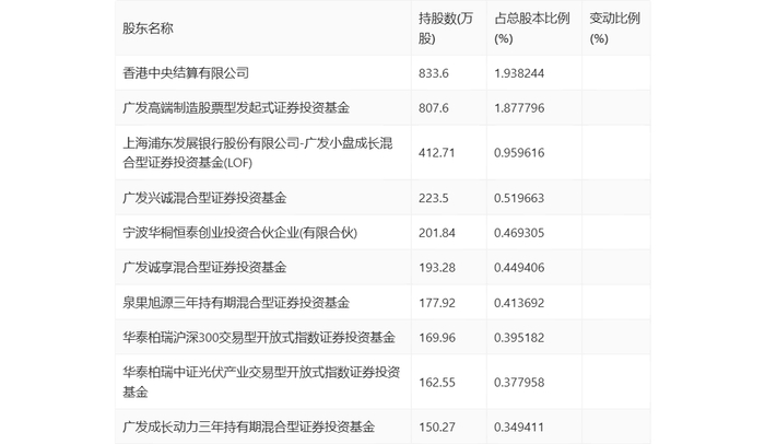
一季报显示,2024年一季度末公司十大流通股东中,新进股东为华泰柏瑞沪深300交易型开放式指数证券投资基金、广发成长动力三年持有期混合型证券投资基金,取代了上年末的银华基金-中国人寿保险股份有限公司-传统险-银华基金国寿股份成长股票传统可供出售单一资产管理计划、睿扬新兴成长私募证券投资基金。在具体持股比例上,香港中央结算有限公司、泉果旭源三年持有期混合型证券投资基金、华泰柏瑞中证光伏产业交易型开放式指数证券投资基金持股有所上升,广发高端制造股票型发起式证券投资基金、广发兴诚混合型证券投资基金持股有所下降。
筹码集中度方面,截至2024年一季度末,公司股东总户数为4.52万户,较上年末下降了1.01万户,降幅18.33%;户均持股市值由上年末的65.18万元上升至85.63万元,增幅为31.37%。