新浪财经

宝武镁业:2023年净利润3.06亿元 同比下降49.82%

东方财富官微

关注

中证智能财讯宝武镁业(002182)4月25日披露2023年年报。2023年,公司实现营业总收入76.52亿元,同比下降15.96%;归母净利润3.06亿元,同比下降49.82%;扣非净利润3.03亿元,同比下降47.15%;经营活动产生的现金流量净额为3.50亿元,同比下降73.92%;报告期内,宝武镁业基本每股收益为0.4594元,加权平均净资产收益率为6.95%。

以4月24日收盘价计算,宝武镁业目前市盈率(TTM)约为40.43倍,市净率(LF)约为2.35倍,市销率(TTM)约为1.62倍。

公司近年市盈率(TTM)、市净率(LF)、市销率(TTM)历史分位图如下所示:

数据统计显示,宝武镁业近三年营业总收入复合增长率为8.77%,在其他小金属行业已披露2023年数据的10家公司中排名第6。近三年净利润复合年增长率为7.93%,排名8/10。

年报称,公司是集矿业开采、有色金属材料和深加工产品为一体的高新技术企业,主营业务为镁、铝合金材料的生产及深加工业务,主要产品包括镁合金、镁合金深加工产品、铝合金、铝合金深加工产品、中间合金和金属锶等。

分产品来看,2023年公司主营业务中,镁合金产品收入25.28亿元,同比下降23.58%,占营业收入的33.04%;铝合金深加工产品收入18.33亿元,同比增长31.86%,占营业收入的23.95%;镁合金深加工产品收入10.55亿元,同比下降0.99%,占营业收入的13.79%。

截至2023年末,公司员工总数为4294人,人均创收178.20万元,人均创利7.14万元,人均薪酬13.23万元,较上年同期分别下降23.90%、54.57%、3.48%。

2023年,公司毛利率为13.44%,同比下降2.65个百分点;净利率为4.66%,较上年同期下降2.84个百分点。从单季度指标来看,2023年第四季度公司毛利率为14.59%,同比上升6.17个百分点,环比下降0.67个百分点;净利率为5.46%,较上年同期上升2.95个百分点,较上一季度上升0.37个百分点。

分产品看,镁合金产品、铝合金深加工产品、镁合金深加工产品2023年毛利率分别为18.08%、10.27%、12.37%。

报告期内,公司前五大客户合计销售金额8.67亿元,占总销售金额比例为11.34%,公司前五名供应商合计采购金额24.39亿元,占年度采购总额比例为42.00%。

数据显示,2023年公司加权平均净资产收益率为6.95%,较上年同期下降9.79个百分点;公司2023年投入资本回报率为5.14%,较上年同期下降6.22个百分点。

2023年,公司经营活动现金流净额为3.50亿元,同比下降73.92%;筹资活动现金流净额21.67亿元,同比增加16.71亿元;投资活动现金流净额-23.99亿元,上年同期为-18.02亿元。

进一步统计发现,2023年公司自由现金流为-15.83亿元,上年同期为2.21亿元。

2023年,公司营业收入现金比为91.90%,净现比为114.21%。

营运能力方面,2023年,公司公司总资产周转率为0.74次,上年同期为1.11次(2022年行业平均值为0.68次,公司位居同行业4/13);固定资产周转率为2.48次,上年同期为4.16次(2022年行业平均值为2.92次,公司位居同行业4/13);公司应收账款周转率、存货周转率分别为4.78次、5.08次。

2023年,公司期间费用为6.43亿元,同比增长577.1万元;期间费用率为8.41%,同比增长1.41个百分点。其中,销售费用同比下降6.15%,管理费用同比增长20.86%,研发费用同比下降11.14%,财务费用同比增长28.92%。

资产重大变化方面,截至2023年年末,公司在建工程较上年末增加172.82%,占公司总资产比重上升7.42个百分点;存货较上年末减少6.70%,占公司总资产比重下降3.96个百分点;长期股权投资较上年末增加61.55%,占公司总资产比重上升2.33个百分点;应收账款较上年末增加12.27%,占公司总资产比重下降1.94个百分点。

负债重大变化方面,截至2023年年末,公司长期借款较上年末增加926.03%,占公司总资产比重上升8.59个百分点;一年内到期的非流动负债较上年末增加121.38%,占公司总资产比重上升2.70个百分点;应付票据较上年末减少87.03%,占公司总资产比重下降2.68个百分点;短期借款较上年末减少7.79%,占公司总资产比重下降7.52个百分点。

从存货变动来看,截至2023年年末,公司存货账面价值为12.58亿元,占净资产的23.87%,较上年末减少9037.74万元。其中,存货跌价准备为2471.24万元,计提比例为1.93%。

2023年全年,公司研发投入金额为3.52亿元,同比下降11.14%;研发投入占营业收入比例为4.61%,相比上年同期上升0.25个百分点。此外,公司全年研发投入资本化率为0。

在偿债能力方面,公司2023年年末资产负债率为47.40%,相比上年末下降1.66个百分点;有息资产负债率为36.03%,相比上年末上升3.77个百分点。

2023年,公司流动比率为1.01,速动比率为0.70。

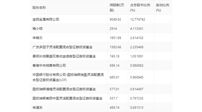
年报显示,2023年年末公司十大流通股东中,新进股东为广发多因子灵活配置混合型证券投资基金、中国银行股份有限公司-国投瑞银瑞盈灵活配置混合型证券投资基金(LOF),取代了三季度末的中国工商银行股份有限公司-兴全绿色投资混合型证券投资基金(LOF)、景顺长城景颐招利6个月持有期债券型证券投资基金。在具体持股比例上,羊稚文、香港中央结算有限公司、国投瑞银境煊灵活配置混合型证券投资基金、国投瑞银美丽中国灵活配置混合型证券投资基金、肖道志持股有所上升,景顺长城景盛双息收益债券型证券投资基金持股有所下降。

筹码集中度方面,截至2023年年末,公司股东总户数为4.04万户,较三季度末下降了1805户,降幅4.28%;户均持股市值由三季度末的33.19万元上升至34.46万元,增幅为3.83%。

指标注解:

市盈率

=总市值/净利润。当公司亏损时市盈率为负,此时用市盈率估值没有实际意义,往往用市净率或市销率做参考。

市净率

=总市值/净资产。市净率估值法多用于盈利波动较大而净资产相对稳定的公司。

市销率

=总市值/营业收入。市销率估值法通常用于亏损或微利的成长型公司。

文中市盈率和市销率采用TTM方式,即以截至最近一期财报(含预报)12个月的数据计算。市净率采用LF方式,即以最近一期财报数据计算。

市盈率为负时,不显示当期分位数,会导致折线图中断。

(文章来源:中国证券报·中证网)

加载中...