海格通信:2024年第一季度净利润4250.72万元 同比增长0.58%
中证网
中证智能财讯 海格通信(002465)4月24日披露2024年一季报。2024年第一季度,公司实现营业总收入11.44亿元,同比增长10.67%;归母净利润4250.72万元,同比增长0.58%;扣非净利润2351.52万元,同比增长86.67%;经营活动产生的现金流量净额为-5.23亿元,上年同期为-4.65亿元;报告期内,海格通信基本每股收益为0.02元,加权平均净资产收益率为0.33%。
2024年第一季度,公司毛利率为31.91%,同比下降0.14个百分点;净利率为4.62%,较上年同期上升0.51个百分点。
数据显示,2024年第一季度公司加权平均净资产收益率为0.33%,较上年同期下降0.07个百分点;公司2024年第一季度投入资本回报率为0.30%,较上年同期增长0.01个百分点。
2024年第一季度,公司经营活动现金流净额为-5.23亿元,同比减少5779.78万元;筹资活动现金流净额4.88亿元,同比增加3.74亿元,主要系本期新增短期借款同比增加所致;投资活动现金流净额-5.98亿元,上年同期为-3.97亿元,主要系本期购买理财产品净额同比增加以及工程项目建设投入同比增加所致。
2024年第一季度,公司营业收入现金比为108.48%,净现比为-1229.56%。
资产重大变化方面,截至2024年一季度末,公司货币资金较上年末减少14.22%,占公司总资产比重下降3.21个百分点;交易性金融资产较上年末增加143.40%,占公司总资产比重上升2.02个百分点;应收账款较上年末增加2.27%,占公司总资产比重上升0.81个百分点;存货较上年末减少6.45%,占公司总资产比重下降0.49个百分点。
负债重大变化方面,截至2024年一季度末,公司应付账款较上年末减少19.04%,占公司总资产比重下降3.04个百分点;短期借款较上年末增加40.42%,占公司总资产比重上升2.67个百分点;应交税费较上年末减少57.52%,占公司总资产比重下降0.35个百分点;其他流动负债较上年末增加41.17%,占公司总资产比重上升0.28个百分点。
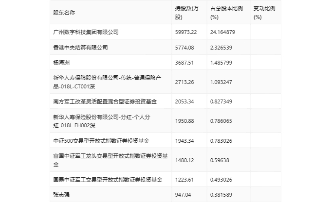
一季报显示,2024年一季度末公司十大流通股东中,新进股东为南方军工改革灵活配置混合型证券投资基金、中证500交易型开放式指数证券投资基金、张志强,取代了上年末的兴全合润混合型证券投资基金、华润深国投信托有限公司-华润信托·淡水泉平衡5期集合资金信托计划、中国工商银行股份有限公司-兴全绿色投资混合型证券投资基金(LOF)。在具体持股比例上,香港中央结算有限公司持股有所上升,新华人寿保险股份有限公司-传统-普通保险产品-018L-CT001深、富国中证军工龙头交易型开放式指数证券投资基金、国泰中证军工交易型开放式指数证券投资基金持股有所下降。
筹码集中度方面,截至2024年一季度末,公司股东总户数为10.12万户,较上年末增长了5203户,增幅5.42%;户均持股市值由上年末的33.22万元下降至27.35万元,降幅为17.67%。