新浪财经

维海德:2024年第一季度净利润2192.79万元 同比增长9.38%

东方财富官微

关注

中证智能财讯维海德(301318)4月24日披露2024年一季报。2024年第一季度,公司实现营业总收入1.16亿元,同比增长15.12%;归母净利润2192.79万元,同比增长9.38%;扣非净利润1787.73万元,同比增长30.41%;经营活动产生的现金流量净额为843.77万元,同比增长442.95%;报告期内,维海德基本每股收益为0.24元,加权平均净资产收益率为1.25%。

2024年第一季度,公司毛利率为47.24%,同比上升3.07个百分点;净利率为18.86%,较上年同期下降0.99个百分点。

数据显示,2024年第一季度公司加权平均净资产收益率为1.25%,较上年同期增长0.07个百分点;公司2024年第一季度投入资本回报率为0.86%,较上年同期下降0.22个百分点。

2024年第一季度,公司经营活动现金流净额为843.77万元,同比增长442.95%;筹资活动现金流净额-2159.98万元,同比减少1805.94万元;投资活动现金流净额5567.46万元,上年同期为1174.27万元。

2024年第一季度,公司营业收入现金比为126.36%,净现比为38.48%。

资产重大变化方面,截至2024年一季度末,公司交易性金融资产较上年末减少18.65%,占公司总资产比重下降7.89个百分点;其他非流动资产较上年末增加38.95%,占公司总资产比重上升4.24个百分点;使用权资产较上年末增加71.37%,占公司总资产比重上升1.34个百分点;货币资金较上年末增加5.74%,占公司总资产比重上升1.32个百分点。

负债重大变化方面,截至2024年一季度末,公司租赁负债较上年末增加101.50%,占公司总资产比重上升1.38个百分点;应付职工薪酬较上年末减少51.62%,占公司总资产比重下降0.71个百分点;合同负债较上年末增加41.66%,占公司总资产比重上升0.20个百分点;其他应付款(含利息和股利)较上年末增加188.43%,占公司总资产比重上升0.16个百分点。

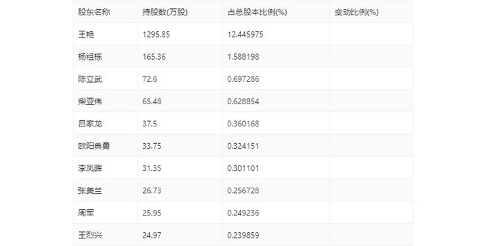
一季报显示,2024年一季度末公司十大流通股东中,新进股东为王艳、陈立武、柴亚伟、吕家龙、欧阳典勇、李凤晖、张美兰、周军、王烈兴,取代了上年末的白东升、大成中证360互联网+大数据100指数型证券投资基金、赵镇雄、中国国际金融香港资产管理有限公司-CICCFT10(R)、梁丽红、金淳、宋迪川、中信里昂资产管理有限公司-客户资金-人民币资金汇入、杨荔娜。在具体持股比例上,杨祖栋持股有所下降。

筹码集中度方面,截至2024年一季度末,公司股东总户数为1.44万户,较上年末增长了696户,增幅5.09%;户均持股市值由上年末的26.94万元上升至35.04万元,增幅为30.07%。

加载中...