新浪财经

水羊股份:2024年第一季度净利润4001.48万元 同比下降23.25%

中证网

关注

中证智能财讯 水羊股份(300740)4月24日披露2024年一季报。2024年第一季度,公司实现营业总收入10.32亿元,同比下降1.36%;归母净利润4001.48万元,同比下降23.25%;扣非净利润5332.83万元,同比增长44.67%;经营活动产生的现金流量净额为-1488.08万元,上年同期为5896.24万元;报告期内,水羊股份基本每股收益为0.1027元,加权平均净资产收益率为1.91%。

2024年第一季度,公司毛利率为61.34%,同比上升7.63个百分点;净利率为4.13%,较上年同期下降1.08个百分点。

数据显示,2024年第一季度公司加权平均净资产收益率为1.91%,较上年同期下降1.04个百分点;公司2024年第一季度投入资本回报率为1.51%,较上年同期下降0.54个百分点。

2024年第一季度,公司经营活动现金流净额为-1488.08万元,同比减少7384.31万元,主要系本期支付的推广费等增加所致;筹资活动现金流净额-1.56亿元,同比减少1.51亿元,主要系本期偿还借款所致;投资活动现金流净额-3697.31万元,上年同期为-6233.08万元,主要系本期支付的工程款增加及远期外汇合约到期平仓支付所致。

2024年第一季度,公司营业收入现金比为97.99%,净现比为-37.19%。

资产重大变化方面,截至2024年一季度末,公司货币资金较上年末减少42.98%,占公司总资产比重下降5.31个百分点;预付款项较上年末增加50.02%,占公司总资产比重上升1.74个百分点;存货较上年末增加1.84%,占公司总资产比重上升1.57个百分点;交易性金融资产较上年末减少27.76%,占公司总资产比重下降1.47个百分点。

负债重大变化方面,截至2024年一季度末,公司应付账款较上年末减少42.65%,占公司总资产比重下降2.58个百分点;一年内到期的非流动负债较上年末减少42.38%,占公司总资产比重下降2.22个百分点;短期借款较上年末减少20.69%,占公司总资产比重下降0.89个百分点;应付职工薪酬较上年末减少34.73%,占公司总资产比重下降0.42个百分点。

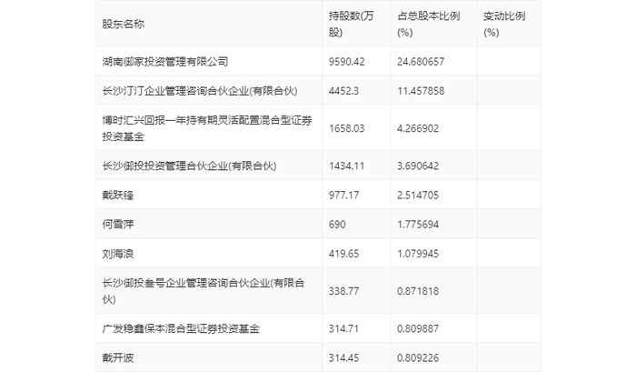
一季报显示,2024年一季度末公司十大流通股东中,新进股东为何雪萍,取代了上年末的中庚价值灵动灵活配置混合型证券投资基金。在具体持股比例上,湖南御家投资管理有限公司、长沙汀汀企业管理咨询合伙企业(有限合伙)、博时汇兴回报一年持有期灵活配置混合型证券投资基金、长沙御投投资管理合伙企业(有限合伙)、戴跃锋、刘海浪、长沙御投叁号企业管理咨询合伙企业(有限合伙)、广发稳鑫保本混合型证券投资基金、戴开波持股有所上升。

筹码集中度方面,截至2024年一季度末,公司股东总户数为1.62万户,较上年末下降了2559户,降幅13.64%;户均持股市值由上年末的34.62万元上升至47.36万元,增幅为36.80%。

加载中...