新浪财经

保利发展:2023年净利润同比下降34.13% 拟10派4.1元

中证网

关注

中证智能财讯 保利发展(600048)4月23日披露2023年年报。2023年,公司实现营业总收入3468.94亿元,同比增长23.40%;归母净利润120.67亿元,同比下降34.13%;扣非净利润117.90亿元,同比下降34.29%;经营活动产生的现金流量净额为139.30亿元,同比增长87.68%;报告期内,保利发展基本每股收益为1.01元,加权平均净资产收益率为6.13%。公司2023年年度利润分配预案为:拟向全体股东每10股派4.1元(含税)。

以4月22日收盘价计算,保利发展目前市盈率(TTM)约为8.03倍,市净率(LF)约为0.49倍,市销率(TTM)约为0.28倍。

公司近年市盈率(TTM)、市净率(LF)、市销率(TTM)历史分位图如下所示:

数据统计显示,保利发展近三年营业总收入复合增长率为12.56%,在住宅开发行业已披露2023年数据的41家公司中排名第12。近三年净利润复合年增长率为-25.30%,排名17/41。

年报显示,公司是一家以不动产投资开发为主、围绕美好生活服务和产业金融服务开展相关业务布局的大型、综合性企业集团,业务范围涵盖房地产开发与销售、物业服务、全域化管理、销售代理、商业管理、不动产金融等。公司连续15年保持房地产行业央企第一,位居2023年中国房地产百强企业首位。

分产品来看,2023年公司主营业务中,房地产销售收入3225.02亿元,同比增长25.69%,占营业收入的92.97%。

2023年,公司毛利率为16.01%,同比下降5.98个百分点;净利率为5.16%,较上年同期下降4.44个百分点。从单季度指标来看,2023年第四季度公司毛利率为11.82%,同比下降7.04个百分点,环比下降2.87个百分点;净利率为0.64%,较上年同期下降5.84个百分点,较上一季度下降2.69个百分点。

报告期内,公司前五大客户合计销售金额21.41亿元,占总销售金额比例为0.62%,公司前五名供应商合计采购金额12.58亿元,占年度采购总额比例为5.72%。

数据显示,2023年公司加权平均净资产收益率为6.13%,较上年同期下降3.03个百分点;公司2023年投入资本回报率为2.95%,较上年同期下降1.30个百分点。

2023年,公司经营活动现金流净额为139.30亿元,同比增长87.68%;筹资活动现金流净额-499.62亿元,同比减少469.46亿元;投资活动现金流净额72.66亿元,上年同期为6.37亿元。

进一步统计发现,2023年公司自由现金流为50.37亿元,上年同期为-100.48亿元。

2023年,公司营业收入现金比为121.40%,净现比为115.44%。

2023年,公司期间费用为185.13亿元,同比增长13.14亿元;但期间费用率为5.34%,同比下降0.78个百分点。其中,销售费用同比增长17.88%,管理费用同比增长8.75%,研发费用同比下降93.07%,财务费用同比增长19.12%。

资料显示,销售费用的变动主要因为销售代理费增加;管理费用的变动主要因为管理规模扩大,管理支出增加;财务费用的变动主要因为费用化利息支出增加,利息收入减少;研发费用的变动主要因为研发支出归集方式变化。

资产重大变化方面,截至2023年年末,公司货币资金较上年末减少16.18%,占公司总资产比重下降1.70个百分点;其他流动资产较上年末增加21.58%,占公司总资产比重上升1.02个百分点;存货较上年末减少0.96%,占公司总资产比重上升0.84个百分点;其他应收款(含利息和股利)较上年末减少4.47%,占公司总资产比重下降0.23个百分点。

负债重大变化方面,截至2023年年末,公司合同负债较上年末减少8.45%,占公司总资产比重下降1.75个百分点;应付债券较上年末减少21.57%,占公司总资产比重下降0.77个百分点;一年内到期的非流动负债较上年末减少14.29%,占公司总资产比重下降0.66个百分点;应付账款较上年末增加7.03%,占公司总资产比重上升1.06个百分点。

在偿债能力方面,公司2023年年末资产负债率为76.55%,相比上年末下降1.56个百分点;有息资产负债率为24.65%,相比上年末下降1.27个百分点。

2023年,公司流动比率为1.56,速动比率为0.49。

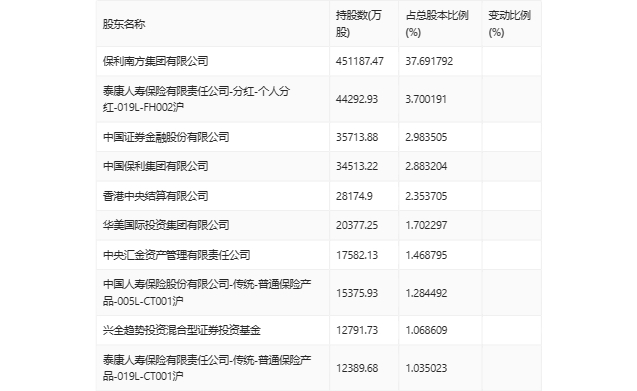
年报显示,2023年年末公司十大流通股东中,持股最多的为保利南方集团有限公司,占比37.69%。十大流通股东名单相比2023年三季报维持不变。在具体持股比例上,中国保利集团有限公司、中国人寿保险股份有限公司-传统-普通保险产品-005L-CT001沪、兴全趋势投资混合型证券投资基金持股有所上升,香港中央结算有限公司、华美国际投资集团有限公司持股有所下降。

筹码集中度方面,截至2023年年末,公司股东总户数为18.48万户,较三季度末增长了3.64万户,增幅24.49%;户均持股市值由三季度末的102.72万元下降至64.12万元,降幅为37.58%。

指标注解:

市盈率

=总市值/净利润。当公司亏损时市盈率为负,此时用市盈率估值没有实际意义,往往用市净率或市销率做参考。

市净率

=总市值/净资产。市净率估值法多用于盈利波动较大而净资产相对稳定的公司。

市销率

=总市值/营业收入。市销率估值法通常用于亏损或微利的成长型公司。

文中市盈率和市销率采用TTM方式,即以截至最近一期财报(含预报)12个月的数据计算。市净率采用LF方式,即以最近一期财报数据计算。

市盈率为负时,不显示当期分位数,会导致折线图中断。

加载中...