新浪财经

瑞星股份:2023年净利润同比下降37.22% 拟10派0.9元

中证网

关注

中证智能财讯 瑞星股份(836717)4月22日披露2023年年报。2023年,公司实现营业总收入1.73亿元,同比下降14.79%;归母净利润2360.67万元,同比下降37.22%;扣非净利润1905.66万元,同比下降45.94%;经营活动产生的现金流量净额为1899.38万元,同比下降62.10%;报告期内,瑞星股份基本每股收益为0.24元,加权平均净资产收益率为4.68%。公司2023年年度利润分配预案为:拟向全体股东每10股派0.9元(含税)。

以4月22日收盘价计算,瑞星股份目前市盈率(TTM)约为26.43倍,市净率(LF)约为1.12倍,市销率(TTM)约为3.6倍。

公司近年市盈率(TTM)、市净率(LF)、市销率(TTM)历史分位图如下所示:

数据统计显示,瑞星股份近三年营业总收入复合增长率为-7.28%,在其他专用设备行业已披露2023年数据的31家公司中排名第30。近三年净利润复合年增长率为-14.14%,排名23/31。

年报显示,公司主要从事城市燃气输配系统中调压设备的研发、设计、生产和销售,主营产品包括调压器类产品、调压装置类产品和压力容器类产品。根据调压设备的国家标准及行业标准,公司的产品可以进一步分为燃气调压器、燃气调压箱(柜)、撬装式燃气减压装置、压力容器、LNG气化供气装置、埋地式调压箱等七大类。

分产品来看,2023年公司主营业务中,调压柜类收入8691.06万元,占营业收入的50.17%;调压撬、门站类收入1842.65万元,占营业收入的10.64%;调压箱类收入1506.17万元,占营业收入的8.70%。

截至2023年末,公司员工总数为360人,人均创收48.12万元,人均创利6.56万元,人均薪酬9.26万元,较上年同期分别变化-8.63%、-32.69%、6.14%。

2023年,公司毛利率为39.94%,同比下降5.00个百分点;净利率为13.62%,较上年同期下降4.88个百分点。从单季度指标来看,2023年第四季度公司毛利率为42.07%,同比下降6.04个百分点,环比上升9.36个百分点;净利率为20.41%,较上年同期下降8.10个百分点,较上一季度上升10.23个百分点。

分产品看,调压柜类、调压撬、门站类、调压箱类2023年毛利率分别为41.85%、35.49%、36.16%。

报告期内,公司前五大客户合计销售金额0.66亿元,占总销售金额比例为38.22%,公司前五名供应商合计采购金额0.19亿元,占年度采购总额比例为22.13%。

数据显示,2023年公司加权平均净资产收益率为4.68%,较上年同期下降4.19个百分点;公司2023年投入资本回报率为4.54%,较上年同期下降3.98个百分点。

2023年,公司经营活动现金流净额为1899.38万元,同比下降62.10%;筹资活动现金流净额1.25亿元,同比增加1.60亿元;投资活动现金流净额-3818.15万元,上年同期为3281.2万元。

进一步统计发现,2023年公司自由现金流为135.62万元,相比上年同期下降98.34%。

2023年,公司营业收入现金比为120.32%,净现比为80.46%。

营运能力方面,2023年,公司公司总资产周转率为0.29次,上年同期为0.39次(2022年行业平均值为0.51次,公司位居同行业62/87);固定资产周转率为1.70次,上年同期为1.87次(2022年行业平均值为4.01次,公司位居同行业74/87);公司应收账款周转率、存货周转率分别为0.84次、1.57次。

2023年,公司期间费用为4587.29万元,较上年同期减少82.01万元;但期间费用率为26.48%,较上年同期上升3.51个百分点。其中,销售费用同比增长3.75%,管理费用同比增长2.47%,研发费用同比下降7.71%,财务费用同比下降65.48%。

资产重大变化方面,截至2023年年末,公司货币资金较上年末增加196.32%,占公司总资产比重上升14.39个百分点;应收账款较上年末减少1.12%,占公司总资产比重下降7.29个百分点;在建工程较上年末增加2019.65%,占公司总资产比重上升6.92个百分点;固定资产较上年末减少9.54%,占公司总资产比重下降5.15个百分点。

负债重大变化方面,截至2023年年末,公司应付账款较上年末减少48.42%,占公司总资产比重下降6.08个百分点;短期借款较上年末增加66.65%,占公司总资产比重上升1.66个百分点;其他应付款(含利息和股利)较上年末增加173.47%,占公司总资产比重上升0.95个百分点;应付职工薪酬较上年末减少55.63%,占公司总资产比重下降0.50个百分点。

从存货变动来看,截至2023年年末,公司存货账面价值为6096.68万元,占净资产的10.9%,较上年末减少1082.61万元。其中,存货跌价准备为71.84万元,计提比例为1.16%。

2023年全年,公司研发投入金额为911.16万元,同比下降7.71%;研发投入占营业收入比例为5.26%,相比上年同期上升0.40个百分点。

在偿债能力方面,公司2023年年末资产负债率为13.95%,相比上年末下降4.59个百分点;有息资产负债率为6.16%,相比上年末上升1.66个百分点。

2023年,公司流动比率为5.27,速动比率为4.58。

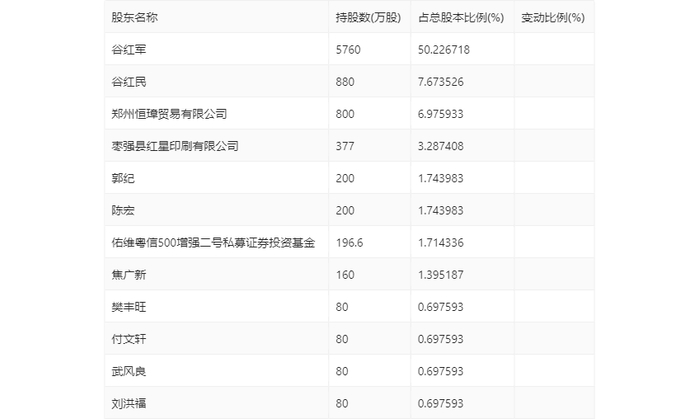
年报显示,2023年年末公司十大股东中,新进股东为樊丰旺、付文轩、武风良、刘洪福,取代了三季度末的张洪朝、许卫胜。

筹码集中度方面,截至2023年年末,公司股东总户数为3740户,较三季度末下降了3389户,降幅47.54%;户均持股市值由三季度末的6.79万元上升至28.42万元,增幅为318.56%。

指标注解:

市盈率

=总市值/净利润。当公司亏损时市盈率为负,此时用市盈率估值没有实际意义,往往用市净率或市销率做参考。

市净率

=总市值/净资产。市净率估值法多用于盈利波动较大而净资产相对稳定的公司。

市销率

=总市值/营业收入。市销率估值法通常用于亏损或微利的成长型公司。

文中市盈率和市销率采用TTM方式,即以截至最近一期财报(含预报)12个月的数据计算。市净率采用LF方式,即以最近一期财报数据计算。

市盈率为负时,不显示当期分位数,会导致折线图中断。

加载中...