新浪财经

盛屯矿业:2023年盈利2.65亿元 拟10派0.257元

中证网

关注

中证智能财讯 盛屯矿业(600711)4月23日披露2023年年报。2023年,公司实现营业总收入244.56亿元,同比下降5.33%;归母净利润2.65亿元,同比扭亏;扣非净利润2.68亿元,同比扭亏;经营活动产生的现金流量净额为4.89亿元,同比下降23.00%;报告期内,盛屯矿业基本每股收益为0.0844元,加权平均净资产收益率为1.89%。公司2023年年度利润分配预案为:拟向全体股东每10股派0.257元(含税)。

以4月22日收盘价计算,盛屯矿业目前市盈率(TTM)约为54.54倍,市净率(LF)约为1.04倍,市销率(TTM)约为0.59倍。

公司近年市盈率(TTM)、市净率(LF)、市销率(TTM)历史分位图如下所示:

数据统计显示,盛屯矿业近三年营业总收入复合增长率为-14.58%,在能源金属行业已披露2023年数据的9家公司中排名第9。近三年净利润复合年增长率为64.85%,排名6/9。

年报显示,公司致力于能源金属资源的开发利用,尤其是新能源电池所需金属品种,重点聚焦于、钴,主要业务类型为能源金属业务、基本金属业务、金属贸易业务及其他。

分产品来看,2023年公司主营业务中,锌产品收入56.35亿元,同比下降0.46%,占营业收入的23.04%;铜产品收入56.13亿元,同比增长81.06%,占营业收入的22.95%;镍产品收入42.11亿元,占营业收入的17.22%。

截至2023年末,公司员工总数为9193人,人均创收266.03万元,人均创利2.88万元,人均薪酬11.13万元,较上年同期分别变化-22.89%、10420.08%、12.49%。

2023年,公司毛利率为11.02%,同比下降0.47个百分点;净利率为2.43%,较上年同期下降0.88个百分点。从单季度指标来看,2023年第四季度公司毛利率为15.38%,同比上升4.04个百分点,环比上升3.09个百分点;净利率为1.38%,较上年同期上升11.75个百分点,较上一季度下降0.78个百分点。

分产品看,锌产品、铜产品、镍产品2023年毛利率分别为-2.61%、33.60%、13.09%。

报告期内,公司前五大客户合计销售金额83.52亿元,占总销售金额比例为34.15%,公司前五名供应商合计采购金额43.05亿元,占年度采购总额比例为19.78%。

数据显示,2023年公司加权平均净资产收益率为1.89%,较上年同期增长1.91个百分点;公司2023年投入资本回报率为3.92%,较上年同期下降1.28个百分点。

2023年,公司经营活动现金流净额为4.89亿元,同比下降23.00%;筹资活动现金流净额32.06亿元,同比增加1.38亿元;投资活动现金流净额-25.37亿元,上年同期为-29.58亿元。

进一步统计发现,2023年公司自由现金流为-8.95亿元,上年同期为2.41亿元。

2023年,公司营业收入现金比为180.64%,净现比为184.57%。

2023年,公司期间费用为11.8亿元,同比增长3.78亿元;期间费用率为4.82%,同比增长1.72个百分点。其中,销售费用同比下降10.02%,管理费用同比增长23.78%,研发费用同比下降0.22%,财务费用同比增长165.84%。

资产重大变化方面,截至2023年年末,公司固定资产较上年末增加41.25%,占公司总资产比重上升4.87个百分点;存货较上年末增加0.27%,占公司总资产比重下降2.80个百分点;交易性金融资产较上年末减少38.89%,占公司总资产比重下降1.27个百分点;无形资产较上年末增加5.14%,占公司总资产比重下降1.03个百分点。

负债重大变化方面,截至2023年年末,公司长期借款较上年末增加810.51%,占公司总资产比重上升9.56个百分点;短期借款较上年末增加14.98%,占公司总资产比重下降0.13个百分点;长期应付款合计较上年末增加151.61%,占公司总资产比重上升1.55个百分点;其他应付款(含利息和股利)较上年末增加62.97%,占公司总资产比重上升1.13个百分点。

从存货变动来看,截至2023年年末,公司存货账面价值为67.98亿元,占净资产的49.01%,较上年末增加3.44亿元。其中,存货跌价准备为1.96亿元,计提比例为2.8%。

2023年全年,公司研发投入金额为3890.47万元,同比下降0.22%;研发投入占营业收入比例为0.16%,相比上年同期上升0.01个百分点。此外,公司全年研发投入资本化率为0。

在偿债能力方面,公司2023年年末资产负债率为57.04%,相比上年末上升8.70个百分点;有息资产负债率为31.62%,相比上年末上升9.76个百分点。

2023年,公司流动比率为1.16,速动比率为0.72。

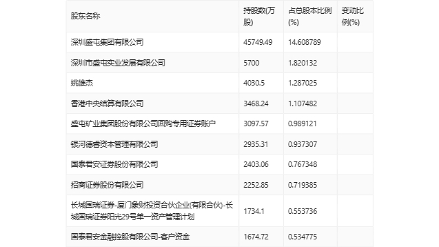
年报显示,2023年年末公司十大流通股东中,新进股东为国泰君安金融控股有限公司-客户资金,取代了三季度末的中信中证资本管理有限公司。在具体持股比例上,香港中央结算有限公司、盛屯矿业集团股份有限公司回购专用证券账户、国泰君安证券股份有限公司、招商证券股份有限公司持股有所上升,银河德睿资本管理有限公司持股有所下降。

筹码集中度方面,截至2023年年末,公司股东总户数为18.34万户,较三季度末下降了4332户,降幅2.31%;户均持股市值由三季度末的7.81万元下降至7.41万元,降幅为5.12%。

指标注解:

市盈率

=总市值/净利润。当公司亏损时市盈率为负,此时用市盈率估值没有实际意义,往往用市净率或市销率做参考。

市净率

=总市值/净资产。市净率估值法多用于盈利波动较大而净资产相对稳定的公司。

市销率

=总市值/营业收入。市销率估值法通常用于亏损或微利的成长型公司。

文中市盈率和市销率采用TTM方式,即以截至最近一期财报(含预报)12个月的数据计算。市净率采用LF方式,即以最近一期财报数据计算。

市盈率为负时,不显示当期分位数,会导致折线图中断。

加载中...