新浪财经

光弘科技:2023年净利润同比增长31.71% 拟10派2.5元

中证网

关注

中证智能财讯 光弘科技(300735)4月23日披露2023年年报。2023年,公司实现营业总收入54.02亿元,同比增长29.25%;归母净利润3.97亿元,同比增长31.71%;扣非净利润3.73亿元,同比增长42.96%;经营活动产生的现金流量净额为9.26亿元,同比下降22.96%;报告期内,光弘科技基本每股收益为0.52元,加权平均净资产收益率为8.44%。公司2023年年度利润分配预案为:拟向全体股东每10股派2.5元(含税)。

以4月22日收盘价计算,光弘科技目前市盈率(TTM)约为44.84倍,市净率(LF)约为3.67倍,市销率(TTM)约为3.29倍。

公司近年市盈率(TTM)、市净率(LF)、市销率(TTM)历史分位图如下所示:

数据统计显示,光弘科技近三年营业总收入复合增长率为33.21%,在消费电子零部件及组装行业已披露2023年数据的39家公司中排名第3。近三年净利润复合年增长率为7.57%,排名9/39。

资料显示,公司的主营业务为专业从事消费电子类、网络通讯类、汽车电子、新能源类等电子产品的半成品及成品组装,并提供制程技术研发、工艺设计、采购管理、生产控制、仓储物流等完整服务的电子制造服务(EMS)。公司提供电子制造服务的主要产品包括消费电子类(智能手机、平板电脑)、汽车电子类、网络通讯类、物联网、新能源等电子产品。

分产品来看,2023年公司主营业务中,消费电子类收入42.55亿元,同比增长27.59%,占营业收入的78.75%;汽车电子类收入7.03亿元,同比增长312.13%,占营业收入的13.01%;网络通讯类收入3.41亿元,同比下降42.04%,占营业收入的6.32%。

2023年,公司毛利率为17.53%,同比下降1.03个百分点;净利率为8.08%,较上年同期上升0.12个百分点。从单季度指标来看,2023年第四季度公司毛利率为17.64%,同比上升1.68个百分点,环比上升0.10个百分点;净利率为9.66%,较上年同期上升1.74个百分点,较上一季度上升1.66个百分点。

分产品看,消费电子类、汽车电子类2023年毛利率分别为18.66%、10.79%。

报告期内,公司前五大客户合计销售金额41.18亿元,占总销售金额比例为76.22%,公司前五名供应商合计采购金额11.25亿元,占年度采购总额比例为37.95%。

数据显示,2023年公司加权平均净资产收益率为8.44%,较上年同期增长1.73个百分点;公司2023年投入资本回报率为7.90%,较上年同期增长1.38个百分点。

2023年,公司经营活动现金流净额为9.26亿元,同比下降22.96%;筹资活动现金流净额-8516.41万元,同比增加4.22亿元;投资活动现金流净额970.48万元,上年同期为5381.48万元。

进一步统计发现,2023年公司自由现金流为7.42亿元,相比上年同期下降43.72%。

2023年,公司营业收入现金比为100.89%,净现比为233.50%。

营运能力方面,2023年,公司公司总资产周转率为0.81次,上年同期为0.69次(2022年行业平均值为0.67次,公司位居同行业45/94);固定资产周转率为2.82次,上年同期为2.28次(2022年行业平均值为4.28次,公司位居同行业75/94);公司应收账款周转率、存货周转率分别为4.20次、16.61次。

2023年,公司期间费用为4.22亿元,较上年同期增加1901.17万元;但期间费用率为7.81%,较上年同期下降1.83个百分点。其中,销售费用同比增长12.84%,管理费用同比增长11.19%,研发费用同比增长17.37%,财务费用由去年同期的1944.71万元变为-1154.63万元。

资产重大变化方面,截至2023年年末,公司交易性金融资产较上年末减少80.31%,占公司总资产比重下降9.86个百分点;货币资金较上年末增加56.89%,占公司总资产比重上升5.60个百分点;固定资产较上年末增加8.62%,占公司总资产比重下降5.07个百分点;应收账款较上年末增加56.78%,占公司总资产比重上升3.64个百分点。

负债重大变化方面,截至2023年年末,公司应付账款较上年末增加215.28%,占公司总资产比重上升11.49个百分点;短期借款较上年末增加216.08%,占公司总资产比重上升3.33个百分点,主要系本期新增借款;应付职工薪酬较上年末增加49.56%,占公司总资产比重上升0.37个百分点;租赁负债较上年末增加137.49%,占公司总资产比重上升0.20个百分点。

从存货变动来看,截至2023年年末,公司存货账面价值为3.76亿元,占净资产的7.75%,较上年末增加2.15亿元。其中,存货跌价准备为1183.82万元,计提比例为3.05%。

2023年全年,公司研发投入金额为1.29亿元,同比增长17.37%;研发投入占营业收入比例为2.38%,相比上年同期下降0.24个百分点。此外,公司全年研发投入资本化率为0。

年报称,在精益生产方式的要求和指导下,公司建立了高效的节约文化,并将成本控制的理念渗透到经营的各个环节,具有明显优于同行业的总成本领先优势。公司目前已获81项专利技术和19项软件著作权授权。同时公司拓展与国内外专业科研院所合作,开展课题研究和合作开发,借助外部的研发、技术与信息优势,提升公司内部工艺技术水平。

在偿债能力方面,公司2023年年末资产负债率为31.21%,相比上年末上升14.43个百分点;有息资产负债率为5.81%,相比上年末上升3.29个百分点。

2023年,公司流动比率为2.16,速动比率为1.99。

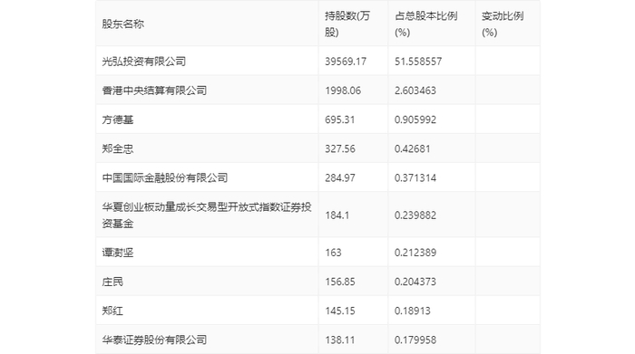
年报显示,2023年年末公司十大流通股东中,新进股东为方德基、中国国际金融股份有限公司、华夏创业板动量成长交易型开放式指数证券投资基金、谭澍坚、郑红、华泰证券股份有限公司,取代了三季度末的广东恒健资本管理有限公司、中信证券-无锡产发服务贸易投资基金合伙企业(有限合伙)-中信证券无锡服贸一号单一资产管理计划、方文艳、中信证券-深圳市伊敦传媒投资基金合伙企业(有限合伙)-中信证券伊敦一号单一资产管理计划、惠州光弘科技股份有限公司回购专用证券账户、王光坤。在具体持股比例上,光弘投资有限公司、香港中央结算有限公司、郑全忠持股有所上升,庄民持股有所下降。

筹码集中度方面,截至2023年年末,公司股东总户数为7.15万户,较三季度末增长了8101户,增幅12.79%;户均持股市值由三季度末的20.46万元上升至25.28万元,增幅为23.56%。

指标注解:

市盈率

=总市值/净利润。当公司亏损时市盈率为负,此时用市盈率估值没有实际意义,往往用市净率或市销率做参考。

市净率

=总市值/净资产。市净率估值法多用于盈利波动较大而净资产相对稳定的公司。

市销率

=总市值/营业收入。市销率估值法通常用于亏损或微利的成长型公司。

文中市盈率和市销率采用TTM方式,即以截至最近一期财报(含预报)12个月的数据计算。市净率采用LF方式,即以最近一期财报数据计算。

市盈率为负时,不显示当期分位数,会导致折线图中断。

加载中...