新浪财经

亚星锚链:2024年第一季度净利润6797.73万元 同比增长15.30%

中证网

关注

中证智能财讯 亚星锚链(601890)4月23日披露2024年一季报。2024年第一季度,公司实现营业总收入4.49亿元,同比下降8.14%;归母净利润6797.73万元,同比增长15.30%;扣非净利润4407.53万元,同比下降3.04%;经营活动产生的现金流量净额为-1.02亿元,上年同期为-4719.68万元;报告期内,亚星锚链基本每股收益为0.0709元,加权平均净资产收益率为1.95%。

2024年第一季度,公司毛利率为27.45%,同比上升1.10个百分点;净利率为15.33%,较上年同期上升3.08个百分点。

数据显示,2024年第一季度公司加权平均净资产收益率为1.95%,较上年同期增长0.57个百分点;公司2024年第一季度投入资本回报率为1.66%,较上年同期增长0.08个百分点。

2024年第一季度,公司经营活动现金流净额为-1.02亿元,同比减少5432.57万元,主要系报告期销售商品、提供劳务收到的现金同比减少所致;筹资活动现金流净额1643.85万元,同比减少7979.96万元;投资活动现金流净额-9140.31万元,上年同期为1.12亿元,主要系报告期内购买理财产品同比增加所致。

2024年第一季度,公司营业收入现金比为71.40%,净现比为-149.35%。

资产重大变化方面,截至2024年一季度末,公司货币资金较上年末减少14.16%,占公司总资产比重下降4.34个百分点;交易性金融资产较上年末增加20.13%,占公司总资产比重上升3.57个百分点;预付款项较上年末增加129.75%,占公司总资产比重上升1.34个百分点;存货较上年末减少5.08%,占公司总资产比重下降0.80个百分点。

负债重大变化方面,截至2024年一季度末,公司一年内到期的非流动负债较上年末增加2400.00%,占公司总资产比重上升1.98个百分点;长期借款较上年末减少21.27%,占公司总资产比重下降1.87个百分点;应付账款较上年末减少53.86%,占公司总资产比重下降1.73个百分点;合同负债较上年末减少16.97%,占公司总资产比重下降1.28个百分点。

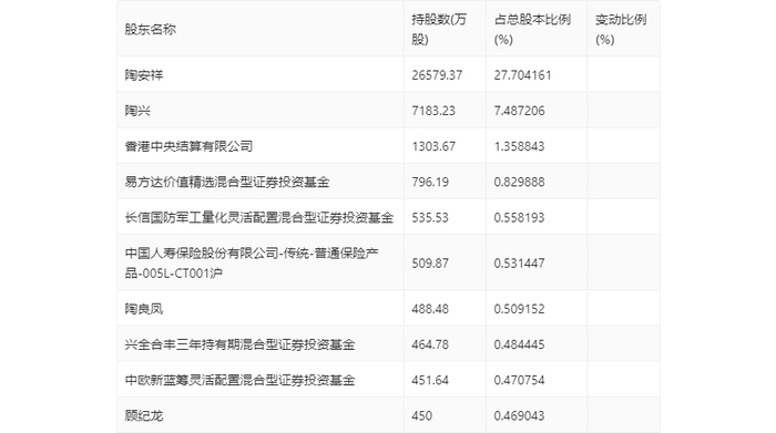
一季报显示,2024年一季度末公司十大流通股东中,新进股东为中国人寿保险股份有限公司-传统-普通保险产品-005L-CT001沪、陶良凤、兴全合丰三年持有期混合型证券投资基金、中欧新蓝筹灵活配置混合型证券投资基金、顾纪龙,取代了上年末的全国社保基金一零二组合、大家人寿保险股份有限公司-万能产品、中航证券有限公司、中国石油天然气集团公司企业年金计划-中国工商银行股份有限公司、张欣航。在具体持股比例上,香港中央结算有限公司、易方达价值精选混合型证券投资基金持股有所上升,长信国防军工量化灵活配置混合型证券投资基金持股有所下降。

筹码集中度方面,截至2024年一季度末,公司股东总户数为9.09万户,较上年末下降了461户,降幅0.50%;户均持股市值由上年末的10.40万元下降至8.84万元,降幅为15.00%。

加载中...