新浪财经

新华网:2023年净利润同比增长12.94% 拟10派2.11元

中证网

关注

中证智能财讯 新华网(603888)4月23日披露2023年年报。2023年,公司实现营业总收入20.82亿元,同比增长7.28%;归母净利润2.74亿元,同比增长12.94%;扣非净利润1.08亿元,同比下降13.53%;经营活动产生的现金流量净额为4.59亿元,同比下降13.69%;报告期内,新华网基本每股收益为0.5269元,加权平均净资产收益率为8.14%。公司2023年年度利润分配预案为:拟向全体股东每10股派2.11元(含税)。

报告期内,公司合计非经常性损益为1.66亿元,其中因税收、会计等法律、法规的调整对当期损益产生的一次性影响为1.27亿元,与公司正常经营业务无关的或有事项产生的损益为-6986.44万元。

以4月22日收盘价计算,新华网目前市盈率(TTM)约为41.43倍,市净率(LF)约为3.3倍,市销率(TTM)约为5.44倍。

公司近年市盈率(TTM)、市净率(LF)、市销率(TTM)历史分位图如下所示:

数据统计显示,新华网近三年营业总收入复合增长率为13.25%,在数字媒体行业已披露2023年数据的5家公司中排名第1。近三年净利润复合年增长率为18.36%,排名2/5。

分产品来看,2023年公司主营业务中,政企综合服务收入8.13亿元,占营业收入的39.07%;全媒广告服务收入7.56亿元,占营业收入的36.29%;数字及智能化业务收入4.06亿元,占营业收入的19.49%。

截至2023年末,公司员工总数为1768人,人均创收117.75万元,人均创利15.47万元,人均薪酬36.05万元,较上年同期分别增长10.98%、16.84%、7.63%。

2023年,公司毛利率为34.33%,同比上升3.32个百分点;净利率为13.14%,较上年同期上升0.66个百分点。从单季度指标来看,2023年第四季度公司毛利率为39.30%,同比上升4.40个百分点,环比上升8.87个百分点;净利率为14.73%,较上年同期上升0.96个百分点,较上一季度上升6.22个百分点。

分产品看,政企综合服务、全媒广告服务、数字及智能化业务2023年毛利率分别为33.01%、44.50%、20.54%。

报告期内,公司前五大客户合计销售金额1.84亿元,占总销售金额比例为8.84%,公司前五名供应商合计采购金额1.77亿元,占年度采购总额比例为9.30%。

数据显示,2023年公司加权平均净资产收益率为8.14%,较上年同期增长0.60个百分点;公司2023年投入资本回报率为3.67%,较上年同期下降2.14个百分点。

2023年,公司经营活动现金流净额为4.59亿元,同比下降13.69%;筹资活动现金流净额-3.22亿元,同比减少1.93亿元;投资活动现金流净额14.42亿元,上年同期为-8.58亿元。

进一步统计发现,2023年公司自由现金流为17.55亿元,上年同期为-3.52亿元。

2023年,公司营业收入现金比为109.41%,净现比为167.66%。

营运能力方面,2023年,公司公司总资产周转率为0.40次,上年同期为0.39次(2022年行业平均值为0.35次,公司位居同行业5/13);固定资产周转率为11.56次,上年同期为7.90次(2022年行业平均值为21.76次,公司位居同行业7/13);公司应收账款周转率、存货周转率分别为5.11次、109.17次。

2023年,公司期间费用为4.81亿元,同比增长7339.93万元;期间费用率为23.1%,同比增长2.1个百分点。其中,销售费用同比增长1.64%,管理费用同比增长46.42%,研发费用同比增长31.39%,财务费用-4963.06万元,去年同期-4091.23万元。

资产重大变化方面,截至2023年年末,公司货币资金较上年末增加94.57%,占公司总资产比重上升30.99个百分点;交易性金融资产较上年末减少95.10%,占公司总资产比重下降27.14个百分点;递延所得税资产较上年末增加366.98%,占公司总资产比重上升1.99个百分点;长期应收款较上年末减少24.13%,占公司总资产比重下降1.31个百分点。

负债重大变化方面,截至2023年年末,公司应付账款较上年末增加18.61%,占公司总资产比重上升1.59个百分点;长期递延收益较上年末减少35.79%,占公司总资产比重下降1.17个百分点;租赁负债较上年末减少78.56%,占公司总资产比重下降0.74个百分点;合同负债较上年末减少6.86%,占公司总资产比重下降0.50个百分点。

从存货变动来看,截至2023年年末,公司存货账面价值为932.77万元,占净资产的0.27%,较上年末减少638.83万元。其中,存货跌价准备为785.09万元,计提比例为45.7%。

2023年全年,公司研发投入金额为9172.94万元,同比增长26.54%;研发投入占营业收入比例为4.41%,相比上年同期上升0.67个百分点。此外,公司全年研发投入资本化率为0.08%。

年报称,截至报告披露日,新华睿思累计申请软件著作权49项,技术发明专利14项,新华睿思大数据技术发明专利池已形成。

在偿债能力方面,公司2023年年末资产负债率为33.76%,相比上年末下降2.91个百分点;有息资产负债率为0.85%,相比上年末下降0.35个百分点。

2023年,公司流动比率为3.17,速动比率为3.16。

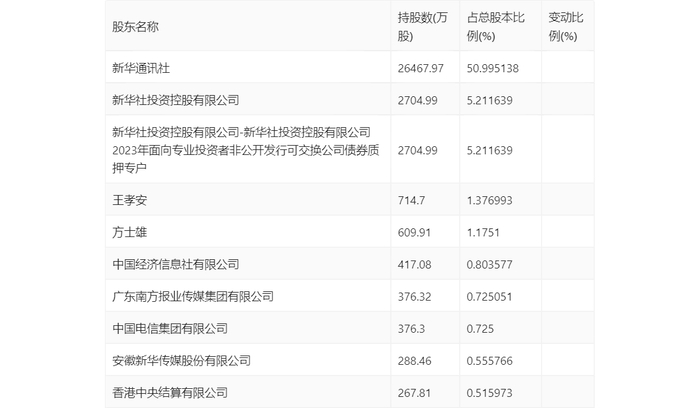
年报显示,2023年年末公司十大流通股东中,新进股东为香港中央结算有限公司,取代了三季度末的财通基金-建设银行-中国人寿-中国人寿保险(集团)公司委托财通基金管理有限公司定增组合。在具体持股比例上,王孝安、方士雄持股有所下降。

筹码集中度方面,截至2023年年末,公司股东总户数为5.81万户,较三季度末下降了8289户,降幅12.49%;户均持股市值由三季度末的23.91万元下降至22.52万元,降幅为5.81%。

指标注解:

市盈率

=总市值/净利润。当公司亏损时市盈率为负,此时用市盈率估值没有实际意义,往往用市净率或市销率做参考。

市净率

=总市值/净资产。市净率估值法多用于盈利波动较大而净资产相对稳定的公司。

市销率

=总市值/营业收入。市销率估值法通常用于亏损或微利的成长型公司。

文中市盈率和市销率采用TTM方式,即以截至最近一期财报(含预报)12个月的数据计算。市净率采用LF方式,即以最近一期财报数据计算。

市盈率为负时,不显示当期分位数,会导致折线图中断。

加载中...