新浪财经

东方国信:2023年亏损3.86亿元

中证网

关注

中证智能财讯 东方国信(300166)4月22日披露2023年年度报告。2023年,公司实现营业收入23.83亿元,同比增长4.13%;归母净利润亏损3.86亿元,上年同期亏损3.61亿元;扣非净利润亏损4.64亿元,上年同期亏损3.73亿元;经营活动产生的现金流量净额为3.22亿元,同比下降1.72%;报告期内,东方国信基本每股收益为-0.34元,加权平均净资产收益率为-6.12%。

以4月19日收盘价计算,东方国信目前市盈率(TTM)约为-20.61倍,市净率(LF)约为1.3倍,市销率(TTM)约为3.34倍。

公司近年市盈率(TTM)、市净率(LF)、市销率(TTM)历史分位图如下所示:

数据统计显示,东方国信近三年营业总收入复合增长率为4.50%,在IT服务Ⅲ行业已披露2023年数据的55家公司中排名第33。近三年净利润复合年增长率为-208.58%,排名50/55。

年报称,公司主营业务是为客户提供企业级大数据、人工智能、云计算、工业互联网等平台、产品、服务及行业整体解决方案。

分产品来看,2023年公司主营业务中,定制软件开发及服务收入20.60亿元,同比增长6.44%,占营业收入的86.43%;系统集成业务收入1.36亿元,同比下降23.00%,占营业收入的5.71%;软件产品收入1.12亿元,同比增长10.84%,占营业收入的4.71%。

截至2023年末,公司员工总数为8669人,人均创收27.49万元,人均创利-4.46万元,人均薪酬21.72万元,较上年同期分别变化9.74%、-12.73%、10.29%。

2023年,公司毛利率为23.42%,同比下降7.65个百分点;净利率为-16.17%,较上年同期下降0.16个百分点。从单季度指标来看,2023年第四季度公司毛利率为-1.54%,同比下降17.75个百分点,环比下降43.26个百分点;净利率为-53.38%,较上年同期上升1.40个百分点,较上一季度下降61.36个百分点。

分产品看,定制软件开发及服务、系统集成业务、软件产品2023年毛利率分别为23.67%、14.48%、31.38%。

报告期内,公司前五大客户合计销售金额4.38亿元,占总销售金额比例为18.39%,公司前五名供应商合计采购金额0.53亿元,占年度采购总额比例为2.90%。

数据显示,2023年公司加权平均净资产收益率为-6.12%,较上年同期下降0.72个百分点。公司2023年投入资本回报率为-6.57%,较上年同期下降1.41个百分点。

2023年,公司经营活动现金流净额为3.22亿元,同比下降1.72%;筹资活动现金流净额-311.63万元,同比增加1.75亿元;投资活动现金流净额-2.57亿元,上年同期为-6507.09万元。

进一步统计发现,2023年公司自由现金流为-1.48亿元,上年同期为-3.15亿元。

2023年,公司营业收入现金比为117.35%,净现比为-83.32%。

营运能力方面,2023年,公司公司总资产周转率为0.30次,上年同期为0.27次(2022年行业平均值为0.47次,公司位居同行业108/135);固定资产周转率为5.01次,上年同期为4.87次(2022年行业平均值为10.93次,公司位居同行业96/135);公司应收账款周转率、存货周转率分别为1.79次、2.21次。

2023年,公司期间费用为7.94亿元,较上年同期增加6406.76万元;期间费用率为33.32%,较上年同期上升1.42个百分点。其中,销售费用同比增长22.56%,管理费用同比增长5.74%,研发费用同比增长12.59%,财务费用同比下降43.02%。

资产重大变化方面,截至2023年年末,公司商誉较上年末减少50.72%,占公司总资产比重下降3.24个百分点;其他流动资产较上年末减少64.26%,占公司总资产比重下降2.18个百分点;递延所得税资产较上年末增加74.98%,占公司总资产比重上升1.54个百分点;应收账款较上年末减少12.70%,占公司总资产比重下降1.50个百分点。

负债重大变化方面,截至2023年年末,公司一年内到期的非流动负债较上年末减少93.69%,占公司总资产比重下降3.76个百分点;长期借款较上年末增加152.00%,占公司总资产比重上升2.47个百分点;短期借款较上年末增加36.82%,占公司总资产比重上升2.10个百分点,主要系本报;应付账款较上年末增加63.80%,占公司总资产比重上升0.98个百分点。

从存货变动来看,截至2023年年末,公司存货账面价值为8.1亿元,占净资产的13.25%,较上年末减少2835.8万元。其中,存货跌价准备为1.79亿元,计提比例为18.1%。

2023年全年,公司研发投入金额为5.87亿元,同比下降0.88%;研发投入占营业收入比例为24.63%,相比上年同期下降1.25个百分点。此外,公司全年研发投入资本化率为56.37%。

年报显示,截至报告期末,公司(含子公司)共已取得软件著作权1200项,专利权88项。本报告期内,公司统计新增软件著作权90项,新增专利15项。

在偿债能力方面,公司2023年年末资产负债率为20.53%,相比上年末上升1.56个百分点;有息资产负债率为11.20%,相比上年末上升0.82个百分点。

2023年,公司流动比率为3.39,速动比率为2.67。

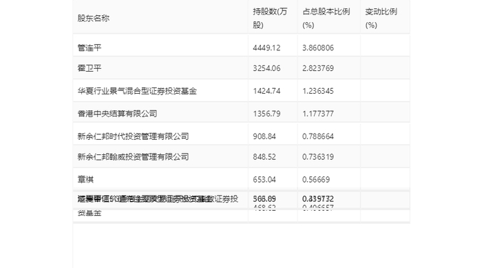
年报显示,2023年年末公司十大流通股东中,持股最多的为管连平,占比3.86%。十大流通股东名单相比2023年三季报维持不变。在具体持股比例上,华夏行业景气混合型证券投资基金、香港中央结算有限公司、华夏中证5G通信主题交易型开放式指数证券投资基金持股有所上升,过仲平、汇丰晋信价值先锋股票型证券投资基金持股有所下降。

筹码集中度方面,截至2023年年末,公司股东总户数为9.25万户,较三季度末下降了1.07万户,降幅10.37%;户均持股市值由三季度末的12.16万元下降至11.71万元,降幅为3.70%。

指标注解:

市盈率

=总市值/净利润。当公司亏损时市盈率为负,此时用市盈率估值没有实际意义,往往用市净率或市销率做参考。

市净率

=总市值/净资产。市净率估值法多用于盈利波动较大而净资产相对稳定的公司。

市销率

=总市值/营业收入。市销率估值法通常用于亏损或微利的成长型公司。

文中市盈率和市销率采用TTM方式,即以截至最近一期财报(含预报)12个月的数据计算。市净率采用LF方式,即以最近一期财报数据计算。

市盈率为负时,不显示当期分位数,会导致折线图中断。

加载中...