新浪财经

航天智装:2023年净利同比增长4.97% 拟10派0.15元

中证网

关注

中证智能财讯 航天智装(300455)4月20日披露2023年年报。2023年,公司实现营业总收入14.08亿元,同比增长4.45%;归母净利润9059.09万元,同比增长4.97%;扣非净利润6502.67万元,同比增长18.59%;经营活动产生的现金流量净额为5888.58万元,上年同期为-9978.56万元;报告期内,航天智装基本每股收益为0.1262元,加权平均净资产收益率为5.18%。公司2023年年度利润分配预案为:拟向全体股东每10股派0.15元(含税)。

以4月19日收盘价计算,航天智装目前市盈率(TTM)约为76.85倍,市净率(LF)约为3.88倍,市销率(TTM)约为4.94倍。

公司近年市盈率(TTM)、市净率(LF)、市销率(TTM)历史分位图如下所示:

数据统计显示,航天智装近三年营业总收入复合增长率为7.44%,在其他计算机设备行业已披露2023年数据的31家公司中排名第15。近三年净利润复合年增长率为-16.32%,排名17/31。

年报显示,航天智装隶属于中国航天科技集团有限公司下属中国空间技术研究院,主营业务有三大业务板块:铁路车辆运行安全检测及检修系统、智能测试仿真系统和微系统与控制部组件、核工业及特殊环境自动化装备。

分产品来看,2023年公司主营业务中,智能测试仿真系统和微系统与控制部组件收入6.13亿元,同比增长1.47%,占营业收入的43.52%;核工业及特殊环境智能装备系统收入5.44亿元,同比增长3.11%,占营业收入的38.66%;铁路车辆运行安全检测及检修系统收入2.16亿元,同比增长5.29%,占营业收入的15.36%。

截至2023年末,公司员工总数为671人,人均创收209.84万元,人均创利13.50万元,人均薪酬39.90万元,较上年同期分别增长0.87%、1.37%、2.73%。

2023年,公司毛利率为20.70%,同比上升0.66个百分点;净利率为6.43%,较上年同期上升0.03个百分点。从单季度指标来看,2023年第四季度公司毛利率为20.64%,同比上升1.00个百分点,环比下降1.48个百分点;净利率为10.78%,较上年同期上升1.95个百分点,较上一季度上升7.90个百分点。

分产品看,智能测试仿真系统和微系统与控制部组件、核工业及特殊环境智能装备系统、铁路车辆运行安全检测及检修系统2023年毛利率分别为21.08%、16.29%、23.36%。

报告期内,公司前五大客户合计销售金额10.33亿元,占总销售金额比例为73.35%,公司前五名供应商合计采购金额1.79亿元,占年度采购总额比例为23.23%。

数据显示,2023年公司加权平均净资产收益率为5.18%,较上年同期增长0.02个百分点;公司2023年投入资本回报率为5.00%,较上年同期增长0.07个百分点。

2023年,公司经营活动现金流净额为5888.58万元,同比增加1.59亿元;筹资活动现金流净额1548.81万元,同比减少7130.92万元;投资活动现金流净额-1.09亿元,上年同期为-2457.08万元。

进一步统计发现,2023年公司自由现金流为-1.47亿元,上年同期为-0.27亿元。

2023年,公司营业收入现金比为101.03%,净现比为65.00%。

营运能力方面,2023年,公司公司总资产周转率为0.41次,上年同期为0.40次(2022年行业平均值为0.40次,公司位居同行业33/62);固定资产周转率为6.34次,上年同期为6.83次(2022年行业平均值为8.88次,公司位居同行业27/62);公司应收账款周转率、存货周转率分别为2.26次、0.68次。

2023年,公司期间费用为2.06亿元,较上年同期增加1821.89万元;期间费用率为14.63%,较上年同期上升0.70个百分点。其中,销售费用同比增长13.48%,管理费用同比增长16.99%,研发费用同比下降3.19%,财务费用同比增长128.01%。

资产重大变化方面,截至2023年年末,公司预付款项较上年末减少48.66%,占公司总资产比重下降2.12个百分点;固定资产较上年末增加8.08%,占公司总资产比重上升0.99个百分点;货币资金较上年末减少14.68%,占公司总资产比重下降0.58个百分点;应收票据较上年末增加105.46%,占公司总资产比重上升0.45个百分点。

负债重大变化方面,截至2023年年末,公司合同负债较上年末减少28.73%,占公司总资产比重下降4.19个百分点;应付账款较上年末减少23.95%,占公司总资产比重下降3.49个百分点;应付票据较上年末减少42.14%,占公司总资产比重下降1.54个百分点;短期借款较上年末增加18.05%,占公司总资产比重上升1.57个百分点。

从存货变动来看,截至2023年年末,公司存货账面价值为15.75亿元,占净资产的87.89%,较上年末减少1.22亿元。其中,存货跌价准备为1906.55万元,计提比例为1.2%。

2023年全年,公司研发投入金额为8395.98万元,同比下降3.19%;研发投入占营业收入比例为5.96%,相比上年同期下降0.47个百分点。此外,公司全年研发投入资本化率为0。

年报称,公司持续加大研发投入,全年新增专利授权64项,新增软件著作权登记22项。

在偿债能力方面,公司2023年年末资产负债率为45.33%,相比上年末下降6.29个百分点;有息资产负债率为7.43%,相比上年末上升1.59个百分点。

2023年,公司流动比率为1.85,速动比率为0.73。

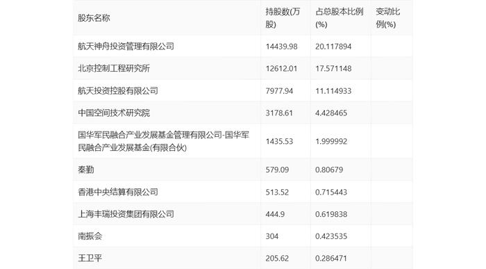
年报显示,2023年年末公司十大流通股东中,新进股东为王卫平,取代了三季度末的国华卫星数据科技有限公司。在具体持股比例上,香港中央结算有限公司持股有所上升,上海丰瑞投资集团有限公司、南振会持股有所下降。

筹码集中度方面,截至2023年年末,公司股东总户数为3.95万户,较三季度末增长了233户,增幅0.59%;户均持股市值由三季度末的19.51万元上升至21.72万元,增幅为11.33%。

指标注解:

市盈率

=总市值/净利润。当公司亏损时市盈率为负,此时用市盈率估值没有实际意义,往往用市净率或市销率做参考。

市净率

=总市值/净资产。市净率估值法多用于盈利波动较大而净资产相对稳定的公司。

市销率

=总市值/营业收入。市销率估值法通常用于亏损或微利的成长型公司。

文中市盈率和市销率采用TTM方式,即以截至最近一期财报(含预报)12个月的数据计算。市净率采用LF方式,即以最近一期财报数据计算。

市盈率为负时,不显示当期分位数,会导致折线图中断。

加载中...