新浪财经

德生科技:2023年净利润同比下降35.73% 拟10派0.5元

中证网

关注

中证智能财讯 德生科技(002908)4月20日披露2023年年报。2023年,公司实现营业总收入8.43亿元,同比下降6.94%;归母净利润7311.72万元,同比下降35.73%;扣非净利润7169.43万元,同比下降35.65%;经营活动产生的现金流量净额为1.85亿元,同比增长144.71%;报告期内,德生科技基本每股收益为0.1702元,加权平均净资产收益率为6.36%。公司2023年年度利润分配预案为:拟向全体股东每10股派0.5元(含税)。

以4月19日收盘价计算,德生科技目前市盈率(TTM)约为50.27倍,市净率(LF)约为3.13倍,市销率(TTM)约为4.36倍。

公司近年市盈率(TTM)、市净率(LF)、市销率(TTM)历史分位图如下所示:

数据统计显示,德生科技近三年营业总收入复合增长率为14.42%,在IT服务Ⅲ行业已披露2023年数据的52家公司中排名第15。近三年净利润复合年增长率为0.44%,排名24/52。

年报称,公司主营业务为面向社保民生领域,建设以城市为单位的居民服务一卡通服务、数字化公共就业服务、与民生数据产品服务体系,以互联网、大数据、AI等技术协助政府提高数字化治理水平。

分产品来看,2023年公司主营业务中,一卡通及AIOT应用收入5.77亿元,同比下降17.42%,占营业收入的68.44%;人社运营及大数据服务收入2.38亿元,同比增长44.15%,占营业收入的28.26%;传统社保卡及读写设备收入0.28亿元,同比下降33.68%,占营业收入的3.30%。

截至2023年末,公司员工总数为1298人,人均创收64.91万元,人均创利5.63万元,人均薪酬16.55万元,较上年同期分别变化-1.13%、-31.72%、6.64%。

2023年,公司毛利率为42.29%,同比下降3.03个百分点;净利率为9.97%,较上年同期下降3.58个百分点。从单季度指标来看,2023年第四季度公司毛利率为36.67%,同比下降14.33个百分点,环比下降5.25个百分点;净利率为9.17%,较上年同期下降9.85个百分点,较上一季度上升3.74个百分点。

分产品看,一卡通及AIOT应用、人社运营及大数据服务、传统社保卡及读写设备2023年毛利率分别为42.63%、42.10%、37.05%。

报告期内,公司前五大客户合计销售金额1.62亿元,占总销售金额比例为19.21%,公司前五名供应商合计采购金额1.21亿元,占年度采购总额比例为37.32%。

数据显示,2023年公司加权平均净资产收益率为6.36%,较上年同期下降4.60个百分点;公司2023年投入资本回报率为6.90%,较上年同期下降4.56个百分点。

2023年,公司经营活动现金流净额为1.85亿元,同比增长144.71%;筹资活动现金流净额-3449.66万元,同比减少1.00亿元;投资活动现金流净额-3674.22万元,上年同期为-1238.53万元。

进一步统计发现,2023年公司自由现金流为1.60亿元,相比上年同期增长108.26%。

2023年,公司营业收入现金比为117.34%,净现比为253.35%。

营运能力方面,2023年,公司公司总资产周转率为0.55次,上年同期为0.64次(2022年行业平均值为0.47次,公司位居同行业37/135);固定资产周转率为38.66次,上年同期为43.87次(2022年行业平均值为10.93次,公司位居同行业19/135);公司应收账款周转率、存货周转率分别为1.52次、4.27次。

2023年,公司期间费用为2.55亿元,较上年同期增加601.81万元;期间费用率为30.22%,较上年同期上升2.77个百分点。其中,销售费用同比增长3.81%,管理费用同比增长4.85%,研发费用同比增长0.47%,财务费用由去年同期的6.67万元变为-118.00万元。

资产重大变化方面,截至2023年年末,公司应收账款较上年末减少8.28%,占公司总资产比重下降5.47个百分点;货币资金较上年末增加27.83%,占公司总资产比重上升5.41个百分点;在建工程较上年末增加988.41%,占公司总资产比重上升2.13个百分点;存货较上年末减少19.21%,占公司总资产比重下降2.05个百分点。

负债重大变化方面,截至2023年年末,公司应付账款较上年末增加25.00%,占公司总资产比重上升1.37个百分点;租赁负债较上年末增加2378.02%,占公司总资产比重上升0.28个百分点;一年内到期的非流动负债较上年末减少43.76%,占公司总资产比重下降0.26个百分点;应交税费较上年末减少18.59%,占公司总资产比重下降0.29个百分点。

从存货变动来看,截至2023年年末,公司存货账面价值为1.02亿元,占净资产的8.66%,较上年末减少2419.34万元。其中,存货跌价准备为1518.57万元,计提比例为12.98%。

2023年全年,公司研发投入金额为8409.63万元,同比增长0.47%;研发投入占营业收入比例为9.98%,相比上年同期上升0.73个百分点。此外,公司全年研发投入资本化率为0。

在偿债能力方面,公司2023年年末资产负债率为24.24%,相比上年末上升1.18个百分点;有息资产负债率为1.33%,相比上年末上升0.79个百分点。

2023年,公司流动比率为3.13,速动比率为2.86。

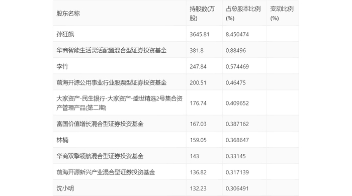
年报显示,2023年年末公司十大流通股东中,新进股东为前海开源公用事业行业股票型证券投资基金、富国价值增长混合型证券投资基金、林楠、华商双擎领航混合型证券投资基金、前海开源新兴产业混合型证券投资基金、沈小明,取代了三季度末的全国社保基金一一四组合、富国新兴产业股票型证券投资基金、华商新兴活力灵活配置混合型证券投资基金、华商新能源汽车混合型证券投资基金、华夏人寿保险股份有限公司-分红-个险分红、香港中央结算有限公司。在具体持股比例上,华商智能生活灵活配置混合型证券投资基金、大家资产-民生银行-大家资产-盛世精选2号集合资产管理产品(第二期)持股有所下降。

值得注意的是,根据年报数据,德生科技13.03%股份处于质押状态。其中,第一大股东虢晓彬质押5619.60万股公司股份,占其全部持股的35.83%。

筹码集中度方面,截至2023年年末,公司股东总户数为4.84万户,较三季度末增长了1.29万户,增幅36.35%;户均持股市值由三季度末的15.46万元下降至12.71万元,降幅为17.79%。

指标注解:

市盈率

=总市值/净利润。当公司亏损时市盈率为负,此时用市盈率估值没有实际意义,往往用市净率或市销率做参考。

市净率

=总市值/净资产。市净率估值法多用于盈利波动较大而净资产相对稳定的公司。

市销率

=总市值/营业收入。市销率估值法通常用于亏损或微利的成长型公司。

文中市盈率和市销率采用TTM方式,即以截至最近一期财报(含预报)12个月的数据计算。市净率采用LF方式,即以最近一期财报数据计算。

市盈率为负时,不显示当期分位数,会导致折线图中断。

加载中...