新浪财经

高新发展收购华鲲振宇生变,股价封死跌停,主力资金加速“出逃”

界面新闻

关注

界面新闻记者 | 郭净净

4月18日,高新发展(000628.SZ)竞价跌停,封单金额超8亿元。截至当日收盘,该股票未打开跌停板,当日成交额4.12亿元,主力资金净流出1.09亿元。

当日凌晨,该公司发布风险提示公告称,截至公告披露之日,标的公司四川华鲲振宇智能科技有限责任公司(简称“华鲲振宇”)所处行业受内外部环境影响,市场预期较高,公司未能与部分交易对方就本次交易作价达成一致意见,公司在发行股份购买资产的首次董事会决议公告后六个月内(2024年4月19日前)无法发出召开股东大会通知。“公司正在与交易对方就是否终止本次交易进行协商,本次交易预计很可能无法按照当前方案继续推进,是否变更方案或终止交易将根据相关规定于2024年4月19日公告。

高新发展证券部相关人士对界面新闻表示,公司将于2024年4月19日发布正式公告,“具体信息可以一切以公告为准,现在不方便透露相关情况”。

终止交易风险加大?

回顾起来,2023年10月18日,高新发展披露,拟通过发行股份及支付现金的方式购买成都高投电子信息产业集团有限公司(简称“高投电子集团”)、共青城华鲲振宇投资合伙企业、海南云辰合业科技合伙企业(2024年1月平潭云辰科技合伙企业已更名为“海南云辰合业科技合伙企业”)合计持有的四川华鲲振宇智能科技有限责任公司70%的股权,并募集配套资金。

本次交易中,交易对方高投电子集团为上市公司控股股东高投集团控制的企业,构成公司关联方。本次交易预计构成关联交易,构成重大资产重组,不构成重组上市。本次交易前后,上市公司控股股东均为高投集团,实际控制人均为高新区管委会。本次交易不会导致上市公司控制权发生变更。本次交易完成后,标的公司将成为上市公司控股子公司。

高新发展主要从事建筑业和功率半导体业务。建筑业是公司目前第一大收入及利润来源,目前还有智慧城市建设、运营及相关服务业务、厨柜等业务,但收入或利润体量均较小。2023年,该公司实现营业收入80.08亿元,同比增21.88%;归母净利润3.66亿元,同比增83.82%。公司拟向全体股东每10股派发现金红利1.52元(含税)。

高新发展称,通过收购华鲲振宇,公司将进一步丰富公司业务类型,有助于拓宽盈利来源,提高上市公司的核心竞争力,实现业务拓展和利润增长。

据介绍,华鲲振宇为算力产业企业,成立于2020年6月,主要提供基于数据中心、人工智能处理器的自主品牌计算、存储等系列产品的设计、研发、生产、销售及服务。据公开信息,2023年7月华为曾宣布同华鲲振宇等三家公司签约,携手深耕城市数字化;2023年9月,华鲲振宇出席华为全联接大会2023并称要携手鲲鹏+昇腾,打造中国算力底座,为国内大模型提供算力平台支撑。

财务数据显示,2021年、2022年及2023年前9月,公司分别实现营收10.86亿元、34.24亿元、39.49亿元,净利润1143.02万元、4340.97万元、4697.25万元。

华鲲振宇自主开发或采购芯片、主板、内存、硬盘等原材料,销售自主品牌计算、存储等系列产品,主要原材料及产品单价较高。公告显示,由于原材料价值较高,导致华鲲振宇盈利水平较低;根据未经审计的财务数据,2021年、2022年及2023年1-9月,华鲲振宇净利率分别为1.05%、1.27%及1.19%。

随着经营规模扩大,为满足日常生产经营需要,华鲲振宇需有足够的资金储备。因此,华鲲振宇存在较大规模的对外借款,并产生了较高的财务费用。截至2023年9月30日,标的公司对外借款金额约49亿元。华鲲振宇有息负债金额较高,截至2023年9月30日其有息负债余额约为49亿元,且流动比率小于1,可能存在短期偿债能力不足的风险。

经初步预估,标的公司华鲲振宇100%股权预估值不超过30亿元。按照标的公司100%股权预估值30亿元测算,对应静态市盈率为69.11,较标的公司截至2023年9月30日净资产增值1354.05%。

本次重组为非同一控制下的企业合并,合并成本超过取得的被购买方于购买日可辨认净资产公允价值的部分确认为商誉。截至2023年9月30日,标的公司净资产为20632.06万元。考虑交易作价预计较标的公司净资产将有较大增值,上市公司预计将新增较大金额商誉。如果标的公司未来的经营情况不及预期,则公司可能存在商誉减值风险,因此可能对公司经营业绩产生不利影响。

2024年2月18日,高新发展披露进展公告称,收到本次重大资产重组交易对方高投电子集团的通知,高投电子集团已参与竞价购买四川长虹电子控股集团有限公司持有的华鲲振宇22%股权,并受让了四川申万宏源长虹股权基金合伙企业持有的华鲲振宇3%股权,完成了全部交易价款的支付。高投电子集团此次收购的华鲲振宇25%股权不参与本次交易,上述收购事项不涉及对本次交易方案的调整,不会对本次交易造成影响。

股价近一个月累跌超40%

在收购华鲲振宇事项后,高新发展立马踩点“华为+算力”双重大热点概念,其股价便于2023年9月复牌后连续收获11个涨停板。据高新发展统计,截至4月18日公告披露之日,公司股票收盘价较本次重大资产重组事项停牌前收盘价已上涨239.50%。

3月18日,高新发展就披露,公司存在未在规定的6个月内发出召开股东大会的通知,导致需重新确定支付对价发行股份的定价基准日,从而存在交易各方无法就重新确定的发行股份的价格达成一致,导致交易终止的风险。

4月8日晚间,该公司再次发布风险提示公告称,上市公司已就是否继续推进事项与部分交易对方进行讨论,但尚未达成一致意见。此外,前期股价大幅上涨,如需重新锁价,存在交易各方无法就重新确定的发行股份价格达成一致,导致本次交易终止的风险。

4月18日,高新发展再次强调,由于本次交易预计将无法继续推进,可能导致公司股价下跌。实际上,进入2024年,该公司股价一度急速下落,近期这一表现尤甚。

东方财富Choice数据,3月18日至4月18日,高新发展这期间股价累计跌超40%,股价曾于3月19日爬升至95.7元/股高位。

近期主力资金、游资正在加速“出逃”。界面新闻根据东方财富Choice数据统计,3月18日至4月18日,高新发展获主力资金净流出累计34.2亿元。而2023年10月18日至2024年4月18日,该股票获主力资金累计净流出111.43亿元。

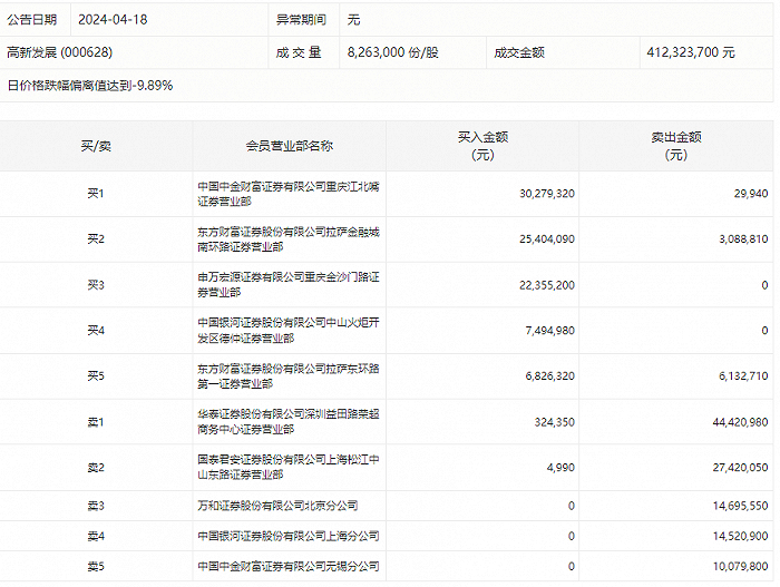
高新发展4月18日盘后龙虎榜显示,上榜营业部席位全天成交2.13亿元,占当日总成交金额比例为51.68%,合计净卖出2769.95万元。具体来看,华泰证券深圳益田路荣超商务中心证券营业部、国泰君安证券上海松江中山东路证券营业部分别卖出4442.10万元、2742.01万元;中国中金财富证券重庆江北嘴证券营业部、东方财富证券拉萨金融城南环路证券营业部分别买入3027.93万元、2540.41万元。

此前高新发展4月9日龙虎榜数据显示,深股通专用席位买入1亿元并卖出8506.58万元,一机构净买入5279.86万元,牛散葛卫东(国泰君安上海分公司)为卖一席位,净卖出1.89亿元。

3月28日,高新发展龙虎榜显示,机构合计净卖出2764.13万元,深股通专用账户合计净买入3128.71万元,知名游资上海溧阳路(中信证券上海溧阳路证券营业部)净卖出4816.89万元、章盟主(国泰君安上海江苏路证券营业部)累计净卖出3993.15万元。

加载中...