新浪财经

农发种业:2023年净利润1.27亿元 同比下降44.79%

中证网

关注

中证智能财讯 农发种业(600313)4月19日披露2023年年报。2023年,公司实现营业总收入67.61亿元,同比增长28.82%;归母净利润1.27亿元,同比下降44.79%;扣非净利润8510.12万元,同比增长69.91%;经营活动产生的现金流量净额为6.06亿元,同比增长2558.34%;报告期内,农发种业基本每股收益为0.1174元,加权平均净资产收益率为7.06%。

报告期内,公司合计非经常性损益为4191.25万元,其中计入当期损益的政府补助为5495.35万元。

以4月18日收盘价计算,农发种业目前市盈率(TTM)约为56.66倍,市净率(LF)约为3.86倍,市销率(TTM)约为1.06倍。

公司近年市盈率(TTM)、市净率(LF)、市销率(TTM)历史分位图如下所示:

数据统计显示,农发种业近三年营业总收入复合增长率为22.67%,在种子行业已披露2023年数据的5家公司中排名第3。近三年净利润复合年增长率为67.36%,排名1/5。

年报称,公司主要业务是农作物种子的研发、生产和销售,农药的生产销售,化肥贸易以及专有品种粮订单业务。

分产品来看,2023年公司主营业务中,化肥收入39.72亿元,占营业收入的58.75%;农产品收入23.38亿元,占营业收入的34.58%;农药收入4.09亿元,占营业收入的6.06%。

2023年,公司毛利率为8.44%,同比下降2.33个百分点;净利率为3.20%,较上年同期下降2.65个百分点。从单季度指标来看,2023年第四季度公司毛利率为10.42%,同比下降6.22个百分点,环比上升4.31个百分点;净利率为2.71%,较上年同期下降10.31个百分点,较上一季度下降0.18个百分点。

分产品看,化肥、农产品、农药2023年毛利率分别为2.12%、15.66%、24.35%。

报告期内,公司前五大客户合计销售金额28.25亿元,占总销售金额比例为41.79%,公司前五名供应商合计采购金额50.59亿元,占年度采购总额比例为81.72%。

数据显示,2023年公司加权平均净资产收益率为7.06%,较上年同期下降7.15个百分点;公司2023年投入资本回报率为7.49%,较上年同期下降4.03个百分点。

2023年,公司经营活动现金流净额为6.06亿元,同比增长2558.34%;筹资活动现金流净额3866.00万元,同比增加1.99亿元;投资活动现金流净额-2.66亿元,上年同期为3.23亿元。

进一步统计发现,2023年公司自由现金流为9849.35万元,相比上年同期下降67.29%。

2023年,公司营业收入现金比为152.83%,净现比为476.77%。

营运能力方面,2023年,公司公司总资产周转率为1.53次,上年同期为1.42次(2022年行业平均值为0.53次,公司位居同行业1/10);固定资产周转率为10.54次,上年同期为8.72次(2022年行业平均值为4.68次,公司位居同行业2/10);公司应收账款周转率、存货周转率分别为25.30次、7.73次。

2023年,公司期间费用为3.66亿元,较上年同期增加1824.47万元;但期间费用率为5.42%,较上年同期下降1.22个百分点。其中,销售费用同比增长28.23%,管理费用同比下降11.48%,研发费用同比增长32.14%,财务费用同比下降17.2%。

资产重大变化方面,截至2023年年末,公司交易性金融资产较上年末增加1110.13%,占公司总资产比重上升7.38个百分点;存货较上年末减少16.75%,占公司总资产比重下降6.77个百分点;货币资金较上年末增加47.10%,占公司总资产比重上升4.48个百分点;预付款项较上年末减少1.25%,占公司总资产比重下降2.12个百分点。

负债重大变化方面,截至2023年年末,公司长期应付款合计较上年末增加312.97%,占公司总资产比重上升4.23个百分点;合同负债较上年末增加22.95%,占公司总资产比重上升0.23个百分点;短期借款较上年末增加63.25%,占公司总资产比重上升1.19个百分点,主要系短期银行借款增加;其他流动负债较上年末减少37.60%,占公司总资产比重下降1.86个百分点。

从存货变动来看,截至2023年年末,公司存货账面价值为7.28亿元,占净资产的39.05%,较上年末减少1.46亿元。其中,存货跌价准备为4654.48万元,计提比例为6.01%。

2023年全年,公司研发投入金额为1.16亿元,同比增长27.83%;研发投入占营业收入比例为1.72%,相比上年同期下降0.01个百分点。此外,公司全年研发投入资本化率为20.34%。

资料显示,报告期公司获得植物新品种保护授权36项,发明专利授权2项,实用新型专利授权3项;获得2个软件著作权,发表2篇SCI文章。

在偿债能力方面,公司2023年年末资产负债率为40.47%,相比上年末上升4.96个百分点;有息资产负债率为6.68%,相比上年末上升1.73个百分点。

2023年,公司流动比率为2.38,速动比率为1.86。

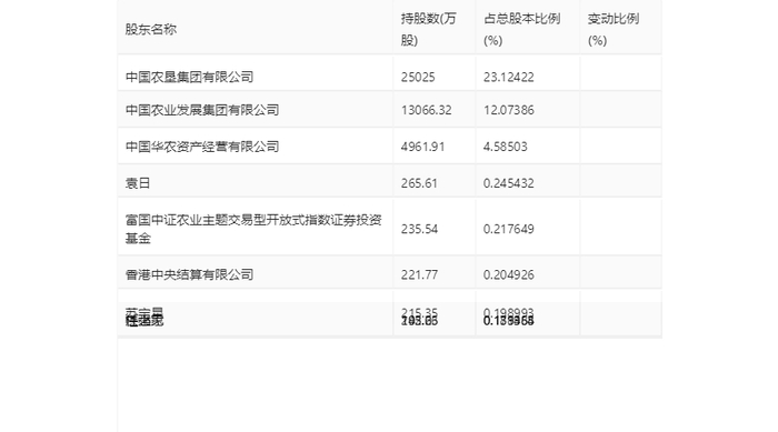
年报显示,2023年年末公司十大流通股东中,新进股东为香港中央结算有限公司、苏宝星、杜之家、任强,取代了三季度末的郭文江、中信证券股份有限公司、中国农业银行股份有限公司-银华内需精选混合型证券投资基金(LOF)、闵娅萍。在具体持股比例上,中国华农资产经营有限公司、袁日持股有所上升,富国中证农业主题交易型开放式指数证券投资基金、洪小见持股有所下降。

筹码集中度方面,截至2023年年末,公司股东总户数为14.61万户,较三季度末下降了4382户,降幅2.91%;户均持股市值由三季度末的5.93万元下降至5.52万元,降幅为6.91%。

指标注解:

市盈率

=总市值/净利润。当公司亏损时市盈率为负,此时用市盈率估值没有实际意义,往往用市净率或市销率做参考。

市净率

=总市值/净资产。市净率估值法多用于盈利波动较大而净资产相对稳定的公司。

市销率

=总市值/营业收入。市销率估值法通常用于亏损或微利的成长型公司。

文中市盈率和市销率采用TTM方式,即以截至最近一期财报(含预报)12个月的数据计算。市净率采用LF方式,即以最近一期财报数据计算。

市盈率为负时,不显示当期分位数,会导致折线图中断。

加载中...