新浪财经

汇洲智能:2023年净利润1.41亿元 同比增长65.43%

中证网

关注

中证智能财讯 汇洲智能(002122)4月19日披露2023年年报。2023年,公司实现营业总收入8.01亿元,同比增长14.05%;归母净利润1.41亿元,同比增长65.43%;扣非净利润3519.90万元,同比扭亏;经营活动产生的现金流量净额为-6815.96万元,上年同期为2568.15万元;报告期内,汇洲智能基本每股收益为0.0707元,加权平均净资产收益率为6.45%。

报告期内,公司合计非经常性损益为1.06亿元,其中单独进行减值测试的应收款项减值准备转回为8040.08万元。

以4月18日收盘价计算,汇洲智能目前市盈率(TTM)约为46.3倍,市净率(LF)约为2.87倍,市销率(TTM)约为8.13倍。

公司近年市盈率(TTM)、市净率(LF)、市销率(TTM)历史分位图如下所示:

数据统计显示,汇洲智能近三年营业总收入复合增长率为3.55%,在机床工具行业已披露2023年数据的11家公司中排名第10。近三年净利润复合年增长率为-4.17%,排名9/11。

资料显示,报告期内,公司从事高端装备制造业务的主要经营主体为控股子公司齐重数控。

分产品来看,2023年公司主营业务中,机床收入7.19亿元,同比增长18.02%,占营业收入的89.68%;图书收入0.51亿元,同比下降10.88%,占营业收入的6.36%;技术服务收入0.28亿元,同比下降9.41%,占营业收入的3.44%。

截至2023年末,公司员工总数为1685人,人均创收47.56万元,人均创利8.36万元,人均薪酬13.97万元,较上年同期分别增长5.32%、52.77%、4.69%。

2023年,公司毛利率为20.37%,同比下降2.27个百分点;净利率为18.91%,较上年同期上升9.86个百分点。从单季度指标来看,2023年第四季度公司毛利率为23.58%,同比上升11.09个百分点,环比上升5.14个百分点;净利率为5.61%,较上年同期下降290.02个百分点,较上一季度下降10.79个百分点。

分产品看,机床、图书、技术服务2023年毛利率分别为20.07%、22.48%、24.10%。

报告期内,公司前五大客户合计销售金额2.08亿元,占总销售金额比例为25.95%,公司前五名供应商合计采购金额1.23亿元,占年度采购总额比例为22.41%。

数据显示,2023年公司加权平均净资产收益率为6.45%,较上年同期下降4.65个百分点;公司2023年投入资本回报率为6.13%,较上年同期增长2.52个百分点。

2023年,公司经营活动现金流净额为-6815.96万元,同比减少9384.12万元;筹资活动现金流净额-4591.74万元,同比减少1.32亿元;投资活动现金流净额3.11亿元,上年同期为-1.33亿元。

进一步统计发现,2023年公司自由现金流为4.16亿元,上年同期为-18.54亿元。

2023年,公司营业收入现金比为68.83%,净现比为-48.41%。

营运能力方面,2023年,公司公司总资产周转率为0.22次,上年同期为0.18次(2022年行业平均值为0.42次,公司位居同行业18/19);固定资产周转率为2.63次,上年同期为2.27次(2022年行业平均值为3.11次,公司位居同行业10/19);公司应收账款周转率、存货周转率分别为6.94次、0.87次。

2023年,公司期间费用为2.13亿元,较上年同期减少4047.29万元;期间费用率为26.59%,较上年同期下降9.50个百分点。其中,销售费用同比增长18.33%,管理费用同比下降11.49%,研发费用同比下降18.02%,财务费用由去年同期的1875.56万元变为-12.56万元。

资产重大变化方面,截至2023年年末,公司交易性金融资产较上年末减少76.87%,占公司总资产比重下降9.27个百分点;货币资金较上年末增加55.97%,占公司总资产比重上升4.58个百分点;应收票据较上年末增加2735.18%,占公司总资产比重上升3.72个百分点;存货较上年末增加21.57%,占公司总资产比重上升2.74个百分点。

负债重大变化方面,截至2023年年末,公司其他流动负债较上年末增加486.43%,占公司总资产比重上升3.08个百分点;应付账款较上年末增加29.47%,占公司总资产比重上升1.70个百分点;其他应付款(含利息和股利)较上年末减少38.83%,占公司总资产比重下降1.44个百分点;短期借款较上年末减少35.78%,占公司总资产比重下降1.22个百分点。

从存货变动来看,截至2023年年末,公司存货账面价值为8.03亿元,占净资产的35.39%,较上年末增加1.42亿元。其中,存货跌价准备为1.19亿元,计提比例为12.95%。

2023年全年,公司研发投入金额为5272.33万元,同比下降18.62%;研发投入占营业收入比例为6.58%,相比上年同期下降2.64个百分点。此外,公司全年研发投入资本化率为23.57%。

在偿债能力方面,公司2023年年末资产负债率为34.64%,相比上年末上升0.04个百分点;有息资产负债率为1.99%,相比上年末下降1.19个百分点。

2023年,公司流动比率为1.46,速动比率为0.83。

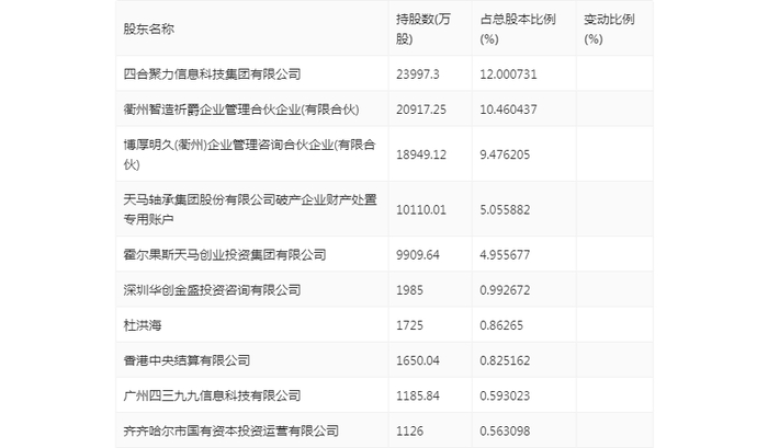
年报显示,2023年年末公司十大流通股东中,新进股东为香港中央结算有限公司、广州四三九九信息科技有限公司、齐齐哈尔市国有资本投资运营有限公司,取代了三季度末的喀什星河创业投资有限公司、恒天融泽资产管理有限公司-恒天融泽嘉星三号私募投资基金、恒天融泽资产管理有限公司-恒天融泽嘉星五号私募投资基金。在具体持股比例上,杜洪海持股有所上升,四合聚力信息科技集团有限公司、衢州智造祈爵企业管理合伙企业(有限合伙)、博厚明久(衢州)企业管理咨询合伙企业(有限合伙)、天马轴承集团股份有限公司破产企业财产处置专用账户、霍尔果斯天马创业投资集团有限公司、深圳华创金盛投资咨询有限公司持股有所下降。

筹码集中度方面,截至2023年年末,公司股东总户数为10.05万户,较三季度末增长了1.27万户,增幅14.51%;户均持股市值由三季度末的7.95万元上升至8.30万元,增幅为4.40%。

指标注解:

市盈率

=总市值/净利润。当公司亏损时市盈率为负,此时用市盈率估值没有实际意义,往往用市净率或市销率做参考。

市净率

=总市值/净资产。市净率估值法多用于盈利波动较大而净资产相对稳定的公司。

市销率

=总市值/营业收入。市销率估值法通常用于亏损或微利的成长型公司。

文中市盈率和市销率采用TTM方式,即以截至最近一期财报(含预报)12个月的数据计算。市净率采用LF方式,即以最近一期财报数据计算。

市盈率为负时,不显示当期分位数,会导致折线图中断。

加载中...