深桑达A:2023年盈利3.3亿元 拟10派1.1元
中证网
中证智能财讯 深桑达A(000032)4月18日披露2023年年报。2023年,公司实现营业总收入562.84亿元,同比增长10.25%;归母净利润3.30亿元,同比扭亏;扣非净利润6858.30万元,同比扭亏;经营活动产生的现金流量净额为6.55亿元,上年同期为-2.47亿元;报告期内,深桑达A基本每股收益为0.2897元,加权平均净资产收益率为5.29%。公司2023年年度利润分配预案为:拟向全体股东每10股派1.1元(含税)。
报告期内,公司合计非经常性损益为2.61亿元,其中计入当期损益的政府补助为7109.57万元。
以4月17日收盘价计算,深桑达A目前市盈率(TTM)约为57.06倍,市净率(LF)约为2.9倍,市销率(TTM)约为0.33倍。
公司近年市盈率(TTM)、市净率(LF)、市销率(TTM)历史分位图如下所示:
数据统计显示,深桑达A近三年营业总收入复合增长率为20.64%,在其他专业工程行业已披露2023年数据的10家公司中排名第4。近三年净利润复合年增长率为15.54%,排名4/10。
分产品来看,2023年公司主营业务中,高科技产业工程服务收入517.57亿元,同比增长13.10%,占营业收入的91.96%;数字与信息服务收入22.15亿元,同比下降16.25%,占营业收入的3.93%;数字供热与新能源服务收入19.74亿元,同比下降0.89%,占营业收入的3.51%。
2023年,公司毛利率为11.28%,同比下降0.13个百分点;净利率为1.55%,较上年同期上升0.14个百分点。从单季度指标来看,2023年第四季度公司毛利率为12.38%,同比下降0.99个百分点,环比上升1.33个百分点;净利率为4.72%,较上年同期上升0.62个百分点,较上一季度上升5.30个百分点。
分产品看,高科技产业工程服务、数字与信息服务、数字供热与新能源服务2023年毛利率分别为10.11%、31.64%、15.32%。
报告期内,公司前五大客户合计销售金额82.81亿元,占总销售金额比例为14.71%,公司前五名供应商合计采购金额36.67亿元,占年度采购总额比例为6.15%。
数据显示,2023年公司加权平均净资产收益率为5.29%,较上年同期增长7.98个百分点;公司2023年投入资本回报率为5.19%,较上年同期增长0.32个百分点。
2023年,公司经营活动现金流净额为6.55亿元,同比增加9.02亿元;筹资活动现金流净额1.91亿元,同比减少18.84亿元;投资活动现金流净额-4.26亿元,上年同期为-14.55亿元。
进一步统计发现,2023年公司自由现金流为8.06亿元,上年同期为-4.06亿元。
2023年,公司营业收入现金比为100.56%,净现比为198.79%。
2023年,公司期间费用为48.73亿元,同比增长2.95亿元;但期间费用率为8.66%,同比下降0.31个百分点。其中,销售费用同比增长5.4%,管理费用同比下降4.59%,研发费用同比增长20.19%,财务费用同比增长6.41%。
资产重大变化方面,截至2023年年末,公司合同资产较上年末减少0.69%,占公司总资产比重下降2.37个百分点;预付款项较上年末增加70.22%,占公司总资产比重上升1.95个百分点;存货较上年末减少17.83%,占公司总资产比重下降0.50个百分点;其他流动资产较上年末增加44.78%,占公司总资产比重上升0.50个百分点。
负债重大变化方面,截至2023年年末,公司应付账款较上年末增加7.00%,占公司总资产比重上升0.01个百分点;应付票据较上年末增加12.05%,占公司总资产比重上升0.50个百分点;短期借款较上年末减少25.75%,占公司总资产比重下降1.07个百分点;其他应付款(含利息和股利)较上年末增加72.90%,占公司总资产比重上升0.75个百分点。
从存货变动来看,截至2023年年末,公司存货账面价值为9.23亿元,占净资产的14.23%,较上年末减少2.0亿元。其中,存货跌价准备为2365.73万元,计提比例为2.5%。
2023年全年,公司研发投入金额为18.55亿元,同比增长20.81%;研发投入占营业收入比例为3.30%,相比上年同期上升0.29个百分点。此外,公司全年研发投入资本化率为1.05%。
在偿债能力方面,公司2023年年末资产负债率为78.99%,相比上年末下降1.84个百分点;有息资产负债率为16.51%,相比上年末下降0.94个百分点。
2023年,公司流动比率为1.23,速动比率为1.20。
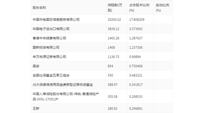
年报显示,2023年年末公司十大流通股东中,新进股东为吴安、中国人寿保险股份有限公司-传统-普通保险产品-005L-CT001沪、王新,取代了三季度末的诺安积极回报灵活配置混合型证券投资基金、基本养老保险基金一二零二组合、广发中证基建工程交易型开放式指数证券投资基金。在具体持股比例上,国新投资有限公司、申万宏源证券有限公司持股有所上升,香港中央结算有限公司、光大保德信信用添益债券型证券投资基金持股有所下降。
筹码集中度方面,截至2023年年末,公司股东总户数为7.5万户,较三季度末增长了2.7万户,增幅56.23%;户均持股市值由三季度末的53.04万元下降至32.13万元,降幅为39.42%。
指标注解:
市盈率
=总市值/净利润。当公司亏损时市盈率为负,此时用市盈率估值没有实际意义,往往用市净率或市销率做参考。
市净率
=总市值/净资产。市净率估值法多用于盈利波动较大而净资产相对稳定的公司。
市销率
=总市值/营业收入。市销率估值法通常用于亏损或微利的成长型公司。
文中市盈率和市销率采用TTM方式,即以截至最近一期财报(含预报)12个月的数据计算。市净率采用LF方式,即以最近一期财报数据计算。
市盈率为负时,不显示当期分位数,会导致折线图中断。