新浪财经

500万元,赵薇名下股权再遭冻结!

每日经济新闻

关注

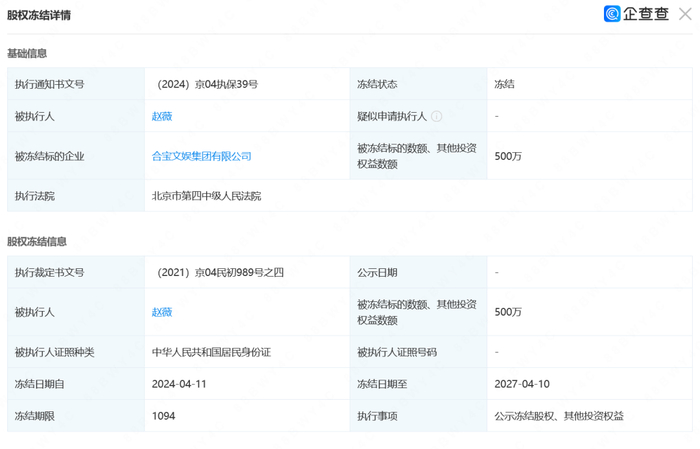
企查查显示,4月11日,赵薇名下部分所持股权被冻结,冻结股权标的企业为合宝文娱集团有限公司,冻结日期至2027年4月10日,执行法院为北京市第四中级人民法院,被冻结股权金额为500万元人民币。

公开资料显示,合宝文娱集团有限公司成立于2015年1月,注册资本11084.24万元人民币,法定代表人为赵智。经营范围包括:广播电视节目制作经营;电影发行;演出经纪;专业设计服务;广告设计、代理;广告发布(非广播电台、电视台、报刊出版单位)等。

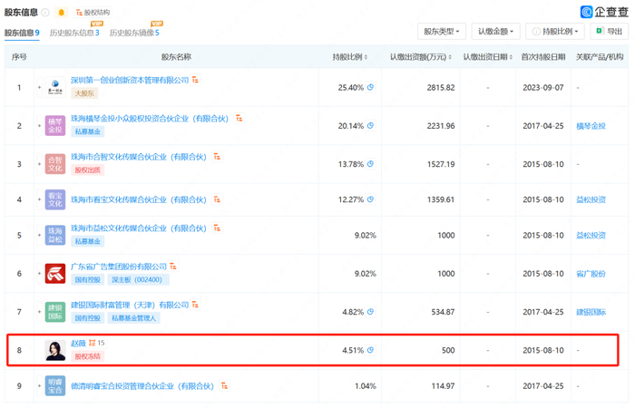
股东信息显示,赵薇持有该公司股份比例为4.51%,首次持股日期为2015年8月10日。

事实上,这并非赵薇名下股权首次被冻结。早在2021年4月,赵薇名下的多笔股权就已经陆续被冻结,涉及的企业包括芜湖东润发投资有限责任公司等,合计冻结金额超过千万元,冻结期限将持续至2024年4月末。

2018年,赵薇及其关联公司曾遭到中国证监会的严厉处罚。当年4月11日,证监会发布了《行政处罚决定书》及《市场禁入决定书》,对万家文化、龙薇传媒责令改正,给予警告,并分别处以60万元罚款;对孔德永、黄有龙、赵薇、赵政给予警告,并分别处以30万元罚款,对黄有龙、赵薇、孔德永分别采取5年证券市场禁入措施。

赵薇的商业版图在近年来不断缩水。据中国基金报,早年,赵薇曾担任超15家公司的股东,涉及合宝文娱集团有限公司、芜湖东润发投资有限责任公司、北京普林赛斯文化传播有限责任公司等,遍布影视、文娱、投资、科技、房地产等行业。

企查查APP显示,赵薇当前担任3家公司的法定代表人,其中仅赵赵(上海)影视文化工作室一家存续,其余两家分别为吊销、注销状态。

编辑|孙志成 杜恒峰

加载中...