新浪财经

保变电气:2023年亏损2.06亿元 扣非近13年仅两年盈利

东方财富官微

关注

中证智能财讯保变电气(600550)4月16日披露2023年年报。2023年,公司实现营业总收入34.62亿元,同比增长0.48%;归母净利润亏损2.06亿元,上年同期盈利2951.26万元;扣非净利润亏损2.22亿元,上年同期亏损709.39万元;经营活动产生的现金流量净额为6.31亿元,上年同期为-3.72亿元;报告期内,保变电气基本每股收益为-0.112元,加权平均净资产收益率为-32.92%。

值得注意的是,公司扣非净利在过去的13年间,仅2016年、2021年分别盈利539.87万元、1948.23万元,其他11年均为亏损状态。

以4月15日收盘价计算,保变电气目前市盈率(TTM)约为-36.33倍,市净率(LF)约为14.74倍,市销率(TTM)约为2.16倍。

公司近年市盈率(TTM)、市净率(LF)、市销率(TTM)历史分位图如下所示:

数据统计显示,保变电气近三年营业总收入复合增长率为-5.36%,在输变电设备行业已披露2023年数据的13家公司中排名第13。近三年净利润复合年增长率为-313.57%,排名13/13。

年报称,公司主营输变电装备业务,主要从事变压器及配件的制造与销售。

分产品来看,2023年公司主营业务中,输变电产品收入33.89亿元,同比增长1.51%,占营业收入的97.89%。

截至2023年末,公司员工总数为3794人,人均创收91.25万元,人均创利-5.42万元,人均薪酬15.52万元,较上年同期分别变化2.89%、-814.09%、13.30%。

2023年,公司毛利率为13.77%,同比下降6.24个百分点;净利率为-5.45%,较上年同期下降6.85个百分点。从单季度指标来看,2023年第四季度公司毛利率为5.02%,同比下降13.00个百分点,环比下降14.47个百分点;净利率为-8.84%,较上年同期下降11.29个百分点,较上一季度下降5.42个百分点。

报告期内,公司前五大客户合计销售金额8.22亿元,占总销售金额比例为23.76%,公司前五名供应商合计采购金额11.22亿元,占年度采购总额比例为27.06%。

数据显示,2023年公司加权平均净资产收益率为-32.92%,较上年同期下降36.97个百分点;公司2023年投入资本回报率为-1.97%,较上年同期下降5.77个百分点。

2023年,公司经营活动现金流净额为6.31亿元,同比增加10.02亿元;筹资活动现金流净额-2.47亿元,同比减少6558.24万元;投资活动现金流净额-6176.38万元,上年同期为-4299.44万元。

进一步统计发现,2023年公司自由现金流为5.11亿元,上年同期为-4.96亿元。

2023年,公司营业收入现金比为145.91%,净现比为-306.42%。

营运能力方面,2023年,公司公司总资产周转率为0.59次,上年同期为0.62次(2022年行业平均值为0.60次,公司位居同行业16/31);固定资产周转率为3.45次,上年同期为3.23次(2022年行业平均值为4.87次,公司位居同行业21/31);公司应收账款周转率、存货周转率分别为1.96次、3.38次。

2023年,公司期间费用为5.72亿元,较上年同期减少3957.95万元;期间费用率为16.51%,较上年同期下降1.23个百分点。其中,销售费用同比增长34.25%,管理费用同比增长16.58%,研发费用同比下降58.7%,财务费用同比增长7.49%。

资产重大变化方面,截至2023年年末,公司应收账款较上年末减少0.63%,占公司总资产比重下降4.61个百分点;存货较上年末增加56.53%,占公司总资产比重上升4.48个百分点;货币资金较上年末增加55.69%,占公司总资产比重上升3.70个百分点;固定资产较上年末减少5.40%,占公司总资产比重下降3.46个百分点。

负债重大变化方面,截至2023年年末,公司合同负债较上年末增加399.79%,占公司总资产比重上升13.86个百分点;其他流动负债较上年末增加310.20%,占公司总资产比重上升3.52个百分点;一年内到期的非流动负债较上年末增加9416.25%,占公司总资产比重上升1.61个百分点;长期借款较上年末减少10.15%,占公司总资产比重下降4.08个百分点。

从存货变动来看,截至2023年年末,公司存货账面价值为10.77亿元,占净资产的212.44%,较上年末增加3.89亿元。其中,存货跌价准备为1.38亿元,计提比例为11.37%。

2023年全年,公司研发投入金额为1.58亿元,同比下降31.03%;研发投入占营业收入比例为4.56%,相比上年同期下降2.08个百分点。此外,公司全年研发投入资本化率为0。

在偿债能力方面,公司2023年年末资产负债率为90.52%,相比上年末上升6.36个百分点;有息资产负债率为34.21%,相比上年末下降6.00个百分点。

2023年,公司流动比率为0.98,速动比率为0.76。

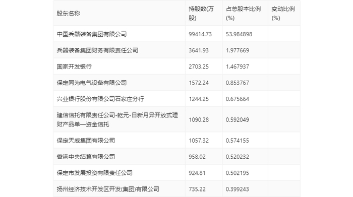
年报显示,2023年年末公司十大流通股东中,新进股东为保定同为电气设备有限公司、香港中央结算有限公司,取代了三季度末的保定天威投资管理有限公司、平安资管-工商银行-平安资产鑫享27号资产管理产品。

筹码集中度方面,截至2023年年末,公司股东总户数为8.68万户,较三季度末增长了500户,增幅0.58%;户均持股市值由三季度末的10.06万元上升至10.36万元,增幅为2.98%。

指标注解:

市盈率

=总市值/净利润。当公司亏损时市盈率为负,此时用市盈率估值没有实际意义,往往用市净率或市销率做参考。

市净率

=总市值/净资产。市净率估值法多用于盈利波动较大而净资产相对稳定的公司。

市销率

=总市值/营业收入。市销率估值法通常用于亏损或微利的成长型公司。

文中市盈率和市销率采用TTM方式,即以截至最近一期财报(含预报)12个月的数据计算。市净率采用LF方式,即以最近一期财报数据计算。

市盈率为负时,不显示当期分位数,会导致折线图中断。

(文章来源:中国证券报·中证网)

加载中...