新浪财经

大华股份:2023年净利73.62亿元 同比增长216.73% 拟10派3.82元

中证网

关注

中证智能财讯 大华股份(002236)4月16日披露2023年年报。2023年,公司实现营业总收入322.18亿元,同比增长5.41%;归母净利润73.62亿元,同比增长216.73%;扣非净利润29.62亿元,同比增长87.39%;经营活动产生的现金流量净额为45.99亿元,同比增长336.49%;报告期内,大华股份基本每股收益为2.31元,加权平均净资产收益率为22.43%。公司2023年年度利润分配预案为:拟向全体股东每10股派3.82元(含税)。

报告期内,公司合计非经常性损益为44.00亿元,其中非流动性资产处置损益为47.79亿元。

以4月15日收盘价计算,大华股份目前市盈率(TTM)约为8.33倍,市净率(LF)约为1.77倍,市销率(TTM)约为1.9倍。

公司近年市盈率(TTM)、市净率(LF)、市销率(TTM)历史分位图如下所示:

数据统计显示,大华股份近三年营业总收入复合增长率为6.78%,在安防设备行业已披露2023年数据的5家公司中排名第4。近三年净利润复合年增长率为23.56%,排名2/5。

分产品来看,2023年公司主营业务中,智慧物联产品及方案收入266.45亿元,同比增长5.79%,占营业收入的82.70%;创新业务收入49.07亿元,同比增长19.20%,占营业收入的15.23%。

截至2023年末,公司员工总数为23452人,人均创收137.38万元,人均创利31.39万元,人均薪酬30.06万元,较上年同期分别变化6.01%、218.55%、-4.95%。

2023年,公司毛利率为42.04%,同比上升4.17个百分点;净利率为23.20%,较上年同期上升15.80个百分点。从单季度指标来看,2023年第四季度公司毛利率为40.66%,同比上升2.01个百分点,环比下降1.61个百分点;净利率为47.98%,较上年同期上升42.06个百分点,较上一季度上升39.27个百分点。

分产品看,智慧物联产品及方案、创新业务2023年毛利率分别为43.98%、35.41%。

报告期内,公司前五大客户合计销售金额35.25亿元,占总销售金额比例为10.94%,公司前五名供应商合计采购金额28.05亿元,占年度采购总额比例为16.00%。

数据显示,2023年公司加权平均净资产收益率为22.43%,较上年同期增长12.94个百分点;公司2023年投入资本回报率为21.43%,较上年同期增长13.70个百分点。

2023年,公司经营活动现金流净额为45.99亿元,同比增长336.49%;筹资活动现金流净额16.53亿元,同比增加19.97亿元;投资活动现金流净额17.26亿元,上年同期为-6.0亿元。

进一步统计发现,2023年公司自由现金流为66.79亿元,相比上年同期增长1262.56%。

2023年,公司营业收入现金比为115.46%,净现比为62.47%。

营运能力方面,2023年,公司公司总资产周转率为0.65次,上年同期为0.68次(2022年行业平均值为0.44次,公司位居同行业6/25);固定资产周转率为6.73次,上年同期为8.95次(2022年行业平均值为8.85次,公司位居同行业11/25);公司应收账款周转率、存货周转率分别为2.03次、2.95次。

2023年,公司期间费用为101.08亿元,较上年同期增加4.77亿元;但期间费用率为31.37%,较上年同期下降0.14个百分点。其中,销售费用同比增长3.47%,管理费用同比增长9.92%,研发费用同比增长2.17%,财务费用由去年同期的-5.11亿元变为-4.09亿元。

资产重大变化方面,截至2023年年末,公司货币资金较上年末增加98.89%,占公司总资产比重上升12.84个百分点;存货较上年末减少27.10%,占公司总资产比重下降5.74个百分点;应收账款较上年末增加5.61%,占公司总资产比重下降2.54个百分点;长期股权投资较上年末减少50.21%,占公司总资产比重下降1.78个百分点。

负债重大变化方面,截至2023年年末,公司一年内到期的非流动负债较上年末减少64.75%,占公司总资产比重下降3.82个百分点;应付账款较上年末减少20.78%,占公司总资产比重下降4.87个百分点;应付票据较上年末减少24.47%,占公司总资产比重下降3.21个百分点;应交税费较上年末增加280.41%,占公司总资产比重上升1.64个百分点。

从存货变动来看,截至2023年年末,公司存货账面价值为53.33亿元,占净资产的15.36%,较上年末减少19.83亿元。其中,存货跌价准备为1.82亿元,计提比例为3.3%。

2023年全年,公司研发投入金额为39.67亿元,同比增长2.17%;研发投入占营业收入比例为12.31%,相比上年同期下降0.39个百分点。此外,公司全年研发投入资本化率为0。

在偿债能力方面,公司2023年年末资产负债率为32.14%,相比上年末下降11.18个百分点;有息资产负债率为3.52%,相比上年末下降3.55个百分点。

2023年,公司流动比率为2.52,速动比率为2.19。

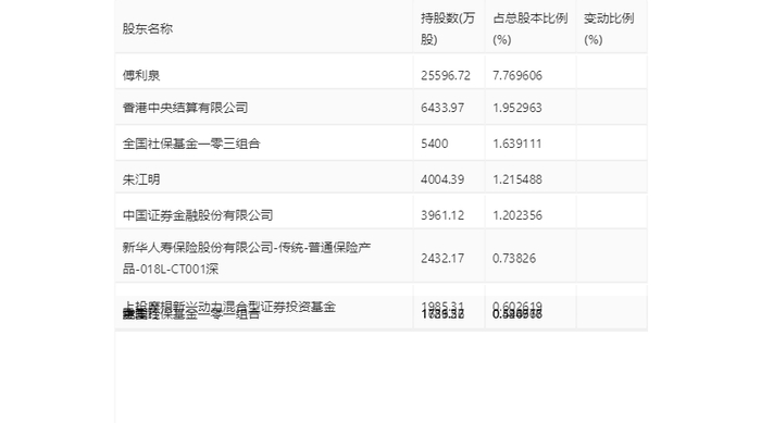
年报显示,2023年末的公司十大流通股东中,新进股东为吴军、全国社保基金一零一组合,取代了三季度末的前海开源公用事业行业股票型证券投资基金、中国银河证券股份有限公司。在具体持股比例上,全国社保基金一零三组合持股有所上升,香港中央结算有限公司、新华人寿保险股份有限公司-传统-普通保险产品-018L-CT001深、上投摩根新兴动力混合型证券投资基金持股有所下降。

筹码集中度方面,截至2023年年末,公司股东总户数为14.19万户,较三季度末增长了7810户,增幅5.82%;户均持股市值由三季度末的54.70万元下降至42.82万元,降幅为21.72%。

指标注解:

市盈率

=总市值/净利润。当公司亏损时市盈率为负,此时用市盈率估值没有实际意义,往往用市净率或市销率做参考。

市净率

=总市值/净资产。市净率估值法多用于盈利波动较大而净资产相对稳定的公司。

市销率

=总市值/营业收入。市销率估值法通常用于亏损或微利的成长型公司。

文中市盈率和市销率采用TTM方式,即以截至最近一期财报(含预报)12个月的数据计算。市净率采用LF方式,即以最近一期财报数据计算。

市盈率为负时,不显示当期分位数,会导致折线图中断。

加载中...