新浪财经

国芳集团:2023年净利润同比增长32.88% 拟10派1.8元

中证网

关注

中证智能财讯 国芳集团(601086)4月13日披露2023年年报。2023年,公司实现营业总收入9.70亿元,同比增长28.58%;归母净利润1.58亿元,同比增长32.88%;扣非净利润1.15亿元,同比增长215.43%;经营活动产生的现金流量净额为4.51亿元,同比增长243.13%;报告期内,国芳集团基本每股收益为0.24元,加权平均净资产收益率为10.10%。公司2023年年度利润分配预案为:拟向全体股东每10股派1.8元(含税)。

以4月12日收盘价计算,国芳集团目前市盈率(TTM)约为23.73倍,市净率(LF)约为2.28倍,市销率(TTM)约为3.86倍。

公司近年市盈率(TTM)、市净率(LF)、市销率(TTM)历史分位图如下所示:

数据统计显示,国芳集团近三年营业总收入复合增长率为-1.72%,在百货行业已披露2023年数据的13家公司中排名第7。近三年净利润复合年增长率为16.09%,排名3/13。

年报称,公司从事以百货业为主,超市、电器为辅的连锁零售业务,目前为甘肃省内最大的连锁零售企业。

分产品来看,2023年公司主营业务中,百货收入7.32亿元,同比增长36.65%,占营业收入的75.48%;超市收入1.49亿元,同比增长4.61%,占营业收入的15.32%;房地产租赁收入0.04亿元,占营业收入的0.43%。

截至2023年末,公司员工总数为868人,人均创收111.71万元,人均创利18.18万元,人均薪酬8.05万元,较上年同期分别增长48.72%、53.70%、10.07%。

2023年,公司毛利率为48.31%,同比上升5.09个百分点;净利率为16.27%,较上年同期上升0.53个百分点。从单季度指标来看,2023年第四季度公司毛利率为52.82%,同比上升11.08个百分点,环比上升5.87个百分点;净利率为12.67%,较上年同期下降44.62个百分点,较上一季度上升8.16个百分点。

分产品看,百货、超市、房地产租赁2023年毛利率分别为46.80%、27.83%、-11.96%。

报告期内,公司前五大客户合计销售金额0.06亿元,占总销售金额比例为0.65%,公司前五名供应商合计采购金额3.75亿元,占年度采购总额比例为27.20%。

数据显示,2023年公司加权平均净资产收益率为10.10%,较上年同期增长2.68个百分点;公司2023年投入资本回报率为8.08%,较上年同期增长1.90个百分点。

2023年,公司经营活动现金流净额为4.51亿元,同比增长243.13%;筹资活动现金流净额-1.13亿元,同比减少175.04万元;投资活动现金流净额6015.57万元,上年同期为-4884.17万元。

进一步统计发现,2023年公司自由现金流为4.99亿元,相比上年同期增长5656.86%。

2023年,公司营业收入现金比为290.66%,净现比为286.13%。

营运能力方面,2023年,公司公司总资产周转率为0.37次,上年同期为0.31次(2022年行业平均值为0.23次,公司位居同行业7/23);固定资产周转率为1.73次,上年同期为1.27次(2022年行业平均值为1.39次,公司位居同行业10/23);公司应收账款周转率、存货周转率分别为104.23次、4.11次。

2023年,公司期间费用为2.73亿元,较上年同期增加2549.92万元;但期间费用率为28.11%,较上年同期下降4.65个百分点。其中,销售费用同比增长15.53%,管理费用同比增长9.03%,财务费用同比下降83.36%。

资产重大变化方面,截至2023年年末,公司货币资金较上年末增加110.98%,占公司总资产比重上升13.36个百分点;固定资产较上年末减少5.55%,占公司总资产比重下降3.02个百分点;使用权资产较上年末减少12.41%,占公司总资产比重下降2.06个百分点;投资性房地产较上年末减少7.85%,占公司总资产比重下降1.87个百分点。

负债重大变化方面,截至2023年年末,公司应付账款较上年末增加56.64%,占公司总资产比重上升2.94个百分点;合同负债较上年末增加20.66%,占公司总资产比重上升1.03个百分点;租赁负债较上年末减少10.82%,占公司总资产比重下降1.64个百分点;应交税费较上年末增加259.01%,占公司总资产比重上升0.86个百分点。

从存货变动来看,截至2023年年末,公司存货账面价值为1.14亿元,占净资产的6.91%,较上年末减少1671.47万元。根据财报,公司本期没有计提存货跌价准备。

在偿债能力方面,公司2023年年末资产负债率为40.08%,相比上年末上升1.40个百分点;有息资产负债率为1.24%,相比上年末下降0.26个百分点。

2023年,公司流动比率为1.56,速动比率为1.41。

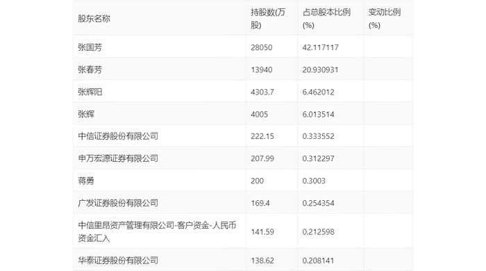
年报显示,2023年年末公司十大流通股东中,新进股东为申万宏源证券有限公司、广发证券股份有限公司、中信里昂资产管理有限公司-客户资金-人民币资金汇入,取代了三季度末的MORGAN STANLEY & CO. INTERNATIONAL PLC.、高盛公司有限责任公司、光大证券股份有限公司。在具体持股比例上,中信证券股份有限公司、华泰证券股份有限公司持股有所下降。

值得注意的是,根据年报数据,国芳集团12.63%股份处于质押状态。其中,第二大股东张春芳质押3012.00万股公司股份,占其全部持股的21.61%。

筹码集中度方面,截至2023年年末,公司股东总户数为2.84万户,较三季度末下降了4910户,降幅14.72%;户均持股市值由三季度末的11.26万元上升至12.32万元,增幅为9.41%。

指标注解:

市盈率

=总市值/净利润。当公司亏损时市盈率为负,此时用市盈率估值没有实际意义,往往用市净率或市销率做参考。

市净率

=总市值/净资产。市净率估值法多用于盈利波动较大而净资产相对稳定的公司。

市销率

=总市值/营业收入。市销率估值法通常用于亏损或微利的成长型公司。

文中市盈率和市销率采用TTM方式,即以截至最近一期财报(含预报)12个月的数据计算。市净率采用LF方式,即以最近一期财报数据计算。

市盈率为负时,不显示当期分位数,会导致折线图中断。

加载中...