新浪财经

东材科技:2023年净利润同比下降20.78% 拟10派1.5元

中证网

关注

中证智能财讯 东材科技(601208)4月13日披露2023年年报。2023年,公司实现营业总收入37.37亿元,同比增长2.67%;归母净利润3.29亿元,同比下降20.78%;扣非净利润2.17亿元,同比下降12.80%;经营活动产生的现金流量净额为1.81亿元,上年同期为-6.37亿元;报告期内,东材科技基本每股收益为0.37元,加权平均净资产收益率为7.59%。公司2023年年度利润分配预案为:拟向全体股东每10股派1.5元(含税)。

以4月12日收盘价计算,东材科技目前市盈率(TTM)约为24.7倍,市净率(LF)约为1.78倍,市销率(TTM)约为2.17倍。

公司近年市盈率(TTM)、市净率(LF)、市销率(TTM)历史分位图如下所示:

数据统计显示,东材科技近三年营业总收入复合增长率为25.72%,在膜材料行业已披露2023年数据的9家公司中排名第1。近三年净利润复合年增长率为23.28%,排名3/9。

资料显示,公司主要从事化工新材料的研发、制造和销售,以新型绝缘材料为基础。

分产品来看,2023年公司主营业务中,新能源材料收入13.08亿元,同比增长0.54%,占营业收入的35.00%;光学膜材料收入9.62亿元,同比增长3.80%,占营业收入的25.73%;电子材料收入8.23亿元,同比增长6.17%,占营业收入的22.03%。

截至2023年末,公司员工总数为3122人,人均创收119.71万元,人均创利10.53万元,人均薪酬11.53万元,较上年同期分别变化-1.74%、-24.18%、9.67%。

2023年,公司毛利率为19.01%,同比下降1.66个百分点;净利率为8.20%,较上年同期下降3.46个百分点。从单季度指标来看,2023年第四季度公司毛利率为18.39%,同比下降1.73个百分点,环比上升0.92个百分点;净利率为1.41%,较上年同期下降6.51个百分点,较上一季度下降6.68个百分点。

分产品看,新能源材料、光学膜材料、电子材料2023年毛利率分别为23.67%、14.80%、17.51%。

数据显示,2023年公司加权平均净资产收益率为7.59%,较上年同期下降2.63个百分点;公司2023年投入资本回报率为4.86%,较上年同期下降2.82个百分点。

2023年,公司经营活动现金流净额为1.81亿元,同比增加8.18亿元;筹资活动现金流净额-1.73亿元,同比减少24.81亿元;投资活动现金流净额-3.80亿元,上年同期为-5.96亿元。

进一步统计发现,2023年公司自由现金流为2.72亿元,上年同期为-0.78亿元。

2023年,公司营业收入现金比为88.10%,净现比为55.11%。

营运能力方面,2023年,公司公司总资产周转率为0.39次,上年同期为0.48次(2022年行业平均值为0.48次,公司位居同行业12/19);固定资产周转率为1.22次,上年同期为1.54次(2022年行业平均值为1.66次,公司位居同行业10/19);公司应收账款周转率、存货周转率分别为5.25次、6.54次。

2023年,公司期间费用为4.83亿元,较上年同期增加3156.96万元;期间费用率为12.92%,较上年同期上升0.52个百分点。其中,销售费用同比增长5.38%,管理费用同比增长8.21%,研发费用同比下降3.98%,财务费用同比增长54.37%。

资产重大变化方面,截至2023年年末,公司固定资产较上年末增加33.38%,占公司总资产比重上升6.28个百分点;交易性金融资产较上年末减少82.05%,占公司总资产比重下降5.44个百分点;货币资金较上年末减少16.75%,占公司总资产比重下降3.80个百分点;在建工程较上年末增加21.82%,占公司总资产比重上升1.88个百分点。

负债重大变化方面,截至2023年年末,公司长期借款较上年末增加65.10%,占公司总资产比重上升2.87个百分点;一年内到期的非流动负债较上年末减少53.09%,占公司总资产比重下降3.24个百分点;应付票据较上年末增加130.05%,占公司总资产比重上升2.52个百分点;应付账款较上年末增加38.42%,占公司总资产比重上升1.14个百分点。

从存货变动来看,截至2023年年末,公司存货账面价值为4.98亿元,占净资产的10.91%,较上年末增加7066.26万元。其中,存货跌价准备为3629.45万元,计提比例为6.79%。

2023年全年,公司研发投入金额为2.02亿元,同比下降3.98%;研发投入占营业收入比例为5.40%,相比上年同期下降0.38个百分点。此外,公司全年研发投入资本化率为0。

在偿债能力方面,公司2023年年末资产负债率为52.53%,相比上年末上升0.76个百分点;有息资产负债率为32.06%,相比上年末下降1.82个百分点。

2023年,公司流动比率为1.29,速动比率为1.11。

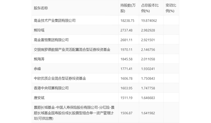
年报显示,2023年年末公司十大流通股东中,新进股东为中欧优质企业混合型证券投资基金,取代了三季度末的中国人寿保险股份有限公司-传统-普通保险产品-005L-CT001沪。在具体持股比例上,交银施罗德数据产业灵活配置混合型证券投资基金、余峰持股有所上升,高金技术产业集团有限公司、熊玲瑶、高金富恒集团有限公司、熊海涛、香港中央结算有限公司、唐安斌、景顺长城基金-中国人寿保险股份有限公司-分红险-景顺长城基金国寿股份成长股票型组合单一资产管理计划(可供出售)持股有所下降。

筹码集中度方面,截至2023年年末,公司股东总户数为2.33万户,较三季度末下降了2641户,降幅10.19%;户均持股市值由三季度末的41.17万元上升至48.84万元,增幅为18.63%。

指标注解:

市盈率

=总市值/净利润。当公司亏损时市盈率为负,此时用市盈率估值没有实际意义,往往用市净率或市销率做参考。

市净率

=总市值/净资产。市净率估值法多用于盈利波动较大而净资产相对稳定的公司。

市销率

=总市值/营业收入。市销率估值法通常用于亏损或微利的成长型公司。

文中市盈率和市销率采用TTM方式,即以截至最近一期财报(含预报)12个月的数据计算。市净率采用LF方式,即以最近一期财报数据计算。

市盈率为负时,不显示当期分位数,会导致折线图中断。

加载中...