新浪财经

太阳能:2023年净利同比增长13.75% 拟10派1.46元

东方财富官微

关注

太阳能(000591)4月13日披露2023年年报。2023年,公司实现营业总收入95.40亿元,同比增长3.29%;归母净利润15.79亿元,同比增长13.75%;扣非净利润14.95亿元,同比增长15.46%;经营活动产生的现金流量净额为23.77亿元,同比下降53.37%;报告期内,太阳能基本每股收益为0.4038元,加权平均净资产收益率为7.07%。公司2023年年度利润分配预案为:拟向全体股东每10股派1.46元(含税)。

以4月12日收盘价计算,太阳能目前市盈率(TTM)约为12.95倍,市净率(LF)约为0.89倍,市销率(TTM)约为2.14倍。

公司近年市盈率(TTM)、市净率(LF)、市销率(TTM)历史分位图如下所示:

数据统计显示,太阳能近三年营业总收入复合增长率为21.61%,在光伏发电行业已披露2023年数据的5家公司中排名第2。近三年净利润复合年增长率为15.37%,排名3/5。

公司业务以太阳能光伏电站的投资运营为主,主要产品为电力,该产品主要出售给国家电网、南方电网;同时,公司还从事太阳能光伏电池组件的生产销售。

分产品来看,2023年公司主营业务中,太阳能产品制造收入49.74亿元,同比增长2.40%,占营业收入的52.13%;太阳能发电收入45.48亿元,同比增长4.42%,占营业收入的47.67%。

2023年,公司毛利率为34.42%,同比上升1.65个百分点;净利率为16.56%,较上年同期上升1.42个百分点。从单季度指标来看,2023年第四季度公司毛利率为21.29%,同比上升1.93个百分点,环比下降19.74个百分点;净利率为4.16%,较上年同期下降2.49个百分点,较上一季度下降18.71个百分点。

分产品看,太阳能产品制造、太阳能发电2023年毛利率分别为7.10%、64.70%。

报告期内,公司前五大客户合计销售金额78.47亿元,占总销售金额比例为73.44%,公司前五名供应商合计采购金额30.61亿元,占年度采购总额比例为34.68%。

数据显示,2023年公司加权平均净资产收益率为7.07%,较上年同期下降0.65个百分点;公司2023年投入资本回报率为4.88%,较上年同期下降0.37个百分点。

2023年,公司经营活动现金流净额为23.77亿元,同比下降53.37%;筹资活动现金流净额-24.62亿元,同比减少54.74亿元;投资活动现金流净额-20.62亿元,上年同期为-49.21亿元。

进一步统计发现,2023年公司自由现金流为5.56亿元,上年同期为-3.14亿元。

2023年,公司营业收入现金比为71.06%,净现比为150.60%。

营运能力方面,2023年,公司公司总资产周转率为0.20次,上年同期为0.21次(2022年行业平均值为0.17次,公司位居同行业5/13);固定资产周转率为0.40次,上年同期为0.38次(2022年行业平均值为0.47次,公司位居同行业8/13);公司应收账款周转率、存货周转率分别为0.88次、20.88次。

2023年,公司期间费用为12.30亿元,较上年同期减少1.33亿元;期间费用率为12.89%,较上年同期下降1.86个百分点。其中,销售费用同比下降3.37%,管理费用同比增长9.64%,研发费用同比增长17.47%,财务费用同比下降23.78%。

资产重大变化方面,截至2023年年末,公司货币资金较上年末减少47.37%,占公司总资产比重下降4.73个百分点;在建工程较上年末增加91.31%,占公司总资产比重上升4.47个百分点;应收账款较上年末增加13.27%,占公司总资产比重上升2.53个百分点;交易性金融资产较上年末减少41.48%,占公司总资产比重下降2.46个百分点。

负债重大变化方面,截至2023年年末,公司长期借款较上年末减少9.14%,占公司总资产比重下降3.08个百分点;应付账款较上年末增加38.60%,占公司总资产比重上升1.47个百分点;应付债券较上年末增加33.33%,占公司总资产比重上升1.01个百分点;租赁负债较上年末增加45.53%,占公司总资产比重上升0.68个百分点。

从存货变动来看,截至2023年年末,公司存货账面价值为3.1亿元,占净资产的1.35%,较上年末增加2103.24万元。其中,存货跌价准备为5205.16万元,计提比例为14.37%。

2023年全年,公司研发投入金额为2.73亿元,同比增长17.47%;研发投入占营业收入比例为2.87%,相比上年同期上升0.35个百分点。此外,公司全年研发投入资本化率为0。

在偿债能力方面,公司2023年年末资产负债率为51.28%,相比上年末下降1.75个百分点;有息资产负债率为40.24%,相比上年末下降2.60个百分点。

2023年,公司流动比率为2.02,速动比率为1.99。

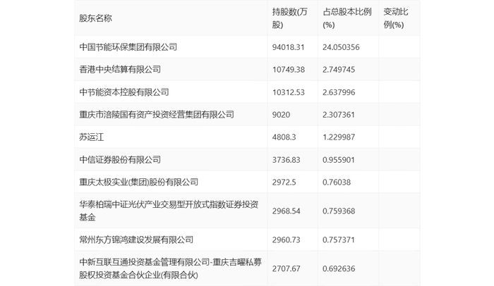
年报显示,2023年年末公司十大流通股东中,新进股东为苏运江,取代了三季度末的天弘中证光伏产业指数型发起式证券投资基金。在具体持股比例上,香港中央结算有限公司持股有所上升,中信证券股份有限公司、华泰柏瑞中证光伏产业交易型开放式指数证券投资基金持股有所下降。

筹码集中度方面,截至2023年年末,公司股东总户数为19.54万户,较三季度末下降了7501户,降幅3.70%;户均持股市值由三季度末的11.15万元上升至11.16万元,增幅为0.09%。

指标注解:

市盈率

=总市值/净利润。当公司亏损时市盈率为负,此时用市盈率估值没有实际意义,往往用市净率或市销率做参考。

市净率

=总市值/净资产。市净率估值法多用于盈利波动较大而净资产相对稳定的公司。

市销率

=总市值/营业收入。市销率估值法通常用于亏损或微利的成长型公司。

文中市盈率和市销率采用TTM方式,即以截至最近一期财报(含预报)12个月的数据计算。市净率采用LF方式,即以最近一期财报数据计算。

市盈率为负时,不显示当期分位数,会导致折线图中断。

(文章来源:中国证券报·中证网)

加载中...