新浪财经

云天化:2024年第一季度净利润14.59亿元 同比下降7.19%

中证网

关注

中证智能财讯 云天化(600096)4月13日披露2024年一季报。2024年第一季度,公司实现营业总收入138.57亿元,同比下降12.77%;归母净利润14.59亿元,同比下降7.19%;扣非净利润14.35亿元,同比下降5.41%;经营活动产生的现金流量净额为24.91亿元,同比增长62.42%;报告期内,云天化基本每股收益为0.7956元,加权平均净资产收益率为7.49%。

资料显示,公司的主要业务是化肥、磷矿采选、磷化工及新材料、商贸物流。

2024年一季度,公司毛利率为19.12%,同比上升1.49个百分点,环比上升0.4个百分点;净利率为12.3%,较上年同期上升0.32个百分点,较上一季度上升5.72个百分点。

数据显示,2024年第一季度公司加权平均净资产收益率为7.49%,较上年同期下降1.67个百分点;公司2024年第一季度投入资本回报率为4.28%,较上年同期下降0.48个百分点。

2024年第一季度,公司经营活动现金流净额为24.91亿元,同比增长62.42%,主要系本期销售了较多年初存货,经营活动产生的现金流量净额增加较多所致;筹资活动现金流净额-3.39亿元,同比增加2453.86万元;投资活动现金流净额-3.04亿元,上年同期为-9.97亿元。

2024年第一季度,公司营业收入现金比为106.44%,净现比为170.68%。

资产重大变化方面,截至2024年一季度末,公司存货较上年末减少19.88%,占公司总资产比重下降3.22个百分点;货币资金较上年末增加28.41%,占公司总资产比重上升2.97个百分点;固定资产较上年末减少1.88%,占公司总资产比重下降2.16个百分点;应收账款较上年末增加103.93%,占公司总资产比重上升1.67个百分点。

负债重大变化方面,截至2024年一季度末,公司短期借款较上年末减少14.96%,占公司总资产比重下降1.98个百分点;应付账款较上年末增加14.77%,占公司总资产比重上升0.91个百分点;长期借款较上年末增加3.78%,占公司总资产比重上升0.09个百分点;应付职工薪酬较上年末减少38.45%,占公司总资产比重下降0.39个百分点。

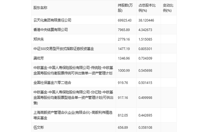
一季报显示,2024年一季度末的公司十大流通股东中,新进股东为中欧基金国寿股份均衡股票传统可供出售单一资产管理计划、中欧基金国寿股份均衡股票型组合单一资产管理计划(可供出售)、上海高毅资产管理合伙企业(有限合伙)-高毅利伟精选唯实基金,取代了上年末的龚佑华、上海胜帮私募基金管理有限公司-共青城胜帮凯米投资合伙企业(有限合伙)、申万宏源证券有限公司。在具体持股比例上,云天化集团有限责任公司、香港中央结算有限公司、郑洪朱、中证500交易型开放式指数证券投资基金、龚佑芳、全国社保基金六零二组合持股有所上升,伍文彬持股有所下降。

筹码集中度方面,截至2024年一季度末,公司股东总户数为16.33万户,较上年末下降了3.57万户,降幅17.94%;户均持股市值由上年末的14.38万元上升至21.32万元,增幅为48.27%。

加载中...