新浪财经

瀚蓝环境:2023年净利14.30亿元 同比增长25.23% 拟10派4.8元

中证网

关注

中证智能财讯 瀚蓝环境(600323)4月12日披露2023年年报。2023年,公司实现营业总收入125.41亿元,同比下降2.59%;归母净利润14.30亿元,同比增长25.23%;扣非净利润14.07亿元,同比增长27.07%;经营活动产生的现金流量净额为24.82亿元,同比增长487.50%;报告期内,瀚蓝环境基本每股收益为1.75元,加权平均净资产收益率为12.44%。公司2023年年度利润分配预案为:拟向全体股东每10股派4.8元(含税)。

以4月11日收盘价计算,瀚蓝环境目前市盈率(TTM)约为9.95倍,市净率(LF)约为1.17倍,市销率(TTM)约为1.13倍。

公司近年市盈率(TTM)、市净率(LF)、市销率(TTM)历史分位图如下所示:

数据统计显示,瀚蓝环境近三年营业总收入复合增长率为18.79%,在固废治理行业已披露2023年数据的9家公司中排名第6。近三年净利润复合年增长率为10.57%,排名4/9。

分产品来看,2023年公司主营业务中,能源供应业务收入41.37亿元,占营业收入的32.99%;固废业务收入35.77亿元,同比下降48.48%,占营业收入的28.52%;环卫业务收入14.09亿元,占营业收入的11.23%。

截至2023年末,公司员工总数为25264人,人均创收49.64万元,人均创利5.66万元,人均薪酬7.86万元,较上年同期分别变化-0.60%、27.80%、16.64%。

2023年,公司毛利率为25.19%,同比上升4.74个百分点;净利率为11.72%,较上年同期上升2.62个百分点。从单季度指标来看,2023年第四季度公司毛利率为20.48%,同比上升1.34个百分点,环比下降8.84个百分点;净利率为7.70%,较上年同期下降1.13个百分点,较上一季度下降8.26个百分点。

分产品看,能源供应业务、固废业务、环卫业务2023年毛利率分别为10.17%、42.41%、17.99%。

报告期内,公司前五大客户合计销售金额18.95亿元,占总销售金额比例为15.56%,公司前五名供应商合计采购金额33.49亿元,占年度采购总额比例为77.08%。

数据显示,2023年公司加权平均净资产收益率为12.44%,较上年同期增长1.41个百分点;公司2023年投入资本回报率为6.94%,较上年同期增长0.28个百分点。

2023年,公司经营活动现金流净额为24.82亿元,同比增长487.50%;筹资活动现金流净额1.87亿元,同比减少15.01亿元;投资活动现金流净额-22.37亿元,上年同期为-23.34亿元。

进一步统计发现,2023年公司自由现金流为2.81亿元,上年同期为-16.71亿元。

2023年,公司营业收入现金比为90.94%,净现比为173.61%。

营运能力方面,2023年,公司公司总资产周转率为0.36次,上年同期为0.41次(2022年行业平均值为0.38次,公司位居同行业15/32);固定资产周转率为2.21次,上年同期为2.35次(2022年行业平均值为3.79次,公司位居同行业23/32);公司应收账款周转率、存货周转率分别为4.14次、37.59次。

2023年,公司期间费用为13.47亿元,较上年同期增加1968.32万元;期间费用率为10.74%,较上年同期上升0.43个百分点。其中,销售费用同比下降5.28%,管理费用同比增长4.56%,研发费用同比下降11.42%,财务费用同比增长1.73%。

资产重大变化方面,截至2023年年末,公司其他非流动资产较上年末减少4.88%,占公司总资产比重下降2.93个百分点;合同资产较上年末增加47.70%,占公司总资产比重上升1.23个百分点;无形资产较上年末增加10.73%,占公司总资产比重上升0.95个百分点;货币资金较上年末增加37.65%,占公司总资产比重上升0.94个百分点。

负债重大变化方面,截至2023年年末,公司长期借款较上年末增加17.93%,占公司总资产比重上升2.54个百分点;一年内到期的非流动负债较上年末减少13.89%,占公司总资产比重下降1.61个百分点;应付债券较上年末减少38.17%,占公司总资产比重下降1.04个百分点;短期借款较上年末增加10.58%,占公司总资产比重上升0.15个百分点。

从存货变动来看,截至2023年年末,公司存货账面价值为2.35亿元,占净资产的1.94%。根据财报,公司本期没有计提存货跌价准备。

2023年全年,公司研发投入金额为1.41亿元,同比增长0.09%;研发投入占营业收入比例为1.12%,相比上年同期上升0.03个百分点。此外,公司全年研发投入资本化率为42.38%。

在偿债能力方面,公司2023年年末资产负债率为64.13%,相比上年末下降1.04个百分点;有息资产负债率为42.29%,相比上年末上升0.04个百分点。

2023年,公司流动比率为0.79,速动比率为0.76。

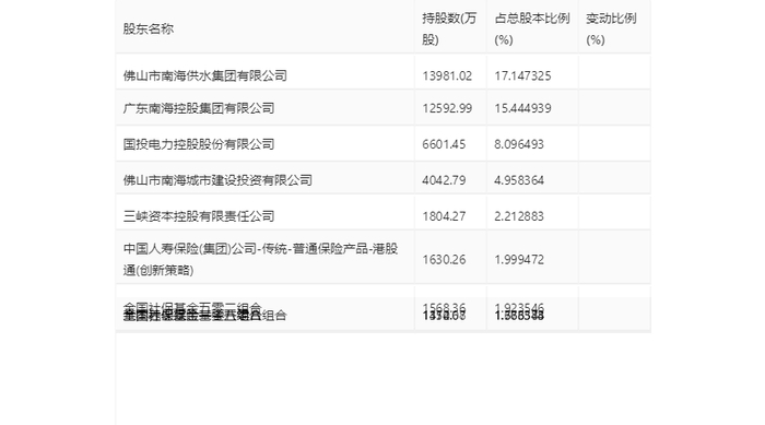
年报显示,2023年年末公司十大流通股东中,持股最多的为佛山市南海供水集团有限公司,占比17.15%。十大流通股东名单相比2023年三季报维持不变。在具体持股比例上,全国社保基金一零一组合、基本养老保险基金八零八组合持股有所上升,全国社保基金五零二组合、全国社保基金一一五组合持股有所下降。

筹码集中度方面,截至2023年年末,公司股东总户数为3.22万户,较三季度末增长了1061户,增幅3.41%;户均持股市值由三季度末的45.22万元下降至43.86万元,降幅为3.01%。

指标注解:

市盈率

=总市值/净利润。当公司亏损时市盈率为负,此时用市盈率估值没有实际意义,往往用市净率或市销率做参考。

市净率

=总市值/净资产。市净率估值法多用于盈利波动较大而净资产相对稳定的公司。

市销率

=总市值/营业收入。市销率估值法通常用于亏损或微利的成长型公司。

文中市盈率和市销率采用TTM方式,即以截至最近一期财报(含预报)12个月的数据计算。市净率采用LF方式,即以最近一期财报数据计算。

市盈率为负时,不显示当期分位数,会导致折线图中断。

加载中...