新浪财经

太阳电缆:2023年净利润同比下降17.24% 拟10派1.6元

中证网

关注

中证智能财讯 太阳电缆(002300)4月11日披露2023年年报。2023年,公司实现营业总收入135.45亿元,同比增长3.37%;归母净利润1.77亿元,同比下降17.24%;扣非净利润1.63亿元,同比下降15.82%;经营活动产生的现金流量净额为1.56亿元,同比增长280.52%;报告期内,太阳电缆基本每股收益为0.2444元,加权平均净资产收益率为9.53%。公司2023年年度利润分配预案为:拟向全体股东每10股派1.6元(含税)。

以4月10日收盘价计算,太阳电缆目前市盈率(TTM)约为25.57倍,市净率(LF)约为2.38倍,市销率(TTM)约为0.33倍。

公司近年市盈率(TTM)、市净率(LF)、市销率(TTM)历史分位图如下所示:

数据统计显示,太阳电缆近三年营业总收入复合增长率为19.48%,在线缆部件及其他行业已披露2023年数据的16家公司中排名第8。近三年净利润复合年增长率为-2.41%,排名11/16。

年报称,公司主要以电线电缆为主营业务,公司产品主要有500KV及以下交联聚乙烯绝缘电力电缆、核电站电缆、风力电缆、35~500KV海底电力电缆、海底光电复合电缆、柔性直流海底电缆和建筑用线、装备用电缆、数据电缆、架空线等。产品主要用于输送电能、传递信息和制造各种电机、电器、仪表所不可缺少的器材,具备为国内外各级重点工程提供全方位配套的能力。

分产品来看,2023年公司主营业务中,加工收入68.69亿元,同比增长5.73%,占营业收入的50.71%;特种电缆收入41.95亿元,同比增长2.90%,占营业收入的30.97%;电力电缆收入11.46亿元,同比增长8.35%,占营业收入的8.46%。

截至2023年末,公司员工总数为2290人,人均创收591.47万元,人均创利7.71万元,人均薪酬10.28万元,较上年同期分别变化-6.65%、-25.26%、2.54%。

2023年,公司毛利率为4.60%,同比下降0.03个百分点;净利率为1.30%,较上年同期下降0.45个百分点。从单季度指标来看,2023年第四季度公司毛利率为3.05%,同比下降2.27个百分点,环比下降2.08个百分点;净利率为0.01%,较上年同期下降1.99个百分点,较上一季度下降1.85个百分点。

分产品看,铜加工、特种电缆、电力电缆2023年毛利率分别为0.44%、6.77%、5.17%。

报告期内,公司前五大客户合计销售金额30.15亿元,占总销售金额比例为22.26%,公司前五名供应商合计采购金额105.65亿元,占年度采购总额比例为81.27%。

数据显示,2023年公司加权平均净资产收益率为9.53%,较上年同期下降2.76个百分点;公司2023年投入资本回报率为4.94%,较上年同期下降2.52个百分点。

2023年,公司经营活动现金流净额为1.56亿元,同比增长280.52%;筹资活动现金流净额3.77亿元,同比减少4542.84万元;投资活动现金流净额-5.60亿元,上年同期为-5.23亿元。

进一步统计发现,2023年公司自由现金流为-3.63亿元,上年同期为-3.37亿元。

2023年,公司营业收入现金比为97.48%,净现比为88.28%。

营运能力方面,2023年,公司公司总资产周转率为2.32次,上年同期为2.68次(2022年行业平均值为0.96次,公司位居同行业1/36);固定资产周转率为10.13次,上年同期为11.43次(2022年行业平均值为7.86次,公司位居同行业9/36);公司应收账款周转率、存货周转率分别为7.57次、14.54次。

2023年,公司期间费用为3.21亿元,较上年同期增加3047.41万元;期间费用率为2.37%,较上年同期上升0.15个百分点。其中,销售费用同比增长9.98%,管理费用同比增长22.82%,研发费用同比增长9.77%,财务费用同比下降8.99%。

资产重大变化方面,截至2023年年末,公司应收账款较上年末增加0.63%,占公司总资产比重下降4.34个百分点;应收票据较上年末增加1433.51%,占公司总资产比重上升2.69个百分点;其他非流动资产较上年末减少74.59%,占公司总资产比重下降2.45个百分点;固定资产较上年末增加28.36%,占公司总资产比重上升2.33个百分点。

负债重大变化方面,截至2023年年末,公司长期借款较上年末增加110.80%,占公司总资产比重上升7.30个百分点;一年内到期的非流动负债较上年末减少96.48%,占公司总资产比重下降5.67个百分点;短期借款较上年末增加23.76%,占公司总资产比重上升1.24个百分点;合同负债较上年末增加24.23%,占公司总资产比重上升0.75个百分点。

从存货变动来看,截至2023年年末,公司存货账面价值为9.78亿元,占净资产的51.44%,较上年末增加1.78亿元。其中,存货跌价准备为638.91万元,计提比例为0.65%。

2023年全年,公司研发投入金额为2929.94万元,同比增长9.77%;研发投入占营业收入比例为0.22%,相比上年同期上升0.02个百分点。此外,公司全年研发投入资本化率为0。

年报显示,2023年公司完成2项实用新型专利,2项发明专利授权,截止目前一共获得国家专利授权111项,其中,发明专利授权9项,实用新型专利授权100项,外观设计专利授权2项。

在偿债能力方面,公司2023年年末资产负债率为62.96%,相比上年末上升3.08个百分点;有息资产负债率为35.83%,相比上年末上升2.87个百分点。

2023年,公司流动比率为1.33,速动比率为0.98。

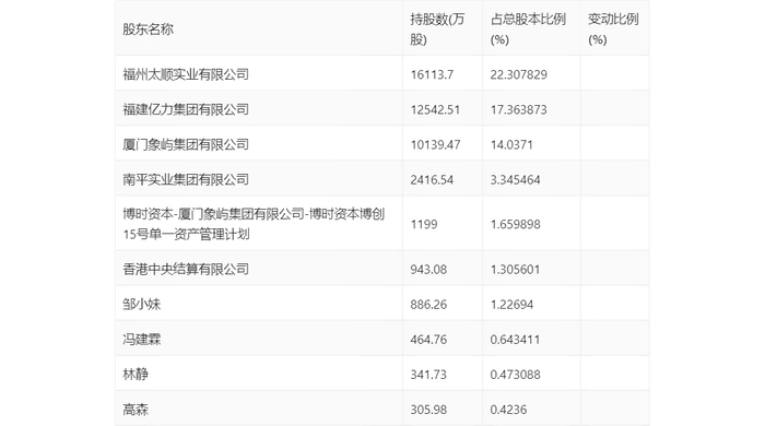
年报显示,2023年年末公司十大流通股东中,新进股东为香港中央结算有限公司、邹小妹、冯建霖、林静、高森,取代了三季度末的汉云股票精选三期私募证券投资基金、陈越慧、汉云股票精选一期私募证券投资基金、汉云股票精选二期私募证券投资基金、郭明云。在具体持股比例上,福建亿力集团有限公司持股有所下降。

筹码集中度方面,截至2023年年末,公司股东总户数为2.92万户,较三季度末下降了1050户,降幅3.48%;户均持股市值由三季度末的20.06万元上升至21.05万元,增幅为4.94%。

指标注解:

市盈率

=总市值/净利润。当公司亏损时市盈率为负,此时用市盈率估值没有实际意义,往往用市净率或市销率做参考。

市净率

=总市值/净资产。市净率估值法多用于盈利波动较大而净资产相对稳定的公司。

市销率

=总市值/营业收入。市销率估值法通常用于亏损或微利的成长型公司。

文中市盈率和市销率采用TTM方式,即以截至最近一期财报(含预报)12个月的数据计算。市净率采用LF方式,即以最近一期财报数据计算。

市盈率为负时,不显示当期分位数,会导致折线图中断。

加载中...