新浪财经

哈药股份:增收不增利 2023年净利润同比下降15.02%

中证网

关注

中证智能财讯 哈药股份(600664)4月11日披露2023年年报。2023年,公司实现营业总收入154.57亿元,同比增长11.93%;归母净利润3.95亿元,同比下降15.02%;扣非净利润3.25亿元,同比增长40.50%;经营活动产生的现金流量净额为9.50亿元,同比增长52.66%;报告期内,哈药股份基本每股收益为0.16元,加权平均净资产收益率为8.73%。

以4月10日收盘价计算,哈药股份目前市盈率(TTM)约为19.07倍,市净率(LF)约为1.6倍,市销率(TTM)约为0.49倍。

公司近年市盈率(TTM)、市净率(LF)、市销率(TTM)历史分位图如下所示:

数据统计显示,哈药股份近三年营业总收入复合增长率为12.73%,在化学制剂行业已披露2023年数据的32家公司中排名第9。近三年净利润复合年增长率为33.27%,排名6/32。

年报显示,公司专注于医药健康产业,主要从事医药研发与制造、批发与零售业务,是集医药研发、制造、销售于一体的国内大型高新技术医药企业。

分产品来看,2023年公司主营业务中,营养补充剂收入28.65亿元,同比增长40.84%,占营业收入的18.54%;抗病毒抗感染收入10.16亿元,同比增长14.67%,占营业收入的6.57%;感冒药收入5.36亿元,同比下降8.12%,占营业收入的3.47%;消化系统收入2.56亿元,同比下降14.44%,占营业收入的1.66%;心脑血管收入2.22亿元,同比下降23.69%,占营业收入的1.43%。

截至2023年末,公司员工总数为9853人,人均创收156.87万元,人均创利4.01万元,人均薪酬13.89万元,较上年同期分别变化14.33%、-13.20%、2.53%。

2023年,公司毛利率为26.21%,同比上升1.54个百分点;净利率为3.07%,较上年同期下降0.64个百分点。从单季度指标来看,2023年第四季度公司毛利率为28.92%,同比下降0.49个百分点,环比上升2.64个百分点;净利率为3.18%,较上年同期下降5.05个百分点,较上一季度下降0.17个百分点。

报告期内,公司前五大客户合计销售金额18.29亿元,占总销售金额比例为11.88%,公司前五名供应商合计采购金额17.99亿元,占年度采购总额比例为15.80%。

数据显示,2023年公司加权平均净资产收益率为8.73%,较上年同期下降2.63个百分点;公司2023年投入资本回报率为6.69%,较上年同期下降1.29个百分点。

2023年,公司经营活动现金流净额为9.50亿元,同比增长52.66%;筹资活动现金流净额1.48亿元,同比减少2667.46万元;投资活动现金流净额-2.07亿元,上年同期为7233.65万元。

进一步统计发现,2023年公司自由现金流为10.17亿元,相比上年同期下降6.08%。

2023年,公司营业收入现金比为103.66%,净现比为240.26%。

营运能力方面,2023年,公司公司总资产周转率为1.12次,上年同期为1.05次(2022年行业平均值为0.43次,公司位居同行业4/112);公司应收账款周转率、存货周转率分别为3.63次、6.12次。

2023年,公司期间费用为32.85亿元,较上年同期增加5.29亿元;期间费用率为21.25%,较上年同期上升1.29个百分点。其中,销售费用同比增长31.8%,管理费用同比增长2.51%,研发费用同比下降8.45%,财务费用同比下降59.01%。

资产重大变化方面,截至2023年年末,公司货币资金较上年末增加25.76%,占公司总资产比重上升3.58个百分点;固定资产较上年末减少6.49%,占公司总资产比重下降2.02个百分点;应收票据较上年末减少62.33%,占公司总资产比重下降1.02个百分点;应收账款较上年末增加8.40%,占公司总资产比重上升0.98个百分点。

负债重大变化方面,截至2023年年末,公司应付票据较上年末增加42.49%,占公司总资产比重上升3.11个百分点;短期借款较上年末减少14.22%,占公司总资产比重下降2.64个百分点;其他应付款(含利息和股利)较上年末增加14.02%,占公司总资产比重上升0.78个百分点;应交税费较上年末减少46.00%,占公司总资产比重下降0.77个百分点。

从存货变动来看,截至2023年年末,公司存货账面价值为19.24亿元,占净资产的40.73%,较上年末增加1.2亿元。其中,存货跌价准备为7492.93万元,计提比例为3.75%。

2023年全年,公司研发投入金额为1.44亿元,同比下降11.89%;研发投入占营业收入比例为0.93%,相比上年同期下降0.25个百分点。此外,公司全年研发投入资本化率为26.35%。

在偿债能力方面,公司2023年年末资产负债率为61.57%,相比上年末下降1.61个百分点;有息资产负债率为12.99%,相比上年末下降2.74个百分点。

2023年,公司流动比率为1.26,速动比率为1.03。

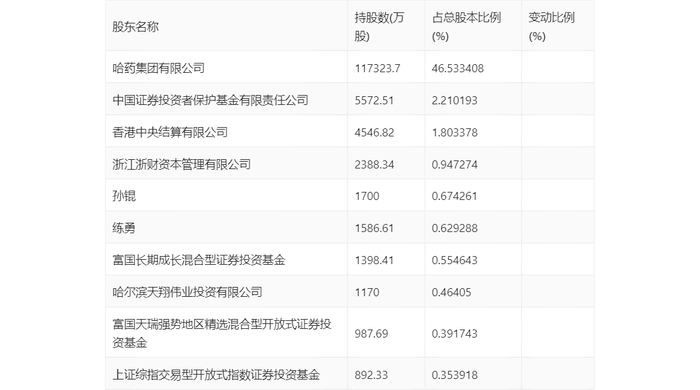
年报显示,2023年年末公司十大流通股东中,新进股东为哈尔滨天翔伟业投资有限公司、上证综指交易型开放式指数证券投资基金,取代了三季度末的上海城建置业发展有限公司、夏重阳。在具体持股比例上,香港中央结算有限公司、练勇持股有所上升,哈药集团有限公司、中国证券投资者保护基金有限责任公司、浙江浙财资本管理有限公司、孙锟、富国长期成长混合型证券投资基金、富国天瑞强势地区精选混合型开放式证券投资基金持股有所下降。

值得注意的是,根据年报数据,哈药股份36.76%股份处于质押状态。其中,第一大股东哈药集团有限公司质押9.27亿股公司股份,占其全部持股的79.00%。

筹码集中度方面,截至2023年年末,公司股东总户数为9.83万户,较三季度末下降了3307户,降幅3.25%;户均持股市值由三季度末的8.61万元下降至8.59万元,降幅为0.23%。

指标注解:

市盈率

=总市值/净利润。当公司亏损时市盈率为负,此时用市盈率估值没有实际意义,往往用市净率或市销率做参考。

市净率

=总市值/净资产。市净率估值法多用于盈利波动较大而净资产相对稳定的公司。

市销率

=总市值/营业收入。市销率估值法通常用于亏损或微利的成长型公司。

文中市盈率和市销率采用TTM方式,即以截至最近一期财报(含预报)12个月的数据计算。市净率采用LF方式,即以最近一期财报数据计算。

市盈率为负时,不显示当期分位数,会导致折线图中断。

加载中...