新浪财经

富淼科技:2023年净利润同比下降78.78% 拟10派2.48元

中证网

关注

中证智能财讯 富淼科技(688350)4月3日披露2023年年报。2023年,公司实现营业总收入16.40亿元,同比下降3.34%;归母净利润2720.76万元,同比下降78.78%;扣非净利润2003.57万元,同比下降80.94%;经营活动产生的现金流量净额为1.02亿元,同比下降26.90%;报告期内,富淼科技基本每股收益为0.22元,加权平均净资产收益率为1.81%。公司2023年年度利润分配预案为:拟向全体股东每10股派2.48元(含税)。

以4月2日收盘价计算,富淼科技目前市盈率(TTM)约为60.2倍,市净率(LF)约为1.09倍,市销率(TTM)约为1.0倍。

公司近年市盈率(TTM)、市净率(LF)、市销率(TTM)历史分位图如下所示:

数据统计显示,富淼科技近三年营业总收入复合增长率为13.06%,近三年净利润复合年增长率为-36.23%。

年报称,公司从事精细化工行业的亲水性功能高分子领域,为制浆造纸、水处理、油气开采、矿物加工和纺织印染等国内外水基工业用户提供水溶性高分子、功能性单体、水处理膜及膜应用等产品与服务,为水基工业绿色发展和水生态保护创造核心价值。

分产品来看,2023年公司主营业务中,水溶性高分子收入7.67亿元,同比下降1.43%,占营业收入的46.74%;功能性单体收入6.39亿元,同比增长0.44%,占营业收入的38.97%;能源外供收入1.69亿元,同比下降19.00%,占营业收入的10.31%。

截至2023年末,公司员工总数为962人,人均创收170.49万元,人均创利2.83万元,人均薪酬18.35万元,较上年同期分别变化-0.83%、-78.23%、22.03%。

2023年,公司毛利率为14.65%,同比下降3.89个百分点;净利率为1.09%,较上年同期下降6.41个百分点。从单季度指标来看,2023年第四季度公司毛利率为13.91%,同比下降6.97个百分点,环比下降0.35个百分点;净利率为-4.42%,较上年同期下降12.85个百分点,较上一季度下降6.38个百分点。

分产品看,水溶性高分子、功能性单体、能源外供2023年毛利率分别为18.59%、7.44%、26.43%。

报告期内,公司前五大客户合计销售金额3.95亿元,占总销售金额比例为24.07%,公司前五名供应商合计采购金额5.33亿元,占年度采购总额比例为46.72%。

数据显示,2023年公司加权平均净资产收益率为1.81%,较上年同期下降7.40个百分点;公司2023年投入资本回报率为1.71%,较上年同期下降5.52个百分点。

2023年,公司经营活动现金流净额为1.02亿元,同比下降26.90%;筹资活动现金流净额-1.02亿元,同比减少5.20亿元;投资活动现金流净额-3.51亿元,上年同期为-2.23亿元。

进一步统计发现,2023年公司自由现金流为-1.72亿元,上年同期为0.10亿元。

2023年,公司营业收入现金比为86.54%,净现比为376.44%。

营运能力方面,2023年,公司公司总资产周转率为0.65次,上年同期为0.77次(2022年行业平均值为0.67次,公司位居同行业31/74);固定资产周转率为2.70次,上年同期为3.51次(2022年行业平均值为3.43次,公司位居同行业37/74);公司应收账款周转率、存货周转率分别为5.19次、7.59次。

2023年,公司期间费用为2.07亿元,较上年同期增加3000.57万元;期间费用率为12.63%,较上年同期上升2.19个百分点。其中,销售费用同比增长17.11%,管理费用同比增长14.11%,研发费用同比下降3.82%,财务费用由去年同期的-1478.45万元变为103.50万元。

资产重大变化方面,截至2023年年末,公司货币资金较上年末减少52.05%,占公司总资产比重下降13.44个百分点;交易性金融资产较上年末增加332.47%,占公司总资产比重上升8.72个百分点;固定资产较上年末增加21.76%,占公司总资产比重上升5.23个百分点;其他流动资产较上年末减少97.72%,占公司总资产比重下降3.14个百分点。

负债重大变化方面,截至2023年年末,公司长期借款较上年末减少82.05%,占公司总资产比重下降1.79个百分点;短期借款较上年末减少46.60%,占公司总资产比重下降1.34个百分点;其他应付款(含利息和股利)较上年末增加404.68%,占公司总资产比重上升1.10个百分点;应付债券较上年末增加5.86%,占公司总资产比重上升1.13个百分点。

从存货变动来看,截至2023年年末,公司存货账面价值为1.51亿元,占净资产的10.0%,较上年末减少6733.81万元。其中,存货跌价准备为772.96万元,计提比例为4.88%。

2023年全年,公司研发投入金额为7716.39万元,同比下降3.82%;研发投入占营业收入比例为4.70%,相比上年同期下降0.03个百分点。此外,公司全年研发投入资本化率为0。

年报称,报告期末,公司合计拥有授权专利247项,其中发明专利96项,创新成果不断丰富。

在偿债能力方面,公司2023年年末资产负债率为36.46%,相比上年末下降1.33个百分点;有息资产负债率为17.14%,相比上年末下降2.40个百分点。

2023年,公司流动比率为2.76,速动比率为2.46。

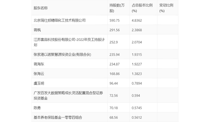
年报显示,2023年年末公司十大流通股东中,新进股东为虞玉明、广发百发大数据策略成长灵活配置混合型证券投资基金,取代了三季度末的刘志念、翟桂珍。在具体持股比例上,北京瑞仕邦精细化工技术有限公司持股有所下降。

筹码集中度方面,截至2023年年末,公司股东总户数为5900户,较三季度末下降了216户,降幅3.53%;户均持股市值由三季度末的33.81万元上升至34.22万元,增幅为1.21%。

指标注解:

市盈率

=总市值/净利润。当公司亏损时市盈率为负,此时用市盈率估值没有实际意义,往往用市净率或市销率做参考。

市净率

=总市值/净资产。市净率估值法多用于盈利波动较大而净资产相对稳定的公司。

市销率

=总市值/营业收入。市销率估值法通常用于亏损或微利的成长型公司。

文中市盈率和市销率采用TTM方式,即以截至最近一期财报(含预报)12个月的数据计算。市净率采用LF方式,即以最近一期财报数据计算。

市盈率为负时,不显示当期分位数,会导致折线图中断。

加载中...