新浪财经

七匹狼:2023年净利润同比增长79.30% 拟10派1.2元

腾讯美股

关注

七匹狼(002029)4月3日披露2023年年报。2023年,公司实现营业总收入34.45亿元,同比增长6.70%;归母净利润2.70亿元,同比增长79.30%;扣非净利润1.88亿元,同比增长77.94%;经营活动产生的现金流量净额为3.85亿元,同比增长59.32%;报告期内,七匹狼基本每股收益为0.38元,加权平均净资产收益率为4.28%。公司2023年年度利润分配预案为:拟向全体股东每10股派1.2元(含税)。

报告期内,公司合计非经常性损益为8239.16万元。

以4月2日收盘价计算,七匹狼目前市盈率(TTM)约为15.95倍,市净率(LF)约为0.67倍,市销率(TTM)约为1.25倍。

公司近年市盈率(TTM)、市净率(LF)、市销率(TTM)历史分位图如下所示:

数据统计显示,七匹狼近三年营业总收入复合增长率为1.13%,在非运动服装行业已披露2023年数据的5家公司中排名第2。近三年净利润复合年增长率为8.93%,排名3/5。

年报称,公司主要从事“七匹狼”品牌男装及针纺类产品的设计、生产和销售,致力于满足男士在不同场景下的穿着需求。主要产品包括衬衫、西服、裤装、夹克衫、针织衫以及男士内衣、内裤、袜子及其它针纺产品等。

分产品来看,2023年公司主营业务中,外套类收入7.95亿元,同比增长22.26%,占营业收入的23.07%;裤子类收入4.57亿元,同比增长11.17%,占营业收入的13.26%;T恤类收入4.35亿元,同比增长13.96%,占营业收入的12.62%。

截至2023年末,公司员工总数为2418人,人均创收142.46万元,人均创利11.17万元,人均薪酬19.63万元,较上年同期分别增长14.91%、93.10%、2.05%。

2023年,公司毛利率为49.92%,同比上升4.69个百分点;净利率为9.42%,较上年同期上升3.44个百分点。从单季度指标来看,2023年第四季度公司毛利率为50.94%,同比下降2.86个百分点,环比下降2.02个百分点;净利率为7.70%,较上年同期上升0.55个百分点,较上一季度上升0.75个百分点。

分产品看,外套类、裤子类、T恤类2023年毛利率分别为54.54%、58.92%、57.75%。

报告期内,公司前五大客户合计销售金额5.42亿元,占总销售金额比例为15.75%,公司前五名供应商合计采购金额2.75亿元,占年度采购总额比例为14.99%。

数据显示,2023年公司加权平均净资产收益率为4.28%,较上年同期增长1.68个百分点;公司2023年投入资本回报率为2.11%,较上年同期增长1.54个百分点。

2023年,公司经营活动现金流净额为3.85亿元,同比增长59.32%;筹资活动现金流净额-3.17亿元,同比减少7.40亿元;投资活动现金流净额-1.14亿元,上年同期为-7.05亿元。

进一步统计发现,2023年公司自由现金流为-11.86亿元,上年同期为2.98亿元。

2023年,公司营业收入现金比为110.84%,净现比为142.55%。

营运能力方面,2023年,公司公司总资产周转率为0.31次,上年同期为0.30次(2022年行业平均值为0.53次,公司位居同行业29/35);固定资产周转率为9.78次,上年同期为9.03次(2022年行业平均值为5.61次,公司位居同行业8/35);公司应收账款周转率存货周转率分别为9.58次、1.86次。

2023年,公司期间费用为11.08亿元,较上年同期增加1.83亿元;期间费用率为32.17%,较上年同期上升3.51个百分点。其中,销售费用同比增长25.18%,管理费用同比下降6.79%,研发费用同比增长10.47%,财务费用由去年同期的-1.64亿元变为-1.60亿元。

资产重大变化方面,截至2023年年末,公司一年内到期的非流动资产较上年末增加82.24%,占公司总资产比重上升8.70个百分点;其他非流动资产较上年末减少27.46%,占公司总资产比重下降8.43个百分点;交易性金融资产较上年末增加90.85%,占公司总资产比重上升3.63个百分点;货币资金较上年末减少18.19%,占公司总资产比重下降2.34个百分点。

负债重大变化方面,截至2023年年末,公司应付票据较上年末减少27.51%,占公司总资产比重下降2.00个百分点;短期借款较上年末减少7.67%,占公司总资产比重下降1.31个百分点;其他应付款(含利息和股利)较上年末减少24.96%,占公司总资产比重下降0.63个百分点;应付账款较上年末增加14.23%,占公司总资产比重上升0.64个百分点。

从存货变动来看,截至2023年年末,公司存货账面价值为8.85亿元,占净资产的13.76%,较上年末减少8866.09万元。其中,存货跌价准备为6.34亿元,计提比例为41.73%。

2023年全年,公司研发投入金额为8685.46万元,同比增长9.54%;研发投入占营业收入比例为2.52%,相比上年同期上升0.06个百分点。此外,公司全年研发投入资本化率为3.47%。

在偿债能力方面,公司2023年年末资产负债率为39.76%,相比上年末下降3.40个百分点;有息资产负债率为21.14%,相比上年末下降0.82个百分点。

2023年,公司流动比率为1.39,速动比率为1.18。

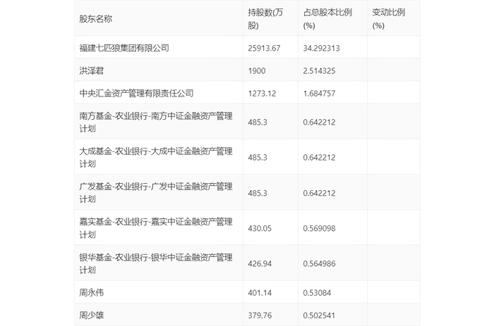
年报显示,2023年末的公司十大流通股东中,新进股东为周少雄,取代了三季度末的博时中证金融资产管理计划。在具体持股比例上,洪泽君持股有所下降。

值得注意的是,根据年报数据,七匹狼17.37%股份处于质押状态。其中,第一大股东福建七匹狼集团有限公司质押1.31亿股公司股份,占其全部持股的50.65%。

筹码集中度方面,截至2023年年末,公司股东总户数为3.07万户,较三季度末增长了2878户,增幅10.34%;户均持股市值由三季度末的16.91万元下降至14.10万元,降幅为16.62%。

指标注解:

市盈率

=总市值/净利润。当公司亏损时市盈率为负,此时用市盈率估值没有实际意义,往往用市净率或市销率做参考。

市净率

=总市值/净资产。市净率估值法多用于盈利波动较大而净资产相对稳定的公司。

市销率

=总市值/营业收入。市销率估值法通常用于亏损或微利的成长型公司。

文中市盈率和市销率采用TTM方式,即以截至最近一期财报(含预报)12个月的数据计算。市净率采用LF方式,即以最近一期财报数据计算。

市盈率为负时,不显示当期分位数,会导致折线图中断。文章来源:中国证券报·中证网文章作者:杨宁原标题:七匹狼:2023年净利润同比增长79.30% 拟10派1.2元

加载中...