新浪财经

京东方A:2023年净利同比下降66.22% 拟10派0.3元

中证网

关注

中证智能财讯 京东方A(000725)4月2日披露2023年年报。2023年,公司实现营业总收入1745.43亿元,同比下降2.17%;归母净利润25.47亿元,同比下降66.22%;扣非净利润亏损6.33亿元,上年同期亏损22.38亿元;经营活动产生的现金流量净额为383.02亿元,同比下降10.97%;报告期内,京东方A基本每股收益为0.06元,加权平均净资产收益率为1.89%。公司2023年年度利润分配预案为:拟向全体股东每10股派0.3元(含税)。

报告期内,公司合计非经常性损益为31.80亿元,其中计入当期损益的政府补助为37.94亿元,少数股东权益影响额(税后)为-11.07亿元。

以4月1日收盘价计算,京东方A目前市盈率(TTM)约为64.15倍,市净率(LF)约为1.26倍,市销率(TTM)约为0.94倍。

公司近年市盈率(TTM)、市净率(LF)、市销率(TTM)历史分位图如下所示:

数据统计显示,京东方A近三年营业总收入复合增长率为8.79%,在面板行业已披露2023年数据的7家公司中排名第2。近三年净利润复合年增长率为-20.32%,排名4/7。

资料显示,京东方科技集团股份有限公司是一家致力于为信息交互和人类健康提供智慧端口产品和专业服务,不断追求卓越的物联网创新公司。

分产品来看,2023年公司主营业务中,显示器件业务收入1470.53亿元,同比下降6.90%,占营业收入的84.25%;物联网创新业务收入389.00亿元,同比增长42.78%,占营业收入的22.29%;MLED业务收入29.02亿元,同比增长242.71%,占营业收入的1.66%。

2023年,公司毛利率为12.55%,同比上升0.85个百分点;净利率为0.21%,较上年同期上升1.19个百分点。从单季度指标来看,2023年第四季度公司毛利率为16.23%,同比上升10.33个百分点,环比上升1.40个百分点;净利率为3.68%,较上年同期上升4.57个百分点,较上一季度上升3.09个百分点。

分产品看,显示器件业务、物联网创新业务、MLED业务2023年毛利率分别为9.17%、9.28%、-11.19%。

报告期内,公司前五大客户合计销售金额624.10亿元,占总销售金额比例为35.76%,公司前五名供应商合计采购金额226.24亿元,占年度采购总额比例为18.11%。

数据显示,2023年公司加权平均净资产收益率为1.89%,较上年同期下降3.56个百分点;公司2023年投入资本回报率为0.19%,较上年同期增长20.46个百分点。

2023年,公司经营活动现金流净额为383.02亿元,同比下降10.97%;筹资活动现金流净额-216.61亿元,同比减少4.88亿元;投资活动现金流净额-293.02亿元,上年同期为-359.73亿元。

进一步统计发现,2023年公司自由现金流为168.03亿元,上年同期为-724.95亿元。

2023年,公司营业收入现金比为113.13%,净现比为1503.54%。

营运能力方面,2023年,公司公司总资产周转率为0.42次,上年同期为0.41次(2022年行业平均值为0.55次,公司位居同行业32/42);固定资产周转率为0.84次,上年同期为0.82次(2022年行业平均值为2.94次,公司位居同行业36/42);公司应收账款周转率、存货周转率分别为5.67次、6.51次。

2023年,公司期间费用为221.52亿元,较上年同期减少18.75亿元;期间费用率为12.69%,较上年同期下降0.78个百分点。其中,销售费用同比下降11.72%,管理费用同比下降4.85%,研发费用同比增长1.97%,财务费用同比下降52.96%。

资产重大变化方面,截至2023年年末,公司在建工程较上年末减少31.61%,占公司总资产比重下降3.24个百分点;交易性金融资产较上年末减少54.88%,占公司总资产比重下降2.24个百分点;应收账款较上年末增加18.30%,占公司总资产比重上升1.25个百分点;固定资产较上年末增加2.13%,占公司总资产比重上升1.21个百分点。

负债重大变化方面,截至2023年年末,公司应付账款较上年末增加10.53%,占公司总资产比重上升0.78个百分点;一年内到期的非流动负债较上年末增加7.63%,占公司总资产比重上升0.43个百分点;长期借款较上年末减少1.30%,占公司总资产比重下降0.28个百分点;短期借款较上年末减少26.44%,占公司总资产比重下降0.14个百分点。

2023年全年,公司研发投入金额为125.63亿元,同比下降0.31%;研发投入占营业收入比例为7.20%,相比上年同期上升0.14个百分点。此外,公司全年研发投入资本化率为16.71%。

在偿债能力方面,公司2023年年末资产负债率为52.81%,相比上年末上升0.85个百分点;有息资产负债率为35.24%,相比上年末基本持平。

2023年,公司流动比率为1.59,速动比率为1.32。

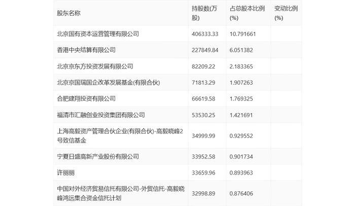
年报显示,2023年年末公司十大流通股东中,持股最多的为北京国有资本运营管理有限公司,占比10.79%。十大流通股东名单相比2023年三季报维持不变。在具体持股比例上,北京国有资本运营管理有限公司、香港中央结算有限公司、北京京东方投资发展有限公司、北京京国瑞国企改革发展基金(有限合伙)、合肥建翔投资有限公司、福清市汇融创业投资集团有限公司、上海高毅资产管理合伙企业(有限合伙)-高毅晓峰2号致信基金、宁夏日盛高新产业股份有限公司、许丽丽、中国对外经济贸易信托有限公司-外贸信托-高毅晓峰鸿远集合资金信托计划持股有所上升。

筹码集中度方面,截至2023年年末,公司股东总户数为123.1万户,较三季度末下降了2.61万户,降幅2.08%;户均持股市值由三季度末的11.43万元上升至11.63万元,增幅为1.75%。

指标注解:

市盈率

=总市值/净利润。当公司亏损时市盈率为负,此时用市盈率估值没有实际意义,往往用市净率或市销率做参考。

市净率

=总市值/净资产。市净率估值法多用于盈利波动较大而净资产相对稳定的公司。

市销率

=总市值/营业收入。市销率估值法通常用于亏损或微利的成长型公司。

文中市盈率和市销率采用TTM方式,即以截至最近一期财报(含预报)12个月的数据计算。市净率采用LF方式,即以最近一期财报数据计算。

市盈率为负时,不显示当期分位数,会导致折线图中断。

加载中...