新浪财经

中电电机:毛利率创上市以来新低 2023年净利润同比下降16.24% 拟10派0.6元

中证网

关注

中证智能财讯 中电电机(603988)3月30日披露2023年年报。2023年,公司实现营业总收入7.57亿元,同比下降11.93%;归母净利润4320.70万元,同比下降16.24%;扣非净利润2458.03万元,同比下降51.06%;经营活动产生的现金流量净额为3674.19万元,上年同期为-4068.80万元;报告期内,中电电机基本每股收益为0.18元,加权平均净资产收益率为6.67%。公司2023年年度利润分配预案为:拟向全体股东每10股派0.6元(含税)。

值得注意的是,2023年公司毛利率为22.75%,创2014年上市以来新低。

报告期内,公司合计非经常性损益为1862.67万元。

以3月29日收盘价计算,中电电机目前市盈率(TTM)约为49.92倍,市净率(LF)约为3.25倍,市销率(TTM)约为2.85倍。

公司近年市盈率(TTM)、市净率(LF)、市销率(TTM)历史分位图如下所示:

数据统计显示,中电电机近三年营业总收入复合增长率为-4.01%,在电机Ⅲ行业已披露2023年数据的6家公司中排名第6。近三年净利润复合年增长率为-36.81%,排名6/6。

资料显示,公司所从事的主要业务是研发、生产和销售大中型直流电动机、中高压交流电动机、发电机、电机试验站电源系统和开关试验站电源系统等成套设备。

分产品来看,2023年公司主营业务中,交流电机收入3.33亿元,同比下降19.93%,占营业收入的44.01%;发电机收入2.80亿元,同比下降16.88%,占营业收入的36.98%;直流电机收入0.74亿元,同比增长17.27%,占营业收入的9.73%。

截至2023年末,公司员工总数为907人,人均创收83.50万元,人均创利4.76万元,人均薪酬17.62万元,较上年同期分别变化-8.33%、-12.83%、9.49%。

2023年,公司毛利率为22.75%,同比下降3.04个百分点;净利率为5.70%,较上年同期下降0.30个百分点。从单季度指标来看,2023年第四季度公司毛利率为20.80%,同比下降6.67个百分点,环比下降5.24个百分点;净利率为13.13%,较上年同期上升9.25个百分点,较上一季度上升11.54个百分点。

分产品看,交流电机、发电机、直流电机2023年毛利率分别为24.35%、9.35%、26.12%。

报告期内,公司前五大客户合计销售金额2.41亿元,占总销售金额比例为31.77%,公司前五名供应商合计采购金额1.24亿元,占年度采购总额比例为25.45%。

数据显示,2023年公司加权平均净资产收益率为6.67%,较上年同期下降1.77个百分点;公司2023年投入资本回报率为6.92%,较上年同期下降1.67个百分点。

2023年,公司经营活动现金流净额为3674.19万元,同比增加7742.98万元;筹资活动现金流净额-1547.62万元,同比减少218.74万元;投资活动现金流净额645.13万元,上年同期为4072.6万元。

进一步统计发现,2023年公司自由现金流为4417.59万元,上年同期为-1958.77万元。

2023年,公司营业收入现金比为104.84%,净现比为85.04%。

营运能力方面,2023年,公司公司总资产周转率为0.66次,上年同期为0.72次(2022年行业平均值为0.74次,公司位居同行业11/21);固定资产周转率为6.22次,上年同期为6.97次(2022年行业平均值为5.01次,公司位居同行业5/21);公司应收账款周转率、存货周转率分别为2.29次、1.91次。

2023年,公司期间费用为1.35亿元,较上年同期减少1317.06万元;但期间费用率为17.87%,较上年同期上升0.60个百分点。其中,销售费用同比下降16.26%,管理费用同比增长2.56%,研发费用同比下降21.22%,财务费用同比增长2794.87%。

资产重大变化方面,截至2023年年末,公司存货较上年末减少23.77%,占公司总资产比重下降5.65个百分点;应收账款较上年末减少17.05%,占公司总资产比重下降3.70个百分点;货币资金较上年末增加57.07%,占公司总资产比重上升3.34个百分点;应收款项融资较上年末增加25.80%,占公司总资产比重上升3.03个百分点。

负债重大变化方面,截至2023年年末,公司应付账款较上年末减少31.59%,占公司总资产比重下降5.00个百分点;应付票据较上年末减少11.32%,占公司总资产比重下降0.88个百分点;合同负债较上年末减少20.56%,占公司总资产比重下降1.16个百分点;预计负债较上年末增加19.88%,占公司总资产比重上升0.72个百分点。

从存货变动来看,截至2023年末,公司存货账面价值为2.65亿元,占净资产的39.86%,较上年末减少8258.87万元。其中,存货跌价准备为3328.61万元,计提比例为11.16%。

2023年全年,公司研发投入金额为2712.38万元,同比下降21.22%;研发投入占营业收入比例为3.58%,相比上年同期下降0.42个百分点。此外,公司全年研发投入资本化率为0。

年报显示,截至报告期末,公司共拥有有效专利79项,其中发明专利54项,实用新型25项;有多项产品获江苏省高新技术产品。

在偿债能力方面,公司2023年年末资产负债率为40.23%,相比上年末下降6.04个百分点;有息资产负债率相比上年末基本持平。

2023年,公司流动比率为2.36,速动比率为1.70。

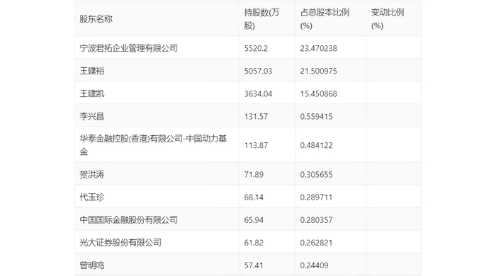
年报显示,2023年年末公司十大流通股东中,新进股东为华泰金融控股(香港)有限公司-中国动力基金、中国国际金融股份有限公司、光大证券股份有限公司、曾明鸣,取代了三季度末的金元顺安优质精选灵活配置混合型证券投资基金、中国国际金融香港资产管理有限公司-FT、寿宁凌波2号私募证券投资基金、J.P.Morgan Securities PLC-自有资金。在具体持股比例上,贺洪涛持股有所上升,代玉珍持股有所下降。

值得注意的是,根据年报数据,中电电机11.53%股份处于质押状态。其中,第二大股东王建裕质押1982.74万股公司股份,占其全部持股的39.21%。

筹码集中度方面,截至2023年年末,公司股东总户数为1.95万户,较三季度末下降了2436户,降幅11.13%;户均持股市值由三季度末的10.77万元上升至13.75万元,增幅为27.67%。

指标注解:

市盈率

=总市值/净利润。当公司亏损时市盈率为负,此时用市盈率估值没有实际意义,往往用市净率或市销率做参考。

市净率

=总市值/净资产。市净率估值法多用于盈利波动较大而净资产相对稳定的公司。

市销率

=总市值/营业收入。市销率估值法通常用于亏损或微利的成长型公司。

文中市盈率和市销率采用TTM方式,即以截至最近一期财报(含预报)12个月的数据计算。市净率采用LF方式,即以最近一期财报数据计算。

市盈率为负时,不显示当期分位数,会导致折线图中断。

加载中...