新浪财经

五矿发展:2023年净利润1.99亿元 同比下降45.64%

中证网

关注

中证智能财讯 五矿发展(600058)3月30日披露2023年年报。2023年,公司实现营业总收入789.96亿元,同比下降3.05%;归母净利润1.99亿元,同比下降45.64%;扣非净利润4872.71万元,同比下降78.86%;经营活动产生的现金流量净额为3.04亿元,同比下降78.99%;报告期内,五矿发展基本每股收益为0.11元,加权平均净资产收益率为2.34%。

报告期内,公司合计非经常性损益为1.51亿元,其中债务重组损益为2.18亿元,其他符合非经常性损益定义的损益项目为-1.34亿元。

以3月29日收盘价计算,五矿发展目前市盈率(TTM)约为45.03倍,市净率(LF)约为1.19倍,市销率(TTM)约为0.11倍。

公司近年市盈率(TTM)、市净率(LF)、市销率(TTM)历史分位图如下所示:

数据统计显示,五矿发展近三年营业总收入复合增长率为5.48%,近三年净利润复合年增长率为-9.49%。

年报显示,公司主要从事资源贸易、金属贸易、供应链服务三大类业务。

分产品来看,2023年公司主营业务中,钢铁收入424.36亿元,占营业收入的53.72%;冶金原材料收入322.12亿元,占营业收入的40.78%;服务收入43.48亿元,占营业收入的5.50%。

截至2023年末,公司员工总数为2718人,同比减少10.24%;人均创收2906.39万元,人均创利7.33万元,人均薪酬36.33万元,较上年同期分别变化8.01%、-39.44%、10.71%。

2023年,公司毛利率为3.05%,同比下降0.55个百分点;净利率为0.23%,较上年同期下降0.23个百分点。从单季度指标来看,2023年第四季度公司毛利率为3.56%,同比上升0.16个百分点,环比上升1.06个百分点;净利率为0.03%,较上年同期下降0.02个百分点,较上一季度上升0.19个百分点。

分产品看,钢铁、冶金原材料、服务2023年毛利率分别为3.50%、1.85%、7.63%。

报告期内,公司前五大客户合计销售金额106.40亿元,占总销售金额比例为13.48%,公司前五名供应商合计采购金额120.03亿元,占年度采购总额比例为15.68%。

数据显示,2023年公司加权平均净资产收益率为2.34%,较上年同期下降1.57个百分点;公司2023年投入资本回报率为3.07%,较上年同期下降2.09个百分点。

2023年,公司经营活动现金流净额为3.04亿元,同比下降78.99%;筹资活动现金流净额-7.92亿元,同比增加11.56亿元;投资活动现金流净额-3565.23万元,上年同期为2416.7万元。

进一步统计发现,2023年公司自由现金流为7.53亿元,相比上年同期下降32.87%。

2023年,公司营业收入现金比为139.98%,净现比为152.63%。

营运能力方面,2023年,公司公司总资产周转率为3.44次,上年同期为3.43次(2022年行业平均值为1.87次,公司位居同行业2/14);固定资产周转率为80.76次,上年同期为82.86次(2022年行业平均值为52.70次,公司位居同行业5/14);公司应收账款周转率、存货周转率分别为9.51次、24.56次。

2023年,公司期间费用为16.61亿元,较上年同期减少1.76亿元;期间费用率为2.10%,较上年同期下降0.15个百分点。其中,销售费用同比下降10.79%,管理费用同比增长3.52%,研发费用同比下降44.33%,财务费用同比下降37.14%。

资产重大变化方面,截至2023年年末,公司应收票据较上年末增加296.12%,占公司总资产比重上升5.31个百分点;应收款项融资较上年末增加171.90%,占公司总资产比重上升3.31个百分点;存货较上年末减少21.29%,占公司总资产比重下降2.96个百分点;预付款项较上年末减少23.61%,占公司总资产比重下降2.65个百分点。

负债重大变化方面,截至2023年年末,公司短期借款较上年末减少74.97%,占公司总资产比重下降10.46个百分点,主要系本期公司发行了25亿元可续期公司债券,相应偿还银行借款;应付票据较上年末增加20.88%,占公司总资产比重上升5.19个百分点;其他应付款(含利息和股利)较上年末减少38.16%,占公司总资产比重下降4.13个百分点;长期借款较上年末减少94.90%,占公司总资产比重下降2.99个百分点。

从存货变动来看,截至2023年年末,公司存货账面价值为27.46亿元,占净资产的36.51%,较上年末减少6.37亿元。其中,存货跌价准备为6272.56万元,计提比例为2.23%。

2023年全年,公司研发投入金额为1095.13万元,同比下降44.33%;研发投入占营业收入比例为0.01%,相比上年同期下降0.02个百分点。此外,公司全年研发投入资本化率为0。

在偿债能力方面,公司2023年年末资产负债率为66.32%,相比上年末下降11.69个百分点;有息资产负债率为5.79%,相比上年末下降13.84个百分点。

2023年,公司流动比率为1.33,速动比率为1.14。

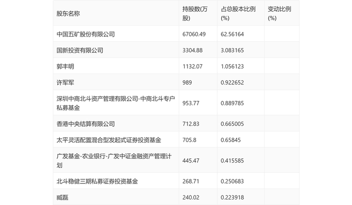
年报显示,2023年年末公司十大流通股东中,新进股东为北斗稳健三期私募证券投资基金,取代了三季度末的牛红霞。在具体持股比例上,郭丰明、深圳中商北斗资产管理有限公司-中商北斗专户私募基金、香港中央结算有限公司、太平灵活配置混合型发起式证券投资基金、臧磊持股有所上升,许军军持股有所下降。

筹码集中度方面,截至2023年年末,公司股东总户数为5.11万户,较三季度末下降了879户,降幅1.69%;户均持股市值由三季度末的19.57万元上升至19.69万元,增幅为0.61%。

指标注解:

市盈率

=总市值/净利润。当公司亏损时市盈率为负,此时用市盈率估值没有实际意义,往往用市净率或市销率做参考。

市净率

=总市值/净资产。市净率估值法多用于盈利波动较大而净资产相对稳定的公司。

市销率

=总市值/营业收入。市销率估值法通常用于亏损或微利的成长型公司。

文中市盈率和市销率采用TTM方式,即以截至最近一期财报(含预报)12个月的数据计算。市净率采用LF方式,即以最近一期财报数据计算。

市盈率为负时,不显示当期分位数,会导致折线图中断。

加载中...