新浪财经

涉案超1亿元!国足原主教练李铁当庭认罪

商学院

关注

走过金元足球的时代,随着足坛土壤净化,中国足球如何重新走上正轨?这对足球从业人员提出了怎样的要求?

国足原主教练李铁案一审开庭:涉案超1亿元,当庭表示认罪悔罪,将择期宣判。

01

涉案超1亿元

李铁将如何量刑?

据湖北省咸宁市中级人民法院通报,3月28日,咸宁中院一审公开开庭审理了国足前主帅李铁受贿、行贿、单位行贿、非国家工作人员受贿、对非国家工作人员行贿一案,其涉案金额约1.1969亿元人民币。

咸宁市人民检察院指控:

2019年至2021年,被告人李铁利用担任中国国家男子足球选拔队主教练、中国国家男子足球队主教练职务上的便利或者职权、地位形成的便利条件,为相关单位和个人在球员入选国家队、赢得比赛、签约俱乐部等事项上提供帮助,非法收受他人给予的人民币共计5089万余元。

2019年,李铁为当选男足国家队主教练,请托他人提供帮助,后于2020年给予他人人民币100万元。

2019年,李铁在武汉卓尔职业足球俱乐部有限公司(以下简称“卓尔俱乐部”)任职期间,为谋取当选男足国家选拔队主教练、提高卓尔俱乐部影响力等利益,与该俱乐部负责人商定,请托他人提供帮助,该俱乐部给予他人人民币200万元。

2017年至2019年,李铁利用担任卓尔俱乐部总经理、主教练职务上的便利,为河北华夏幸福足球俱乐部有限公司(以下简称华夏俱乐部)在球员转会、赢得比赛等事项上提供帮助,先后收受华夏俱乐部给予的人民币共计2675万元。

2015年至2019年,李铁先后在华夏俱乐部、卓尔俱乐部任职期间,为赢得比赛或获得有利比赛结果,与俱乐部负责人商定,请托其他足球俱乐部在比赛中配合或者消极比赛,华夏俱乐部、卓尔俱乐部给予相关人员钱款共计折合人民币3905万余元。

检察机关提请以受贿罪、行贿罪、单位行贿罪、非国家工作人员受贿罪、对非国家工作人员行贿罪追究李铁的刑事责任。

庭审中,检察机关出示了相关证据,被告人李铁及其辩护人进行了质证,控辩双方在法庭的主持下充分发表了意见,李铁进行了最后陈述,当庭表示认罪悔罪。

庭审最后,法庭宣布休庭,择期宣判。

北京师范大学法学院教授、中国廉政法制研究会常务理事兼副秘书长彭新林分析,在李铁涉嫌的两项“收钱”罪名中,受贿罪只有国家工作人员才能构成,应该与其利用担任中国国家男子足球队助理教练或者主教练的职务便利有关;至于非国家工作人员受贿罪,应与其利用担任相关公司、企业或者足球俱乐部教练或负责人的职务便利有关。

据中国新闻网报道,天津观夏律师事务所高级合伙人郭凯表示,李铁所涉罪名均为行贿受贿类犯罪。他解释称,对于受贿类的犯罪,基于李铁收受贿赂时的身份,构成了受贿罪和非国家工作人员受贿罪。例如,若李铁在担任国足主帅时受贿,因他具有国家工作人员身份,其接受贿赂的行为就构成了受贿罪。同理,对于行贿类案件,基于行贿的对象不同,构成了行贿罪和非国家工作人员行贿罪。

此外,单位行贿罪是指除基于个人原因行贿外,还为单位谋取不正当利益进行行贿。李铁因单位行贿罪被起诉的犯罪事实,有可能是他在俱乐部任职期间向相关部门相关人员行贿。

郭凯表示,行贿受贿类案件,刑罚的最终结果与犯罪金额密切相关。他分析称,依据现有公开资料,无法预估李铁可能面临的刑期,但在数罪并罚之下,刑期应不会太短。

彭新林对《北京日报》表示,综合来看,李铁可能被判处10年以上有期徒刑或者无期徒刑。他所涉五项罪名肯定要进行数罪并罚,李铁会为其犯罪行为付出沉重代价,教训十分深刻。

3月28日晚,北京市京师律师事务所合伙人姚志斗律师对界面新闻表示,从法院通报的庭审情况来看,对于检察机关指控的5项罪名,李铁表示认罪、悔罪,说明他对于罪名是没有异议的。李铁有了悔罪的态度,这在最后量刑时会是一个考量情节,但是要特别注意的是,通报没有提到退赃的情节。

“如果单从涉案金额和罪名来看,数罪并罚最高刑是可以构成死刑的,但是目前我国司法机关对于判处死刑比较审慎。此外,李铁悔罪态度较好,如果考虑到如实供述、认罪认罚情节的话,最后法院有可能会判处无期徒刑或死缓。”姚志斗说。

不过,姚志斗指出,目前,外界只能通过法院通报的检察机关指控来分析,信息量比较少,而且,通报也没有提到检察机关的量刑建议,这些信息都还没有披露,“最后判罚可能还要结合悔罪、认罪、退赃等情节上的考量,去综合评判。”

02

李铁个人商业版图与体育关联密切

作为中国国家男子足球队原主教练,李铁除了执教期间行贿受贿的非法收入所得外,其个人的商业版图也极其庞杂且均与体育关联密切。

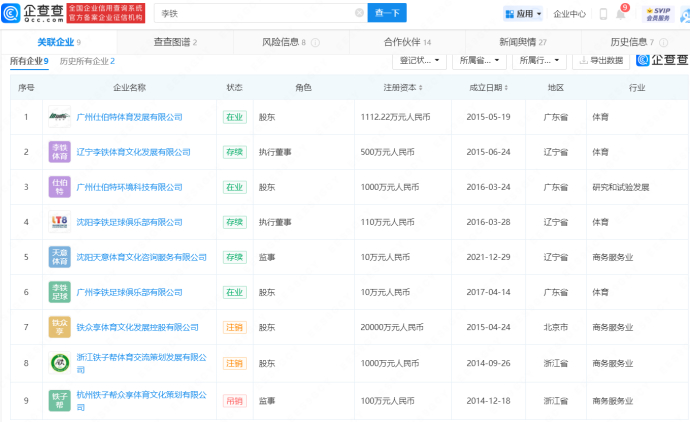
企查查APP显示,李铁关联有9家企业,其中6家为存续状态,包括广州仕伯特体育发展有限公司、沈阳李铁足球俱乐部有限公司等。而在上述公司中,其妻子龙菲担任多家公司法定代表人,李铁本人则在沈阳李铁足球俱乐部有限公司、辽宁李铁体育文化发展有限公司担任执行董事,在沈阳天意体育文化咨询服务有限公司担任监事。

值得注意的是,李铁关联的“铁子帮足球”企业族群还注册有“铁子帮”“铁丝联盟”等商标,目前该企业族群3家公司已全部被吊注销。

2015年,李铁率先成立了广州仕伯特体育发展有限公司,这家公司主营业务为幼儿足球教育,注册资本1112.2万元,参保人数仅7人。公司官网显示,李铁幼儿足球教育已涵盖全国15个省67个城市,累计覆盖1028所幼儿园,足球学员超过10万名。作为这家公司的创始人之一,李铁担任公司第二大股东,持股比例36%。其他股东中包括前国脚郜林和于汉超。

此外,李铁还将沈阳的公益8号公园常年据为己有,通过建造青少年足球训练场和出租承办体育活动,每年营业额高达数千万。根据李铁8号足球公园微信官网账号,其运营主体为沈阳李铁足球俱乐部有限公司,该公司的法定代表人为李铁妻子龙菲,李铁在该企业担任执行董事。

值得一提的是,此前因“民间借贷纠纷”,李铁被2度卷进司法案件中,涉及金额达39万余元。

03

足坛反腐大幕正式拉开

3月26日,中国足球协会原主席陈戌源因受贿8103万余元已被判处无期徒刑,这是中国足球史上所有“落马官员”中最重的量刑,讽刺的是,因为“主动交代犯罪事实”“揭发他人犯罪行为”“积极退赃”,陈戌源的无期徒刑已经是从轻处罚的结果。

此外,中国田径协会原主席、中国足协原副主席于洪臣被判处有期徒刑13年,中超联赛有限责任公司原总经理董铮被判处有期徒刑8年,中国足球协会原常务副秘书长兼国家队管理部原部长陈永亮被判处有期徒刑14年。

2022年11月,中国国家男子足球队原主教练李铁被监察机关立案调查,足坛反腐由此拉开大幕。

2024年1月,央视播出的反腐专题片中披露,李铁靠行贿成为国足主帅,并在担任华夏幸福、武汉卓尔俱乐部主教练期间涉嫌操纵比赛。

2015年8月,李铁加盟河北华夏幸福俱乐部,首次担任主教练,赛季最后八场打出了一波神奇的八连胜,球队冲超成功。经调查,所谓冲超奇迹完全是金钱之手在背后操弄。例如赛季最后一场,华夏幸福砸下1400万元重金给对手深圳队。

李铁在华夏幸福俱乐部打假球尝到了“甜头”,到2017年他被聘为武汉卓尔俱乐部主教练时,开始主动向俱乐部推销假球。

2019年8月,当李铁得知中国足协要组建男足国家选拔队参加东亚杯时,感到机会来了。

为了“上位”国足主帅,李铁游说武汉卓尔俱乐部向陈戌源行贿200万元,自掏腰包送给原足协秘书长刘奕100万元。

如愿成为国足主帅后,李铁与卓尔俱乐部以总额6000万元的金额,签下了一纸所谓的“合同”,实际只是以此为幌子,来掩盖权钱交易的本质。随后,他很快将卓尔队的四名球员选入了国家队大名单。

据悉,李铁任职期间贪污敛财数亿,主要通过几种方式:和老东家谈“合作”,6000万元带4名队员进国家队;买卖国脚名额,500万元一位;强制兼任武汉卓尔俱乐部,3000万元年薪。

04

中国足球如何重新走上正轨?

“我所做的每一件事儿都与足球有关。”李铁曾多次对外表达对足球的热爱。只是从憎恨踢假球到主动打假球,不仅仅是因为李铁个人观念发生了转变,更重要的原因是,整个足球领域的行业生态已经遭到严重破坏。一些球员、教练、俱乐部、足协官员,已经结成利益牵连的“腐败共同体”。李铁的腐败,不是一个人的单骑闯关,而是球场内外一群人的相互配合。

回顾此次系列腐败案会发现,“金元足球”起到了推波助澜的作用。

金元足球,顾名思义就是大力投入人力、物力、财力打造出一支豪华的足球俱乐部,以追求在最短时间内提高球队的技术水平,球队取得好的成绩或增加俱乐部的曝光度。“金元足球”时代众多资本的搅局让原本清澈的绿茵场逐渐陷入污染的深渊。

早在2017年,国家体育总局足球运动管理中心和中国足协就已完成了“管办分离”,以前是“一套人马两块牌子”,后来足协就独立出来。不过,至今没有形成像英超、西甲那样的职业联盟,所以足协对中超公司仍然有超越一般股东的权力,不仅是监管、服务,更多的是决定权。这就给腐败提供了基础。

据《中国新闻周刊》报道,广州富力队投资人张力曾对外公开表示:“尽快落实职业联盟成立是投资人的共识。加快推进职业联盟、推向市场化是中超发展的需要。”几乎所有俱乐部都认为,只有中国足球职业联盟成立,并替代中超公司的职责,才是“管办分离”迈出实质性的一步。

彭新林对《北京日报》介绍,推进管办分离,就是在探讨如何科学有效地构建一个权力运行的监督制约机制,科学地配置权力,让权力结构更加合理。从制度建设的角度来看,我认为这倒是一个有效遏制足坛腐败滋生蔓延的治本之策。以分解和制衡权力为核心,进一步改革和完善足协的权力结构,形成结构合理、配置科学、制约有效的格局,应当是未来努力的方向。

举例来说,联赛管理这样一个重要业务,应当有两个或两个以上具有相互制约关系的部门或组织来完成,而且要适时开展这些重点部门关键岗位的交流轮岗,防止发生内部人控制的情况,特别是防止一把手成为“一霸手”。

一体推进“三不腐”,其中“不能腐”就是要采取有效措施,完善相关的体制机制,堵塞制度漏洞,把权力关进制度的笼子,不给腐败行为留下暗门和空间,这才是治本之策。

此外,对外,足协也在加强社会监督机制。3月28日,中国足球协会发布了《中国足球协会关于聘请足球社会监督员的通告》(以下简称为《通告》),拟面向全国公开聘请足球社会监督员。

《通告》显示,面向全国新闻媒体、球迷组织聘请监督员若干名;面向足球职业联赛赛区所在城市邀请纪检监察部门代表、人大和政协代表若干名作为监督员参与监督工作。

《通告》中还提到,欢迎原则上不超过65周岁,具备一定足球知识或行政管理经验,且无犯罪记录或其他社会不良记录的中国公民积极报名。

据了解,足球社会监督员的工作职责主要包括:听取中国足球协会关于足球重点工作情况的通报,对相关工作提出意见和建议;参加足球职业联赛、青少年比赛、裁判员选派等活动的监督工作;开展足球工作调研,收集社会各界对足球发展的意见,向中国足球协会提出政策性建议;对足球行业从业人员遵纪守法、廉洁自律、履职尽责等情况进行监督,向中国足球协会报告监督情况,反馈发现的问题,提出改进工作建议;遵守纪律、保守秘密,未经允许不得公开或泄露参与监督活动获悉的工作内容和信息。

来源 | 《商学院》杂志综合自咸宁中院、足球报、北京日报、中央纪委国家监委网站、界面新闻、深圳新闻网·读特客户端

封面 | 视觉中国

编辑 | 吴蒙

加载中...