新浪财经

海信家电:2023年净利润同比增长97.73% 拟10派10.13元

中证网

关注

中证智能财讯 海信家电(000921)3月30日披露2023年年报。2023年,公司实现营业总收入856.00亿元,同比增长15.50%;归母净利润28.37亿元,同比增长97.73%;扣非净利润23.55亿元,同比增长160.07%;经营活动产生的现金流量净额为106.12亿元,同比增长163.17%;报告期内,海信家电基本每股收益为2.08元,加权平均净资产收益率为22.64%。公司2023年年度利润分配预案为:拟向全体股东每10股派10.13元(含税)。

以3月29日收盘价计算,海信家电目前市盈率(TTM)约为14.88倍,市净率(LF)约为3.11倍,市销率(TTM)约为0.49倍。

公司近年市盈率(TTM)、市净率(LF)、市销率(TTM)历史分位图如下所示:

数据统计显示,海信家电近三年营业总收入复合增长率为20.94%,在家用电器行业已披露2023年数据的19家公司中排名第3。近三年净利润复合年增长率为21.58%,排名7/19。

分产品来看,2023年公司主营业务中,暖通空调收入386.52亿元,同比增长12.04%,占营业收入的45.15%;冰洗收入260.70亿元,同比增长22.93%,占营业收入的30.46%。

截至2023年末,公司员工总数为56240人,人均创收152.21万元,人均创利5.04万元,人均薪酬15.02万元,较上年同期分别增长1.38%、73.56%、2.08%。

2023年,公司毛利率为22.08%,同比上升1.39个百分点;净利率为5.60%,较上年同期上升1.46个百分点。从单季度指标来看,2023年第四季度公司毛利率为22.04%,同比上升0.65个百分点,环比下降1.17个百分点;净利率为4.00%,较上年同期下降0.51个百分点,较上一季度下降2.72个百分点。

分产品看,暖通空调、冰洗2023年毛利率分别为30.66%、19.11%。

报告期内,公司前五大客户合计销售金额253.01亿元,占总销售金额比例为29.56%,公司前五名供应商合计采购金额61.24亿元,占年度采购总额比例为9.18%。

数据显示,2023年公司加权平均净资产收益率为22.64%,较上年同期增长9.51个百分点;公司2023年投入资本回报率为24.02%,较上年同期增长7.50个百分点。

2023年,公司经营活动现金流净额为106.12亿元,同比增长163.17%;筹资活动现金流净额-6.21亿元,同比增加11.57亿元;投资活动现金流净额-95.57亿元,上年同期为-25.98亿元。

进一步统计发现,2023年公司自由现金流为21.94亿元,相比上年同期下降59.28%。

2023年,公司营业收入现金比为89.74%,净现比为374.01%。

营运能力方面,2023年,公司公司总资产周转率为1.41次,上年同期为1.33次(2022年行业平均值为0.86次,公司位居同行业7/94);公司应收账款周转率、存货周转率分别为10.14次、10.01次。

2023年,公司期间费用为141.82亿元,较上年同期增加21.83亿元;期间费用率为16.57%,较上年同期上升0.38个百分点。其中,销售费用同比增长15.37%,管理费用同比增长26.07%,研发费用同比增长21.41%,财务费用由去年同期的-1.82亿元变为-2.05亿元。

资产重大变化方面,截至2023年年末,公司交易性金融资产较上年末增加95.20%,占公司总资产比重上升7.80个百分点;货币资金较上年末减少17.70%,占公司总资产比重下降3.35个百分点;应收款项融资较上年末减少8.47%,占公司总资产比重下降2.12个百分点;一年内到期的非流动资产较上年末增加83.29%,占公司总资产比重上升1.93个百分点。

负债重大变化方面,截至2023年年末,公司应付票据较上年末增加29.02%,占公司总资产比重上升1.70个百分点;应付账款较上年末增加24.00%,占公司总资产比重上升0.72个百分点;短期借款较上年末增加71.13%,占公司总资产比重上升1.15个百分点;其他流动负债较上年末增加14.16%,占公司总资产比重下降0.42个百分点。

从存货变动来看,截至2023年年末,公司存货账面价值为67.75亿元,占净资产的49.89%,较上年末增加2.22亿元。其中,存货跌价准备为9390.3万元,计提比例为1.37%。

2023年全年,公司研发投入金额为27.80亿元,同比增长14.90%;研发投入占营业收入比例为3.25%,相比上年同期下降0.01个百分点。此外,公司全年研发投入资本化率为0。

在偿债能力方面,公司2023年年末资产负债率为70.59%,相比上年末下降0.01个百分点;有息资产负债率为4.04%,相比上年末上升1.10个百分点。

2023年,公司流动比率为1.02,速动比率为0.87。

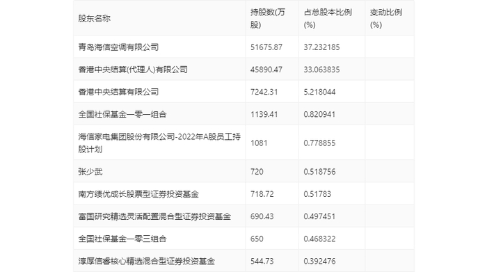
年报显示,2023年年末公司十大流通股东中,新进股东为南方绩优成长股票型证券投资基金、全国社保基金一零三组合,取代了三季度末的中欧阿尔法混合型证券投资基金、中国工商银行股份有限公司-富国天惠精选成长混合型证券投资基金(LOF)。在具体持股比例上,青岛海信空调有限公司、香港中央结算(代理人)有限公司、香港中央结算有限公司、全国社保基金一零一组合、海信家电集团股份有限公司-2022年A股员工持股计划、张少武、富国研究精选灵活配置混合型证券投资基金持股有所上升,淳厚信睿核心精选混合型证券投资基金持股有所下降。

指标注解:

市盈率

=总市值/净利润。当公司亏损时市盈率为负,此时用市盈率估值没有实际意义,往往用市净率或市销率做参考。

市净率

=总市值/净资产。市净率估值法多用于盈利波动较大而净资产相对稳定的公司。

市销率

=总市值/营业收入。市销率估值法通常用于亏损或微利的成长型公司。

文中市盈率和市销率采用TTM方式,即以截至最近一期财报(含预报)12个月的数据计算。市净率采用LF方式,即以最近一期财报数据计算。

市盈率为负时,不显示当期分位数,会导致折线图中断。

加载中...