新浪财经

银河磁体:2023年净利润同比下降6.10% 连降两年

中证网

关注

中证智能财讯 银河磁体(300127)3月30日披露2023年年报。2023年,公司实现营业总收入8.24亿元,同比下降16.95%;归母净利润1.61亿元,同比下降6.10%;扣非净利润1.58亿元,同比下降6.06%;经营活动产生的现金流量净额为2515.20万元,同比下降88.39%;报告期内,银河磁体基本每股收益为0.5元,加权平均净资产收益率为11.45%。公司2023年年度利润分配预案为:拟向全体股东每10股派4元(含税)。

值得注意的是,公司归母净利润已是连续第二年出现同比下降,2022年,公司归母净利润同比下降11.51%。

以3月29日收盘价计算,银河磁体目前市盈率(TTM)约为29.71倍,市净率(LF)约为3.34倍,市销率(TTM)约为5.8倍。

公司近年市盈率(TTM)、市净率(LF)、市销率(TTM)历史分位图如下所示:

数据统计显示,银河磁体近三年营业总收入复合增长率为10.89%,在磁性材料行业已披露2023年数据的7家公司中排名第7。近三年净利润复合年增长率为2.90%,排名4/7。

资料显示,公司从事钐钴磁体和热压钕铁硼磁体的研发、生产和销售。

分产品来看,2023年公司主营业务中,粘结磁体收入7.46亿元,同比下降15.67%,占营业收入的90.57%;热压磁体收入0.58亿元,同比下降24.15%,占营业收入的6.98%;钐钴磁体收入0.16亿元,同比下降33.85%,占营业收入的2.00%。

2023年,公司毛利率为32.21%,同比上升4.54个百分点;净利率为19.54%,较上年同期上升2.19个百分点。从单季度指标来看,2023年第四季度公司毛利率为23.99%,同比下降1.98个百分点,环比下降8.89个百分点;净利率为7.74%,较上年同期下降3.70个百分点,较上一季度下降12.49个百分点。

报告期内,公司前五大客户合计销售金额3.10亿元,占总销售金额比例为37.68%,公司前五名供应商合计采购金额3.85亿元,占年度采购总额比例为62.10%。

数据显示,2023年公司加权平均净资产收益率为11.45%,较上年同期下降1.02个百分点;公司2023年投入资本回报率为10.10%,较上年同期下降1.10个百分点。

2023年,公司经营活动现金流净额为2515.20万元,同比下降88.39%;筹资活动现金流净额-5926.30万元,同比增加9441.58万元;投资活动现金流净额-2451.69万元,上年同期为-5324.03万元。

进一步统计发现,2023年公司自由现金流为-2114.81万元,上年同期为12185.83万元。

2023年,公司营业收入现金比为114.21%,净现比为15.62%。

营运能力方面,2023年,公司公司总资产周转率为0.53次,上年同期为0.66次(2022年行业平均值为0.77次,公司位居同行业9/13);固定资产周转率为2.61次,上年同期为3.15次(2022年行业平均值为4.79次,公司位居同行业11/13);公司应收账款周转率、存货周转率分别为3.40次、2.36次。

2023年,公司期间费用为8065.51万元,较上年同期增加672.48万元;期间费用率为9.79%,较上年同期上升2.34个百分点。其中,销售费用同比增长19.08%,管理费用同比下降17.93%,研发费用同比增长8.05%,财务费用由去年同期的-2732.71万元变为-1789.15万元。

资产重大变化方面,截至2023年年末,公司存货较上年末增加67.58%,占公司总资产比重上升7.08个百分点;货币资金较上年末减少9.30%,占公司总资产比重下降5.29个百分点;应收票据较上年末增加41.05%,占公司总资产比重上升2.50个百分点;应收账款较上年末减少10.27%,占公司总资产比重下降2.35个百分点。

负债重大变化方面,截至2023年年末,公司应付账款较上年末减少47.45%,占公司总资产比重下降2.23个百分点;应交税费较上年末减少38.26%,占公司总资产比重下降0.21个百分点;长期递延收益较上年末减少37.68%,占公司总资产比重下降0.16个百分点;应付职工薪酬较上年末减少3.25%,占公司总资产比重下降0.12个百分点。

从存货变动来看,截至2023年末,公司存货账面价值为2.96亿元,占净资产的20.7%,较上年末增加1.2亿元。公司本期没有计提存货跌价准备。

2023年全年,公司研发投入金额为5317.01万元,同比增长8.05%;研发投入占营业收入比例为6.45%,相比上年同期上升1.49个百分点。此外,公司全年研发投入资本化率为0。

在偿债能力方面,公司2023年年末资产负债率为9.45%,相比上年末上升1.76个百分点;有息资产负债率为4.49%,相比上年末上升4.49个百分点。

2023年,公司流动比率为8.54,速动比率为6.50。

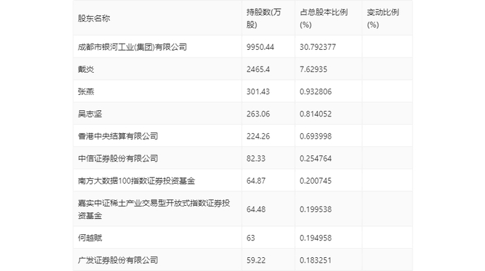
年报显示,2023年年末公司十大流通股东中,新进股东为何越赋、广发证券股份有限公司,取代了三季度末的光大证券股份有限公司、华泰证券股份有限公司。在具体持股比例上,香港中央结算有限公司、中信证券股份有限公司、南方大数据100指数证券投资基金、嘉实中证稀土产业交易型开放式指数证券投资基金持股有所上升。

筹码集中度方面,截至2023年年末,公司股东总户数为2.69万户,较三季度末下降了2215户,降幅7.62%;户均持股市值由三季度末的20.03万元上升至20.83万元,增幅为3.99%。

指标注解:

市盈率

=总市值/净利润。当公司亏损时市盈率为负,此时用市盈率估值没有实际意义,往往用市净率或市销率做参考。

市净率

=总市值/净资产。市净率估值法多用于盈利波动较大而净资产相对稳定的公司。

市销率

=总市值/营业收入。市销率估值法通常用于亏损或微利的成长型公司。

文中市盈率和市销率采用TTM方式,即以截至最近一期财报(含预报)12个月的数据计算。市净率采用LF方式,即以最近一期财报数据计算。

市盈率为负时,不显示当期分位数,会导致折线图中断。

加载中...