新浪财经

煌上煌:2023年净利润同比增长129.01% 拟10派1.8元

腾讯美股

关注

煌上煌(002695)3月30日披露2023年年报。2023年,公司实现营业总收入19.21亿元,同比下降1.70%;归母净利润7058.55万元,同比增长129.01%;扣非净利润4844.88万元,同比增长1039.39%;经营活动产生的现金流量净额为2.18亿元,同比下降43.34%;报告期内,煌上煌基本每股收益为0.124元,加权平均净资产收益率为2.93%。公司2023年年度利润分配预案为:拟向全体股东每10股派1.8元(含税)。

以3月29日收盘价计算,煌上煌目前市盈率(TTM)约为65.25倍,市净率(LF)约为1.65倍,市销率(TTM)约为2.4倍。

公司近年市盈率(TTM)、市净率(LF)、市销率(TTM)历史分位图如下所示:

数据统计显示,煌上煌近三年营业总收入复合增长率为-7.62%,在休闲食品行业已披露2023年数据的9家公司中排名第8。近三年净利润复合年增长率为-36.99%,排名9/9。

年报显示,公司主要业务为酱卤肉制品、米制品及少量佐餐凉菜等其他产品的开发、生产和销售。

分产品来看,2023年公司主营业务中,鲜货产品收入14.13亿元,同比下降0.94%,占营业收入的73.58%;米制品业务收入3.58亿元,同比增长5.31%,占营业收入的18.62%;包装产品收入0.54亿元,同比下降22.81%,占营业收入的2.84%。

截至2023年末,公司员工总数为2126人,人均创收90.34万元,人均创利3.32万元,人均薪酬12.33万元,较上年同期分别变化-0.96%、130.73%、1.19%。

2023年,公司毛利率为29.06%,同比上升0.90个百分点;净利率为3.45%,较上年同期上升2.46个百分点。从单季度指标来看,2023年第四季度公司毛利率为30.69%,同比上升6.39个百分点,环比下降0.61个百分点;净利率为-9.39%,较上年同期上升9.12个百分点,较上一季度下降13.34个百分点。

分产品看,鲜货产品、米制品业务、包装产品2023年毛利率分别为32.49%、18.06%、21.94%。

报告期内,公司前五大客户合计销售金额1.32亿元,占总销售金额比例为7.07%,公司前五名供应商合计采购金额2.16亿元,占年度采购总额比例为15.34%。

数据显示,2023年公司加权平均净资产收益率为2.93%,较上年同期增长1.61个百分点;公司2023年投入资本回报率为2.11%,较上年同期增长1.53个百分点。

2023年,公司经营活动现金流净额为2.18亿元,同比下降43.34%;筹资活动现金流净额2.40亿元,同比增加2.05亿元;投资活动现金流净额-3.56亿元,上年同期为-1.97亿元。

进一步统计发现,2023年公司自由现金流为-1.47亿元,上年同期为2.40亿元。

2023年,公司营业收入现金比为117.38%,净现比为308.81%。

营运能力方面,2023年,公司公司总资产周转率为0.60次,上年同期为0.65次(2022年行业平均值为0.85次,公司位居同行业16/21);固定资产周转率为2.54次,上年同期为2.85次(2022年行业平均值为3.78次,公司位居同行业16/21);公司应收账款周转率存货周转率分别为32.85次、2.68次。

2023年,公司期间费用为4.95亿元,较上年同期减少3131.86万元;期间费用率为25.76%,较上年同期下降1.16个百分点。其中,销售费用同比下降10.3%,管理费用同比增长4.14%,研发费用同比下降1.12%,财务费用由去年同期的-583.31万元变为-1015.10万元。

资产重大变化方面,截至2023年年末,公司其他流动资产较上年末增加76.32%,占公司总资产比重上升2.81个百分点;存货较上年末减少3.87%,占公司总资产比重下降2.45个百分点;应收账款较上年末减少48.77%,占公司总资产比重下降1.40个百分点;在建工程较上年末增加36.27%,占公司总资产比重上升1.07个百分点。

负债重大变化方面,截至2023年年末,公司短期借款较上年末减少77.39%,占公司总资产比重下降3.47个百分点,主要系子公司归还银;应付账款较上年末增加46.57%,占公司总资产比重上升0.90个百分点;应交税费较上年末减少58.30%,占公司总资产比重下降0.47个百分点;其他应付款(含利息和股利)较上年末增加4.73%,占公司总资产比重下降0.34个百分点。

从存货变动来看,截至2023年年末,公司存货账面价值为4.98亿元,占净资产的17.82%。根据财报,公司本期没有计提存货跌价准备。

2023年全年,公司研发投入金额为5653.11万元,同比下降1.12%;研发投入占营业收入比例为2.94%,相比上年同期上升0.01个百分点。此外,公司全年研发投入资本化率为0。

在偿债能力方面,公司2023年年末资产负债率为16.78%,相比上年末下降3.87个百分点;有息资产负债率为1.17%,相比上年末下降3.48个百分点。

2023年,公司流动比率为5.25,速动比率为3.93。

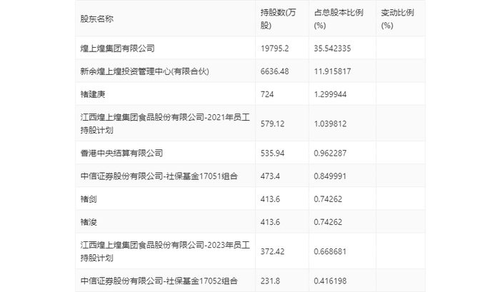
年报显示,2023年年末公司十大流通股东中,新进股东为中信证券股份有限公司-社保基金17052组合,取代了三季度末的中邮未来成长混合型证券投资基金。在具体持股比例上,香港中央结算有限公司持股有所上升。

筹码集中度方面,截至2023年年末,公司股东总户数为4.11万户,较三季度末增长了49户,增幅0.12%;户均持股市值由三季度末的15.30万元下降至14.18万元,降幅为7.32%。

指标注解:

市盈率

=总市值/净利润。当公司亏损时市盈率为负,此时用市盈率估值没有实际意义,往往用市净率或市销率做参考。

市净率

=总市值/净资产。市净率估值法多用于盈利波动较大而净资产相对稳定的公司。

市销率

=总市值/营业收入。市销率估值法通常用于亏损或微利的成长型公司。

文中市盈率和市销率采用TTM方式,即以截至最近一期财报(含预报)12个月的数据计算。市净率采用LF方式,即以最近一期财报数据计算。

市盈率为负时,不显示当期分位数,会导致折线图中断。文章来源:中国证券报·中证网文章作者:李香才原标题:煌上煌:2023年净利润同比增长129.01% 拟10派1.8元

加载中...