新浪财经

中国银行:2023年净利润同比增长2.38% 拟10派2.364元

中证网

关注

中证智能财讯 中国银行(601988)3月29日披露2023年年报。2023年,公司实现营业总收入6228.89亿元,同比增长6.41%;归母净利润2319.04亿元,同比增长2.38%;扣非净利润2309.28亿元,同比增长1.99%;经营活动产生的现金流量净额为8164.46亿元,上年同期为-218.55亿元;报告期内,中国银行基本每股收益为0.74元,加权平均净资产收益率为10.12%。公司2023年年度利润分配预案为:拟向全体股东每10股派2.364元(含税)。

以3月29日收盘价计算,中国银行目前市盈率(TTM)约为5.59倍,市净率(LF)约为0.49倍,市销率(TTM)约为2.08倍。

公司近年市盈率(TTM)、市净率(LF)、市销率(TTM)历史分位图如下所示:

截至2023年末,中国银行三年营业总收入复合增长率为3.27%,在银行行业已披露2023年数据的19家公司中排名第7。三年净利润复合年增长率为6.34%,排名12/19。

分产品来看,2023年公司主营业务中,利息净收入收入4665.45亿元,同比增长1.27%,占营业收入的74.90%;手续费及佣金净收入收入788.65亿元,同比增长9.16%,占营业收入的12.66%;投资收益收入251.72亿元,同比增长4.43%,占营业收入的4.04%。

数据显示,2023年公司加权平均净资产收益率为10.12%,较上年同期下降0.65个百分点。

2023年,公司经营活动现金流净额为8164.46亿元,同比增加8383.01亿元;筹资活动现金流净额1198.62亿元,同比增加668.15亿元;投资活动现金流净额-5394.28亿元,上年同期为-117.24亿元。

资产重大变化方面,截至2023年年末,公司以公允价值计量且其变动计入其他综合收益的金融资产较上年末增加29.91%,占公司总资产比重上升1.37个百分点;债权投资合计较上年末增加1.15%,占公司总资产比重下降1.14个百分点;货币资金较上年末增加26.49%,占公司总资产比重上升1.05个百分点;存放同业款项较上年末减少33.19%,占公司总资产比重下降1.05个百分点。

负债重大变化方面,截至2023年年末,公司吸收存款及同业存款较上年末增加12.08%,占公司总资产比重下降0.12个百分点;向中央银行借款较上年末增加34.88%,占公司总资产比重上升0.64个百分点;应付债券较上年末增加16.97%,占公司总资产比重上升0.23个百分点;拆入资金较上年末增加18.22%,占公司总资产比重上升0.06个百分点。

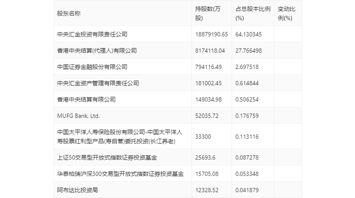
年报显示,2023年年末公司十大流通股东中,新进股东为上证50交易型开放式指数证券投资基金,取代了三季度末的华夏人寿保险股份有限公司-自有资金。在具体持股比例上,中央汇金投资有限责任公司、华泰柏瑞沪深300交易型开放式指数证券投资基金、阿布达比投资局持股有所上升,香港中央结算(代理人)有限公司、香港中央结算有限公司持股有所下降。

筹码集中度方面,截至2023年年末,公司股东总户数为43.59万户,较三季度末下降了4.01万户,降幅8.42%;户均持股市值由三季度末的172.05万元上升至194.36万元,增幅为12.97%。

指标注解:

市盈率

=总市值/净利润。当公司亏损时市盈率为负,此时用市盈率估值没有实际意义,往往用市净率或市销率做参考。

市净率

=总市值/净资产。市净率估值法多用于盈利波动较大而净资产相对稳定的公司。

市销率

=总市值/营业收入。市销率估值法通常用于亏损或微利的成长型公司。

文中市盈率和市销率采用TTM方式,即以截至最近一期财报(含预报)12个月的数据计算。市净率采用LF方式,即以最近一期财报数据计算。

市盈率为负时,不显示当期分位数,会导致折线图中断。

加载中...