新浪财经

长城汽车:2023年净利同比下降15.06% 拟10派3元

中证网

关注

中证智能财讯 长城汽车(601633)3月29日披露2023年年报。2023年,公司实现营业总收入1732.12亿元,同比增长26.12%;归母净利润70.22亿元,同比下降15.06%;扣非净利润48.34亿元,同比增长7.98%;经营活动产生的现金流量净额为177.54亿元,同比增长44.21%;报告期内,长城汽车基本每股收益为0.82元,加权平均净资产收益率为10.61%。公司2023年年度利润分配预案为:拟向全体股东每10股派3元(含税)。

报告期内,公司合计非经常性损益为21.88亿元,其中计入当期损益的政府补助为20.31亿元。

以3月28日收盘价计算,长城汽车目前市盈率(TTM)约为27.77倍,市净率(LF)约为2.85倍,市销率(TTM)约为1.13倍。

公司近年市盈率(TTM)、市净率(LF)、市销率(TTM)历史分位图如下所示:

数据统计显示,长城汽车近三年营业总收入复合增长率为18.80%,在汽车行业已披露2023年数据的44家公司中排名第12。近三年净利润复合年增长率为9.40%,排名22/44。

年报显示,长城汽车是一家全球化智能科技公司,业务包括汽车及零部件设计、研发、生产、销售和服务。

分产品来看,2023年公司主营业务中,销售汽车收入1532.79亿元,同比增长25.75%,占营业收入的88.49%;销售零配件收入126.14亿元,同比增长57.52%,占营业收入的7.28%;提供劳务收入28.53亿元,同比增长11.22%,占营业收入的1.65%。

2023年,公司毛利率为18.73%,同比下降0.64个百分点;净利率为4.05%,较上年同期下降1.96个百分点。从单季度指标来看,2023年第四季度公司毛利率为18.47%,同比上升0.54个百分点,环比下降3.19个百分点;净利率为3.77%,较上年同期上升3.50个百分点,较上一季度下降3.57个百分点。

分产品看,销售汽车、销售零配件、提供劳务2023年毛利率分别为18.38%、23.46%、21.31%。

报告期内,公司前五大客户合计销售金额108.17亿元,占总销售金额比例为6.25%,公司前五名供应商合计采购金额141.85亿元,占年度采购总额比例为10.40%。

数据显示,2023年公司加权平均净资产收益率为10.61%,较上年同期下降2.05个百分点;公司2023年投入资本回报率为6.99%,较上年同期下降1.71个百分点。

2023年,公司经营活动现金流净额为177.54亿元,同比增长44.21%;筹资活动现金流净额10.52亿元,同比增加41.85亿元;投资活动现金流净额-104.51亿元,上年同期为-105.05亿元。

进一步统计发现,2023年公司自由现金流为28.44亿元,上年同期为-2.22亿元。

2023年,公司营业收入现金比为112.88%,净现比为252.85%。

营运能力方面,2023年,公司公司总资产周转率为0.90次,上年同期为0.76次(2022年行业平均值为0.63次,公司位居同行业96/284);公司应收账款周转率、存货周转率分别为25.10次、5.75次。

2023年,公司期间费用为209.49亿元,较上年同期增加62.22亿元;期间费用率为12.09%,较上年同期上升1.37个百分点。其中,销售费用同比增长41.0%,管理费用同比下降3.24%,研发费用同比增长24.97%,财务费用由去年同期的-24.88亿元变为-1.26亿元。

资产重大变化方面,截至2023年年末,公司其他流动资产较上年末减少72.74%,占公司总资产比重下降3.80个百分点;应收款项融资较上年末增加30.57%,占公司总资产比重上升2.42个百分点;在建工程较上年末减少22.01%,占公司总资产比重下降1.26个百分点;无形资产较上年末增加37.98%,占公司总资产比重上升1.20个百分点。

负债重大变化方面,截至2023年年末,公司应付账款较上年末增加38.36%,占公司总资产比重上升4.34个百分点,主要系应付账款变动主要系报告期材料采购量增加;应付票据较上年末减少7.06%,占公司总资产比重下降2.34个百分点;长期借款较上年末减少13.76%,占公司总资产比重下降1.71个百分点;一年内到期的非流动负债较上年末增加41.09%,占公司总资产比重上升0.79个百分点。

从存货变动来看,截至2023年末,公司存货账面价值为270.42亿元,占净资产的39.48%,较上年末增加46.68亿元。公司本期没有计提存货跌价准备。

2023年全年,公司研发投入金额为110.34亿元,同比下降9.41%;研发投入占营业收入比例为6.37%,相比上年同期下降2.50个百分点。此外,公司全年研发投入资本化率为54.15%。

资料显示,2023年,长城汽车股份有限公司申请专利4369件,授权专利2444件,其中授权发明专利342件,授权实用新型专利1818件,授权外观设计专利284件。

在偿债能力方面,公司2023年年末资产负债率为65.96%,相比上年末上升1.14个百分点;有息资产负债率为14.58%,相比上年末下降1.47个百分点。

2023年,公司流动比率为1.07,速动比率为0.83。

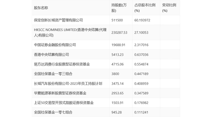
年报显示,2023年年末公司十大流通股东中,新进股东为全国社保基金一零七组合,取代了三季度末的全国社保基金一零四组合。在具体持股比例上,香港中央结算有限公司、易方达消费行业股票型证券投资基金、全国社保基金一零三组合、上证50交易型开放式指数证券投资基金持股有所上升,保定创新长城资产管理有限公司、HKSCC NOMINEES LIMITED(香港中央结算(代理人)有限公司)、中国证券金融股份有限公司、长城汽车股份有限公司-2023年员工持股计划、华夏能源革新股票型证券投资基金持股有所下降。

指标注解:

市盈率

=总市值/净利润。当公司亏损时市盈率为负,此时用市盈率估值没有实际意义,往往用市净率或市销率做参考。

市净率

=总市值/净资产。市净率估值法多用于盈利波动较大而净资产相对稳定的公司。

市销率

=总市值/营业收入。市销率估值法通常用于亏损或微利的成长型公司。

文中市盈率和市销率采用TTM方式,即以截至最近一期财报(含预报)12个月的数据计算。市净率采用LF方式,即以最近一期财报数据计算。

市盈率为负时,不显示当期分位数,会导致折线图中断。

加载中...