新浪财经

万科A:2023年净利润121.63亿元 同比下降46.39%

中证网

关注

中证智能财讯 万科A(000002)3月29日披露2023年年报。2023年,公司实现营业总收入4657.39亿元,同比下降7.56%;归母净利润121.63亿元,同比下降46.39%;扣非净利润97.94亿元,同比下降50.62%;经营活动产生的现金流量净额为39.12亿元,同比增长42.24%;报告期内,万科A基本每股收益为1.03元,加权平均净资产收益率为4.91%。

以3月28日收盘价计算,万科A目前市盈率(TTM)约为9.06倍,市净率(LF)约为0.44倍,市销率(TTM)约为0.24倍。

公司近年市盈率(TTM)、市净率(LF)、市销率(TTM)历史分位图如下所示:

数据统计显示,万科A近三年营业总收入复合增长率为3.58%,在住宅开发行业已披露2023年数据的7家公司中排名第5。近三年净利润复合年增长率为-33.58%,排名4/7。

分产品来看,2023年公司主营业务中,房地产开发及相关资产经营业务收入4297.46亿元,同比下降8.65%,占营业收入的92.27%;物业服务收入294.27亿元,同比增长14.17%,占营业收入的6.32%。

2023年,公司毛利率为15.23%,同比下降4.32个百分点;净利率为4.39%,较上年同期下降3.08个百分点。从单季度指标来看,2023年第四季度公司毛利率为11.35%,同比下降8.05个百分点,环比下降3.34个百分点;净利率为-0.33%,较上年同期下降6.54个百分点,较上一季度下降6.88个百分点。

分产品看,房地产开发及相关资产经营业务、物业服务2023年毛利率分别为15.41%、14.96%。

报告期内,公司前五大客户合计销售金额50.80亿元,占总销售金额比例为1.10%,公司前五名供应商合计采购金额28.27亿元,占年度采购总额比例为3.17%。

数据显示,2023年公司加权平均净资产收益率为4.91%,较上年同期下降4.57个百分点;公司2023年投入资本回报率为2.99%,较上年同期下降2.49个百分点。

2023年,公司经营活动现金流净额为39.12亿元,同比增长42.24%;筹资活动现金流净额-368.13亿元,同比减少402.52亿元;投资活动现金流净额-46.16亿元,上年同期为-130.3亿元。

进一步统计发现,2023年公司自由现金流为-31.66亿元,上年同期为-309.05亿元。

2023年,公司营业收入现金比为68.95%,净现比为32.17%。

营运能力方面,2023年,公司公司总资产周转率为0.29次,上年同期为0.27次(2022年行业平均值为0.18次,公司位居同行业18/86);公司应收账款周转率、存货周转率分别为62.94次、0.49次。

2023年,公司期间费用为222.90亿元,较上年同期减少30.08亿元;期间费用率为4.79%,较上年同期下降0.23个百分点。其中,销售费用同比下降1.13%,管理费用同比下降39.83%,研发费用同比下降21.85%,财务费用同比增长42.05%。

资料显示,销售费用的变动主要因为销售费用基本持平;管理费用的变动主要因为人工费用与行政费用减少;财务费用的变动主要因为利息收入减少及汇兑损失增加。

资产重大变化方面,截至2023年年末,公司存货较上年末减少22.64%,占公司总资产比重下降4.97个百分点;投资性房地产较上年末增加11.73%,占公司总资产比重上升1.71个百分点;其他应收款(含利息和股利)较上年末减少6.55%,占公司总资产比重上升1.42个百分点;长期股权投资较上年末增加0.81%,占公司总资产比重上升1.31个百分点。

负债重大变化方面,截至2023年年末,公司合同负债较上年末减少33.71%,占公司总资产比重下降5.98个百分点;应付账款较上年末减少23.35%,占公司总资产比重下降1.72个百分点;长期借款较上年末增加9.40%,占公司总资产比重上升2.86个百分点;其他流动负债较上年末减少31.94%,占公司总资产比重下降0.48个百分点。

在偿债能力方面,公司2023年年末资产负债率为73.22%,相比上年末下降3.70个百分点;有息资产负债率为21.51%,相比上年末上升3.44个百分点。

2023年,公司流动比率为1.40,速动比率为0.55。

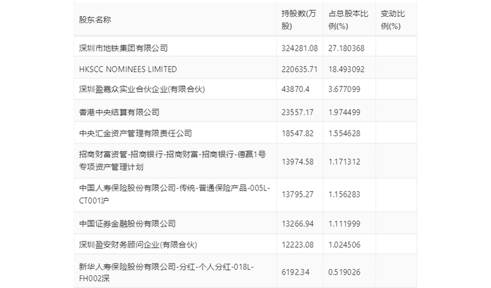
年报显示,2023年年末公司十大流通股东中,持股最多的为深圳市地铁集团有限公司,占比27.18%。十大流通股东名单相比2023年三季报维持不变。在具体持股比例上,HKSCC NOMINEES LIMITED、香港中央结算有限公司、中国人寿保险股份有限公司-传统-普通保险产品-005L-CT001沪持股有所上升,招商财富资管-招商银行-招商财富-招商银行-德赢1号专项资产管理计划、新华人寿保险股份有限公司-分红-个人分红-018L-FH002深持股有所下降。

筹码集中度方面,截至2023年年末,公司股东总户数为56.46万户,较三季度末增长了7754户,增幅1.39%;户均持股市值由三季度末的28.02万元下降至22.10万元,降幅为21.13%。

指标注解:

市盈率

=总市值/净利润。当公司亏损时市盈率为负,此时用市盈率估值没有实际意义,往往用市净率或市销率做参考。

市净率

=总市值/净资产。市净率估值法多用于盈利波动较大而净资产相对稳定的公司。

市销率

=总市值/营业收入。市销率估值法通常用于亏损或微利的成长型公司。

文中市盈率和市销率采用TTM方式,即以截至最近一期财报(含预报)12个月的数据计算。市净率采用LF方式,即以最近一期财报数据计算。

市盈率为负时,不显示当期分位数,会导致折线图中断。

加载中...