新浪财经

中国交建:2023年净利同比增长23.61% 拟10派2.9253元

中证网

关注

中证智能财讯 中国交建(601800)3月29日披露2023年年报。2023年,公司实现营业总收入7586.76亿元,同比增长5.10%;归母净利润238.12亿元,同比增长23.61%;扣非净利润216.55亿元,同比增长58.18%;经营活动产生的现金流量净额为120.74亿元,同比增长960.50%;报告期内,中国交建基本每股收益为1.39元,加权平均净资产收益率为8.87%。公司2023年年度利润分配预案为:拟向全体股东每10股派2.9253元(含税)。

以3月28日收盘价计算,中国交建目前市盈率(TTM)约为5.63倍,市净率(LF)约为0.44倍,市销率(TTM)约为0.18倍。

公司近年市盈率(TTM)、市净率(LF)、市销率(TTM)历史分位图如下所示:

数据统计显示,中国交建近三年营业总收入复合增长率为6.53%,在基建市政工程行业已披露2023年数据的5家公司中排名第5。近三年净利润复合年增长率为13.69%,排名3/5。

分产品来看,2023年公司主营业务中,基建建设业务收入6658.66亿元,同比增长5.24%,占营业收入的87.77%;疏浚业务收入534.44亿元,同比增长4.92%,占营业收入的7.04%;基建设计业务收入472.61亿元,同比下降6.00%,占营业收入的6.23%。

2023年,公司毛利率为12.59%,同比上升0.88个百分点;净利率为3.98%,较上年同期上升0.52个百分点。从单季度指标来看,2023年第四季度公司毛利率为16.04%,同比上升2.76个百分点,环比上升3.78个百分点;净利率为4.50%,较上年同期上升1.57个百分点,较上一季度上升1.07个百分点。

分产品看,基建建设业务、疏浚业务、基建设计业务2023年毛利率分别为11.57%、13.11%、18.58%。

报告期内,公司前五大客户合计销售金额335.44亿元,占总销售金额比例为4.42%,公司前五名供应商合计采购金额269.91亿元,占年度采购总额比例为5.70%。

数据显示,2023年公司加权平均净资产收益率为8.87%,较上年同期增长1.33个百分点;公司2023年投入资本回报率为3.02%,较上年同期增长0.25个百分点。

2023年,公司经营活动现金流净额为120.74亿元,同比增长960.50%;筹资活动现金流净额503.32亿元,同比减少23.00亿元;投资活动现金流净额-558.85亿元,上年同期为-469.27亿元。

进一步统计发现,2023年公司自由现金流为176.89亿元,相比上年同期增长31.12%。

2023年,公司营业收入现金比为98.07%,净现比为50.71%。

营运能力方面,2023年,公司公司总资产周转率为0.47次,上年同期为0.50次(2022年行业平均值为0.54次,公司位居同行业17/24);公司应收账款周转率、存货周转率分别为6.81次、7.98次。

2023年,公司期间费用为475.20亿元,较上年同期增加36.26亿元;期间费用率为6.26%,较上年同期上升0.18个百分点。其中,销售费用同比增长25.96%,管理费用同比下降4.14%,研发费用同比增长16.36%,财务费用由去年同期的-12.11亿元变为-11.37亿元。

资产重大变化方面,截至2023年年末,公司无形资产较上年末减少7.72%,占公司总资产比重下降2.54个百分点;长期应收款较上年末增加25.58%,占公司总资产比重上升1.54个百分点;其他非流动资产较上年末增加15.72%,占公司总资产比重上升0.71个百分点;固定资产较上年末增加26.06%,占公司总资产比重上升0.45个百分点。

负债重大变化方面,截至2023年年末,公司应付账款较上年末增加16.12%,占公司总资产比重上升0.92个百分点;其他应付款(含利息和股利)较上年末增加38.71%,占公司总资产比重上升1.33个百分点;长期借款较上年末增加8.06%,占公司总资产比重下降0.61个百分点;短期借款较上年末增加36.08%,占公司总资产比重上升0.53个百分点。

2023年全年,公司研发投入金额为277.07亿元,同比增长17.25%;研发投入占营业收入比例为3.65%,相比上年同期上升0.37个百分点。此外,公司全年研发投入资本化率为1.41%。

在偿债能力方面,公司2023年年末资产负债率为72.74%,相比上年末上升0.93个百分点;有息资产负债率为30.92%,相比上年末下降0.09个百分点。

2023年,公司流动比率为0.90,速动比率为0.78。

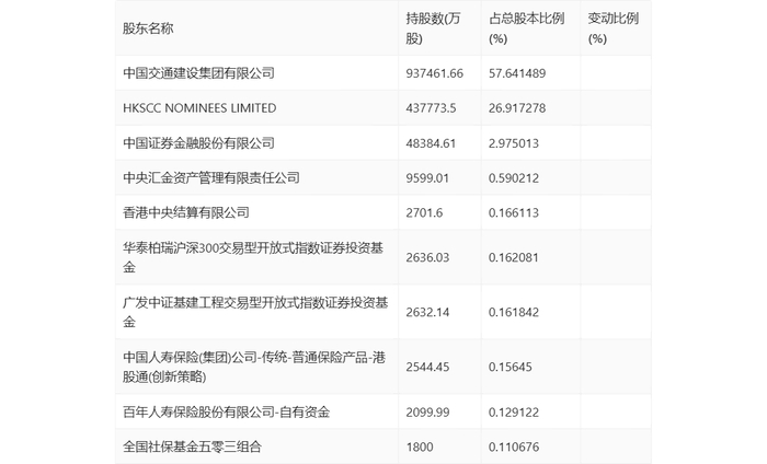
年报显示,2023年年末公司十大流通股东中,新进股东为全国社保基金五零三组合,取代了三季度末的招商证券股份有限公司客户信用交易担保证券账户。在具体持股比例上,香港中央结算有限公司、华泰柏瑞沪深300交易型开放式指数证券投资基金持股有所上升,HKSCC NOMINEES LIMITED、广发中证基建工程交易型开放式指数证券投资基金持股有所下降。

筹码集中度方面,截至2023年年末,公司股东总户数为15.52万户,较三季度末增长了1.73万户,增幅12.56%;户均持股市值由三季度末的99.35万元下降至73.92万元,降幅为25.60%。

指标注解:

市盈率

=总市值/净利润。当公司亏损时市盈率为负,此时用市盈率估值没有实际意义,往往用市净率或市销率做参考。

市净率

=总市值/净资产。市净率估值法多用于盈利波动较大而净资产相对稳定的公司。

市销率

=总市值/营业收入。市销率估值法通常用于亏损或微利的成长型公司。

文中市盈率和市销率采用TTM方式,即以截至最近一期财报(含预报)12个月的数据计算。市净率采用LF方式,即以最近一期财报数据计算。

市盈率为负时,不显示当期分位数,会导致折线图中断。

加载中...