新浪财经

马钢股份:2023年亏损13.27亿元 亏损加大

中证网

关注

中证智能财讯 马钢股份(600808)3月29日披露2023年年报。2023年,公司实现营业总收入989.38亿元,同比下降3.15%;归母净利润亏损13.27亿元,上年同期亏损8.58亿元;扣非净利润亏损17.20亿元,上年同期亏损11.38亿元;经营活动产生的现金流量净额为19.92亿元,同比下降70.01%;报告期内,马钢股份基本每股收益为-0.1724元,加权平均净资产收益率为-4.67%。

值得注意的是, 公司已经连续第二年亏损,2022年归母净利润亏损8.85亿元,2023年亏损加大。此外,2022年开始,公司毛利率大幅下降,2023年延续下降态势。

以3月28日收盘价计算,马钢股份目前市盈率(TTM)约为-14.07倍,市净率(LF)约为0.67倍,市销率(TTM)约为0.19倍。

公司近年市盈率(TTM)、市净率(LF)、市销率(TTM)历史分位图如下所示:

数据统计显示,马钢股份近三年营业总收入复合增长率为6.63%,近三年净利润复合年增长率为-187.48%。

年报显示,公司主营业务为钢铁产品的生产和销售,是中国最大钢铁生产和销售商之一,生产过程主要有炼铁、炼钢、轧钢等。

分产品来看,2023年公司主营业务中,板材收入474.07亿元,同比增长5.48%,占营业收入的47.92%;长材收入386.96亿元,同比下降15.26%,占营业收入的39.11%;轮轴收入32.72亿元,同比增长29.69%,占营业收入的3.31%。

2023年,公司毛利率为1.65%,同比下降1.59个百分点;净利率为-1.66%,较上年同期下降0.86个百分点。从单季度指标来看,2023年第四季度公司毛利率为3.14%,同比上升4.60个百分点,环比下降2.42个百分点;净利率为0.82%,较上年同期上升7.37个百分点,较上一季度下降1.54个百分点。

分产品看,板材、长材、轮轴2023年毛利率分别为2.75%、-1.71%、14.08%。

报告期内,公司前五大客户合计销售金额92.49亿元,占总销售金额比例为9.40%,公司前五名供应商合计采购金额255.16亿元,占年度采购总额比例为29.00%。

数据显示,2023年公司加权平均净资产收益率为-4.67%,较上年同期下降1.90个百分点;公司2023年投入资本回报率为-2.00%,较上年同期下降1.79个百分点。

2023年,公司经营活动现金流净额为19.92亿元,同比下降70.01%;筹资活动现金流净额-13.61亿元,同比减少18.78亿元;投资活动现金流净额-5.61亿元,上年同期为-70.98亿元。

进一步统计发现,2023年公司自由现金流为5.20亿元,相比上年同期下降89.60%。

2023年,公司营业收入现金比为89.80%,净现比为-150.08%。

营运能力方面,2023年,公司公司总资产周转率为1.09次,上年同期为1.09次(2022年行业平均值为1.09次,公司位居同行业8/17);公司应收账款周转率、存货周转率分别为71.24次、9.65次。

2023年,公司期间费用为29.73亿元,较上年同期减少2.73亿元;期间费用率为3.00%,较上年同期下降0.18个百分点。其中,销售费用同比增长15.62%,管理费用同比下降26.14%,研发费用同比增长5.46%,财务费用同比下降10.12%。

资产重大变化方面,截至2023年年末,公司固定资产较上年末增加14.41%,占公司总资产比重上升13.63个百分点;其他流动资产较上年末减少93.01%,占公司总资产比重下降9.27个百分点;长期股权投资较上年末增加58.31%,占公司总资产比重上升3.74个百分点;在建工程较上年末减少48.32%,占公司总资产比重下降3.27个百分点。

负债重大变化方面,截至2023年年末,公司应付账款较上年末减少21.54%,占公司总资产比重下降1.80个百分点;应付票据较上年末增加65.33%,占公司总资产比重上升4.82个百分点;一年内到期的非流动负债较上年末增加83.76%,占公司总资产比重上升2.35个百分点;长期借款较上年末减少14.82%,占公司总资产比重下降0.20个百分点。

从存货变动来看,截至2023年年末,公司存货账面价值为107.38亿元,占净资产的38.67%,较上年末增加4.93亿元。其中,存货跌价准备为-4.1亿元,计提比例为-3.97%。

2023年全年,公司研发投入金额为39.38亿元,同比下降1.06%;研发投入占营业收入比例为3.98%,相比上年同期上升0.08个百分点。此外,公司全年研发投入资本化率为0。

在偿债能力方面,公司2023年年末资产负债率为61.82%,相比上年末下降3.78个百分点;有息资产负债率为23.67%,相比上年末上升3.81个百分点。

2023年,公司流动比率为0.50,速动比率为0.28。

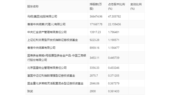
年报显示,2023年年末公司十大流通股东中,新进股东为国金量化多策略灵活配置混合型证券投资基金,取代了三季度末的申万宏源证券有限公司。在具体持股比例上,马钢(集团)控股有限公司、香港中央结算(代理人)有限公司、中央汇金资产管理有限责任公司、香港中央结算有限公司、国寿养老策略4号股票型养老金产品-中国工商银行股份有限公司、北京国星物业管理有限责任公司、张武持股有所上升,上证红利交易型开放式指数证券投资基金、富国中证红利指数增强型证券投资基金持股有所下降。

指标注解:

市盈率

=总市值/净利润。当公司亏损时市盈率为负,此时用市盈率估值没有实际意义,往往用市净率或市销率做参考。

市净率

=总市值/净资产。市净率估值法多用于盈利波动较大而净资产相对稳定的公司。

市销率

=总市值/营业收入。市销率估值法通常用于亏损或微利的成长型公司。

文中市盈率和市销率采用TTM方式,即以截至最近一期财报(含预报)12个月的数据计算。市净率采用LF方式,即以最近一期财报数据计算。

市盈率为负时,不显示当期分位数,会导致折线图中断。

加载中...