新浪财经

鞍钢股份:2023年亏损32.57亿元

中证网

关注

中证智能财讯 鞍钢股份(000898)3月29日披露2023年年报。2023年,公司实现营业总收入1135.02亿元,同比下降13.40%;归母净利润亏损32.57亿元,上年同期盈利1.08亿元;扣非净利润亏损33.15亿元,上年同期亏损3700.00万元;经营活动产生的现金流量净额为15.79亿元,同比下降74.28%;报告期内,鞍钢股份基本每股收益为-0.347元,加权平均净资产收益率为-5.78%。

以3月28日收盘价计算,鞍钢股份目前市盈率(TTM)约为-6.89倍,市净率(LF)约为0.41倍,市销率(TTM)约为0.2倍。

公司近年市盈率(TTM)、市净率(LF)、市销率(TTM)历史分位图如下所示:

数据统计显示,鞍钢股份近三年营业总收入复合增长率为4.19%,近三年净利润复合年增长率为-214.15%。

资料显示,公司主要从事钢铁制造业,同时注重发展与钢铁主业相关的钢材加工配送、化工产业、绿色能源、电子商务、清洁发电等产业。

分产品来看,2023年公司主营业务中,钢材产品收入1025.76亿元,同比下降13.42%,占营业收入的90.37%。

2023年,公司毛利率为-0.47%,同比下降2.80个百分点;净利率为-2.84%,较上年同期下降2.95个百分点。从单季度指标来看,2023年第四季度公司毛利率为-0.99%,同比下降2.87个百分点,环比下降0.57个百分点;净利率为-3.86%,较上年同期下降3.61个百分点,较上一季度下降0.88个百分点。

报告期内,公司前五大客户合计销售金额452.35亿元,占总销售金额比例为39.93%,公司前五名供应商合计采购金额423.57亿元,占年度采购总额比例为47.40%。

数据显示,2023年公司加权平均净资产收益率为-5.78%,较上年同期下降5.96个百分点;公司2023年投入资本回报率为-6.14%,较上年同期下降6.22个百分点。

2023年,公司经营活动现金流净额为15.79亿元,同比下降74.28%;筹资活动现金流净额-5.34亿元,同比增加19.41亿元;投资活动现金流净额-29.50亿元,上年同期为-39.69亿元。

进一步统计发现,2023年公司自由现金流为5.68亿元,相比上年同期下降84.17%。

2023年,公司营业收入现金比为101.48%,净现比为-48.48%。

营运能力方面,2023年,公司公司总资产周转率为1.17次,上年同期为1.34次(2022年行业平均值为1.09次,公司位居同行业5/17);公司应收账款周转率、存货周转率分别为50.10次、7.57次。

2023年,公司期间费用为30.67亿元,较上年同期减少4500.00万元;但期间费用率为2.70%,较上年同期上升0.33个百分点。其中,销售费用同比增长4.67%,管理费用同比增长30.12%,研发费用同比下降32.32%,财务费用同比下降47.02%。

资产重大变化方面,截至2023年年末,公司存货较上年末增加22.03%,占公司总资产比重上升3.07个百分点;预付款项较上年末减少41.97%,占公司总资产比重下降2.21个百分点;货币资金较上年末减少36.76%,占公司总资产比重下降1.93个百分点;固定资产较上年末增加3.63%,占公司总资产比重上升1.75个百分点。

负债重大变化方面,截至2023年年末,公司应付票据较上年末增加49.54%,占公司总资产比重上升5.99个百分点;长期借款较上年末增加766.50%,占公司总资产比重上升4.74个百分点;应付账款较上年末减少21.80%,占公司总资产比重下降1.99个百分点;合同负债较上年末减少18.88%,占公司总资产比重下降1.24个百分点。

2023年全年,公司研发投入金额为28.52亿元,同比增长8.81%;研发投入占营业收入比例为2.51%,相比上年同期上升0.51个百分点。

资料显示,2023年,公司获得国家受理专利742件,其中发明专利544件,占比73.3%,同比增长4.7%;获得PCT国际发明专利申请7件,同比增长40%;获得国家授权专利520件,其中发明专利301件,占比57.9%,同比增长8.6%;累计拥有有效专利3811件,其中发明专利2515件,占比66.0%,同比增长4.0%;获得PCT国际发明专利授权5件,巴黎公约国际发明专利授权2件。

在偿债能力方面,公司2023年年末资产负债率为42.90%,相比上年末上升3.38个百分点;有息资产负债率为7.04%,相比上年末上升0.09个百分点。

2023年,公司流动比率为0.77,速动比率为0.30。

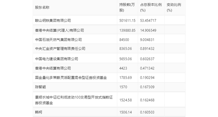
年报显示,2023年年末公司十大流通股东中,新进股东为国金量化多策略灵活配置混合型证券投资基金、景顺长城中证红利低波动100交易型开放式指数证券投资基金,取代了三季度末的中证500交易型开放式指数证券投资基金、丛中红。在具体持股比例上,鞍山钢铁集团有限公司、香港中央结算(代理人)有限公司、中国石油天然气集团有限公司、中央汇金资产管理有限责任公司、中国电力建设集团有限公司、陈智颖、韩柯持股有所上升,香港中央结算有限公司持股有所下降。

筹码集中度方面,截至2023年年末,公司A股股东总户数为10.77万户,较三季度末增长了920户,增幅0.86%;户均持股市值由三季度末的23.94万元下降至21.61万元,降幅为9.73%。

指标注解:

市盈率

=总市值/净利润。当公司亏损时市盈率为负,此时用市盈率估值没有实际意义,往往用市净率或市销率做参考。

市净率

=总市值/净资产。市净率估值法多用于盈利波动较大而净资产相对稳定的公司。

市销率

=总市值/营业收入。市销率估值法通常用于亏损或微利的成长型公司。

文中市盈率和市销率采用TTM方式,即以截至最近一期财报(含预报)12个月的数据计算。市净率采用LF方式,即以最近一期财报数据计算。

市盈率为负时,不显示当期分位数,会导致折线图中断。

加载中...