新浪财经

东方电气:2023年净利润同比增长24.23% 拟10派4.75元

腾讯美股

关注

中证智能财讯东方电气(600875)3月29日披露2023年年报。2023年,公司实现营业总收入606.77亿元,同比增长9.60%;归母净利润35.50亿元,同比增长24.23%;扣非净利润25.76亿元,同比增长8.01%;经营活动产生的现金流量净额为-34.96亿元,上年同期为84.09亿元;报告期内,东方电气基本每股收益为1.14元,加权平均净资产收益率为9.82%。公司2023年年度利润分配预案为:拟向全体股东每10股派4.75元(含税)。

以3月28日收盘价计算,东方电气目前市盈率(TTM)约为13.57倍,市净率(LF)约为1.29倍,市销率(TTM)约为0.81倍。

公司近年市盈率(TTM)、市净率(LF)、市销率(TTM)历史分位图如下所示:

数据统计显示,东方电气近三年营业总收入复合增长率为17.63%,在其他电源设备Ⅱ行业已披露2023年数据的5家公司中排名第3。近三年净利润复合年增长率为24.00%,排名2/5。

资料显示,公司为全球能源运营商及其他用户提供各类能源、环保、化工等产品及系统成套、贸易、物流等服务。

分产品来看,2023年公司主营业务中,清洁高效能源装备收入205.89亿元,同比增长40.21%,占营业收入的33.93%;可再生能源装备收入138.38亿元,同比下降7.22%,占营业收入的22.81%;工程与贸易收入120.22亿元,同比增长14.06%,占营业收入的19.81%。

2023年,公司毛利率为17.31%,同比上升0.82个百分点;净利率为6.12%,较上年同期上升0.56个百分点。从单季度指标来看,2023年第四季度公司毛利率为17.06%,同比下降0.13个百分点,环比下降0.29个百分点;净利率为3.85%,较上年同期上升1.06个百分点,较上一季度下降2.64个百分点。

分产品看,清洁高效能源装备、可再生能源装备、工程与贸易2023年毛利率分别为21.33%、11.84%、12.49%。

报告期内,公司前五大客户合计销售金额146.53亿元,占总销售金额比例为24.15%,公司前五名供应商合计采购金额56.50亿元,占年度采购总额比例为11.46%。

数据显示,2023年公司加权平均净资产收益率为9.82%,较上年同期增长1.39个百分点;公司2023年投入资本回报率为8.10%,较上年同期增长1.01个百分点。

2023年,公司经营活动现金流净额为-34.96亿元,同比减少119.04亿元;筹资活动现金流净额-4.97亿元,同比减少3.79亿元;投资活动现金流净额60.55亿元,上年同期为-131.86亿元。

进一步统计发现,2023年公司自由现金流为12.99亿元,相比上年同期下降87.98%。

2023年,公司营业收入现金比为95.61%,净现比为-98.46%。

营运能力方面,2023年,公司公司总资产周转率为0.51次,上年同期为0.51次(2022年行业平均值为0.49次,公司位居同行业14/30);公司应收账款周转率存货周转率分别为5.72次、2.69次。

2023年,公司期间费用为77.48亿元,较上年同期增加9.71亿元;期间费用率为13.01%,较上年同期上升0.50个百分点。其中,销售费用同比增长7.01%,管理费用同比增长9.2%,研发费用同比增长20.85%,财务费用由去年同期的-9783.45万元变为745.20万元。

资产重大变化方面,截至2023年年末,公司债权投资合计较上年末减少24.85%,占公司总资产比重下降6.25个百分点;其他非流动资产较上年末增加67.10%,占公司总资产比重上升2.11个百分点;预付款项较上年末增加44.36%,占公司总资产比重上升1.78个百分点;买入返售金融资产较上年末增加112.94%,占公司总资产比重上升1.23个百分点。

负债重大变化方面,截至2023年年末,公司应付票据较上年末增加38.55%,占公司总资产比重上升2.78个百分点;吸收存款及同业存款较上年末减少86.51%,占公司总资产比重下降3.32个百分点;应付账款较上年末增加11.25%,占公司总资产比重上升0.89个百分点;其他流动负债较上年末增加602.50%,占公司总资产比重上升1.45个百分点。

从存货变动来看,截至2023年年末,公司存货账面价值为181.37亿元,占净资产的48.7%,较上年末减少3.19亿元。其中,存货跌价准备为11.01亿元,计提比例为5.72%。

2023年全年,公司研发投入金额为33.86亿元,同比增长9.08%;研发投入占营业收入比例为5.68%,相比上年同期下降0.05个百分点。此外,公司全年研发投入资本化率为18.81%。

在偿债能力方面,公司2023年年末资产负债率为65.96%,相比上年末下降0.54个百分点;有息资产负债率为1.49%,相比上年末上升0.03个百分点。

2023年,公司流动比率为1.06,速动比率为0.81。

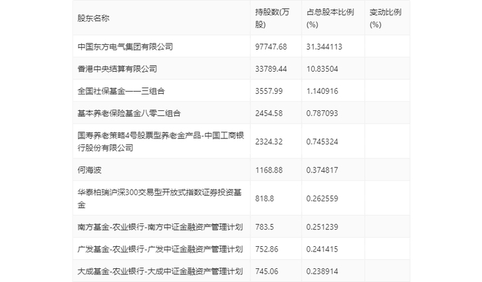
年报显示,2023年年末公司十大流通股东中,持股最多的为中国东方电气集团有限公司,占比31.34%。十大流通股东名单相比2023年三季报维持不变。在具体持股比例上,中国东方电气集团有限公司、基本养老保险基金八零二组合、华泰柏瑞沪深300交易型开放式指数证券投资基金持股有所上升。

指标注解:

市盈率

=总市值/净利润。当公司亏损时市盈率为负,此时用市盈率估值没有实际意义,往往用市净率或市销率做参考。

市净率

=总市值/净资产。市净率估值法多用于盈利波动较大而净资产相对稳定的公司。

市销率

=总市值/营业收入。市销率估值法通常用于亏损或微利的成长型公司。

文中市盈率和市销率采用TTM方式,即以截至最近一期财报(含预报)12个月的数据计算。市净率采用LF方式,即以最近一期财报数据计算。

市盈率为负时,不显示当期分位数,会导致折线图中断。文章来源:中国证券报·中证网文章作者:李香才原标题:东方电气:2023年净利润同比增长24.23% 拟10派4.75元

加载中...