新浪财经

晶科科技:2023年净利同比增长77.05% 拟10派0.11元

中证网

关注

中证智能财讯 晶科科技(601778)3月29日披露2023年年报。2023年,公司实现营业总收入43.70亿元,同比增长36.72%;归母净利润3.83亿元,同比增长77.05%;扣非净利润2.51亿元,同比增长32.10%;经营活动产生的现金流量净额为-5.98亿元,上年同期为17.91亿元;报告期内,晶科科技基本每股收益为0.11元,加权平均净资产收益率为2.56%。公司2023年年度利润分配预案为:拟向全体股东每10股派0.11元(含税)。

以3月28日收盘价计算,晶科科技目前市盈率(TTM)约为29.62倍,市净率(LF)约为0.73倍,市销率(TTM)约为2.6倍。

公司近年市盈率(TTM)、市净率(LF)、市销率(TTM)历史分位图如下所示:

数据统计显示,晶科科技近三年营业总收入复合增长率为6.80%,近三年净利润复合年增长率为-5.03%。

资料显示,公司主营业务主要分为光伏电站运营、光伏电站转让和光伏电站EPC等,涉及太阳能光伏电站的开发、投资、建设、运营和管理、转让等环节,以及光伏电站EPC工程总承包、电站运营综合服务解决方案等。

分产品来看,2023年公司主营业务中,光伏电站开发运营转让业务收入32.53亿元,同比增长19.05%,占营业收入的74.44%;户用光伏电站滚动开发业务收入6.48亿元,占营业收入的14.84%;光伏电站EPC业务收入2.90亿元,同比下降31.13%,占营业收入的6.64%。

截至2023年末,公司员工总数为1630人,人均创收268.12万元,人均创利23.52万元,人均薪酬31.59万元,较上年同期分别增长22.13%、58.15%、6.38%。

2023年,公司毛利率为40.37%,同比下降7.91个百分点;净利率为8.98%,较上年同期上升1.70个百分点。从单季度指标来看,2023年第四季度公司毛利率为36.27%,同比下降5.83个百分点,环比上升2.82个百分点;净利率为-0.77%,较上年同期上升11.00个百分点,较上一季度下降15.37个百分点。

分产品看,光伏电站开发运营转让业务、户用光伏电站滚动开发业务、光伏电站EPC业务2023年毛利率分别为52.79%、5.09%、3.66%。

报告期内,公司前五大客户合计销售金额16.67亿元,占总销售金额比例为38.14%,公司前五名供应商合计采购金额21.10亿元,占年度采购总额比例为30.83%。

数据显示,2023年公司加权平均净资产收益率为2.56%,较上年同期增长0.81个百分点;公司2023年投入资本回报率为3.35%,较上年同期下降0.43个百分点。

2023年,公司经营活动现金流净额为-5.98亿元,同比减少23.89亿元;筹资活动现金流净额28.67亿元,同比增加20.00亿元;投资活动现金流净额-25.52亿元,上年同期为-24.24亿元。

进一步统计发现,2023年公司自由现金流为-44.72亿元,上年同期为9.20亿元。

2023年,公司营业收入现金比为108.48%,净现比为-155.89%。

营运能力方面,2023年,公司公司总资产周转率为0.11次,上年同期为0.09次(2022年行业平均值为0.17次,公司位居同行业13/13);固定资产周转率为0.25次,上年同期为0.21次(2022年行业平均值为0.47次,公司位居同行业11/13);公司应收账款周转率、存货周转率分别为0.85次、1.02次。

2023年,公司期间费用为13.09亿元,较上年同期增加3412.66万元;但期间费用率为29.95%,较上年同期下降9.93个百分点。其中,销售费用同比增长2.14%,管理费用同比增长50.0%,研发费用同比下降38.9%,财务费用同比下降13.68%。

资产重大变化方面,截至2023年年末,公司在建工程较上年末减少57.37%,占公司总资产比重下降5.46个百分点;存货较上年末增加162.63%,占公司总资产比重上升5.27个百分点;固定资产较上年末增加19.09%,占公司总资产比重上升3.82个百分点;货币资金较上年末减少13.75%,占公司总资产比重下降3.44个百分点。

负债重大变化方面,截至2023年年末,公司长期借款较上年末增加36.73%,占公司总资产比重上升3.35个百分点;长期应付款合计较上年末减少21.34%,占公司总资产比重下降4.15个百分点;一年内到期的非流动负债较上年末减少35.44%,占公司总资产比重下降2.79个百分点;应付票据较上年末减少29.07%,占公司总资产比重下降1.99个百分点。

从存货变动来看,截至2023年年末,公司存货账面价值为36.99亿元,占净资产的23.74%。其中,存货跌价准备为1426.1万元,计提比例为0.38%。

2023年全年,公司研发投入金额为526.40万元,同比下降38.90%;研发投入占营业收入比例为0.12%,相比上年同期下降0.15个百分点。此外,公司全年研发投入资本化率为0。

在偿债能力方面,公司2023年年末资产负债率为61.78%,相比上年末下降4.92个百分点;有息资产负债率为31.84%,相比上年末上升1.24个百分点。

2023年,公司流动比率为1.79,速动比率为1.41。

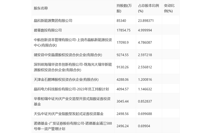
年报显示,2023年年末公司十大流通股东中,新进股东为天弘中证光伏产业指数型发起式证券投资基金,取代了三季度末的正圆礼拜六私募证券投资基金。在具体持股比例上,华泰柏瑞中证光伏产业交易型开放式指数证券投资基金持股有所上升,晶科新能源集团有限公司、碧華創投有限公司、中航创新资本管理有限公司-上饶市晶航新能源投资中心(有限合伙)、靖安县中安晶盛股权投资合伙企业(有限合伙)、深圳前海瑞华资本创新有限公司-珠海光大瑞华新能源股权投资合伙企业(有限合伙)、天津金石鹏博股权投资合伙企业(有限合伙)、晶科电力科技股份有限公司-2023年员工持股计划、诺德基金-广发证券股份有限公司-诺德基金浦江588号单一资产管理计划持股有所下降。

值得注意的是,根据年报数据,晶科科技12.02%股份处于质押状态。其中,第一大股东晶科新能源集团有限公司质押4.29亿股公司股份,占其全部持股的50.29%。

筹码集中度方面,截至2023年年末,公司股东总户数为14.11万户,较三季度末增长了895户,增幅0.64%;户均持股市值由三季度末的9.48万元下降至8.86万元,降幅为6.54%。

指标注解:

市盈率

=总市值/净利润。当公司亏损时市盈率为负,此时用市盈率估值没有实际意义,往往用市净率或市销率做参考。

市净率

=总市值/净资产。市净率估值法多用于盈利波动较大而净资产相对稳定的公司。

市销率

=总市值/营业收入。市销率估值法通常用于亏损或微利的成长型公司。

文中市盈率和市销率采用TTM方式,即以截至最近一期财报(含预报)12个月的数据计算。市净率采用LF方式,即以最近一期财报数据计算。

市盈率为负时,不显示当期分位数,会导致折线图中断。

加载中...